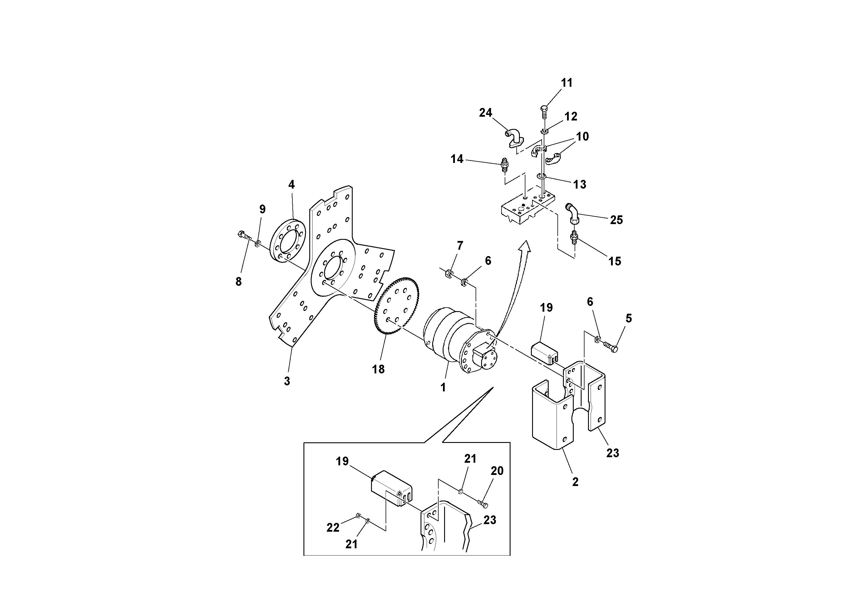
Запчасти Volvo DD90 99985 Drum Drive Assembly DD90/DD90HF S/N 197375 -

Схема запчастей Volvo DD90 - 99985 Drum Drive Assembly DD90/DD90HF S/N 197375 -
FIT
1:1
100%

Артикул

Название

Примечание

Количество

RM 13247564

Гидромотор

1шт.

RM 59177907

Фланец

RH, S/N - 155725

1шт.

10

RM 95175881

Фланец

1шт.

11

RM 96704309

Винт шестигранник

1шт.

11

RM 96704309

Винт шестигранник

1шт.

12

RM 96704325

Шайба

1шт.

13

RM 95028528

Кольцо уплотнительное (О-кольцо)

1шт.

14

RM 59926659

Адаптер

1шт.

15

RM 59926642

Адаптер

1шт.

18

RM 59166967

Кольцо

1шт.

19

RM 59170241

Кронштейн

1шт.

2

RM 59177899

Mounting plate

LH

1шт.

20

RM 96719786

Винт шестигранник

1шт.

20

RM 96719786

Винт шестигранник

1шт.

21

RM 96741038

Шайба

1шт.

21

RM 96741038

Шайба

1шт.

22

RM 96704606

Lock nut

1шт.

22

RM 96704606

Lock nut

1шт.

23

RM 59203877

Фланец

RH, S/N 155726 -

1шт.

25

RM 59148841

Адаптер

45 DEG, S/N - 164018

1шт.

3

RM 59166728

Drive plate

1шт.

4

RM 59168054

Вставка

1шт.

5

RM 96734025

Винт шестигранник

1шт.

6

RM 96738638

Плоская шайба

1шт.

7

RM 96728829

Hexagon nut

1шт.

8

RM 96704978

Винт шестигранник

1шт.

9

RM 96738620

Плоская шайба

1шт.

9

RM 96738620

Плоская шайба

1шт.

Выбрано товаров: 28