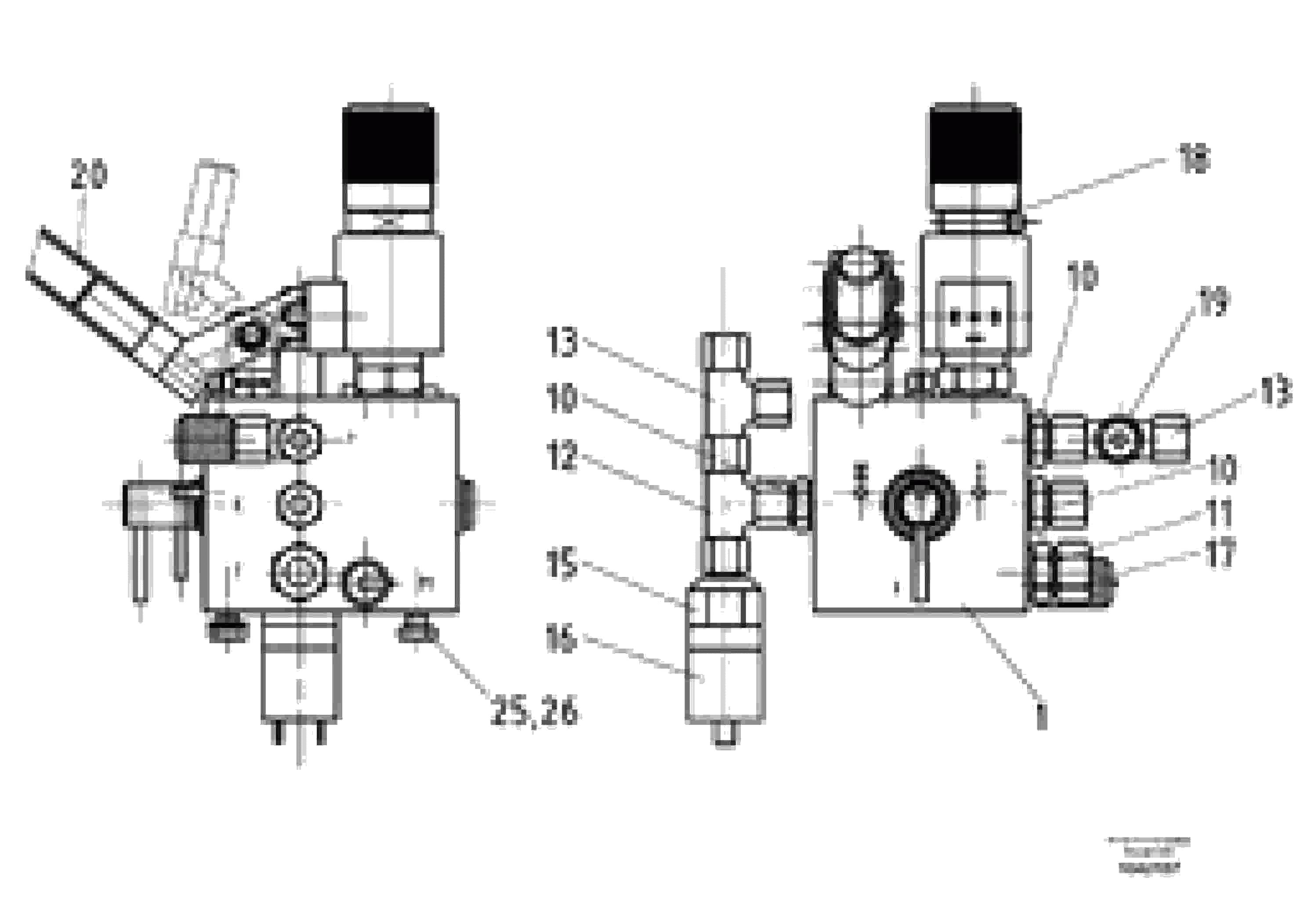
Запчасти Volvo DD95 S/N 20624 - 78529 Brake valve

Схема запчастей Volvo DD95 S/N 20624 - - 78529 Brake valve
FIT
1:1
100%

Артикул

Название

Примечание

Количество

1

RM 80668130

Встроенный клапан в сборе

EMERGENCY FUNCTION

1шт.

10

RM 14089643

Фиттинг

1шт.

10

RM 14089643

Фиттинг

1шт.

11

RM 13912845

Фиттинг

1шт.

11

RM 13912845

Фиттинг

1шт.

12

RM 14090351

Фиттинг

S/N 17946-

1шт.

12

RM 14090351

Фиттинг

S/N 17946-

1шт.

13

RM 14102487

Фиттинг

S/N 17946-

1шт.

13

RM 14102487

Фиттинг

S/N 17946-

1шт.

15

RM 80635733

Адаптер

1шт.

16

RM 13954433

Push button

1шт.

17

RM 58853292

Hose coupling

1шт.

17

RM 58853292

Hose coupling

1шт.

18

RM 80666209

Скоба (хомут)

1шт.

18

RM 80666209

Скоба (хомут)

1шт.

19

RM 14280259

Coupling piece

1шт.

19

RM 14280259

Coupling piece

1шт.

20

RM 80663438

Трубка

1шт.

20

RM 80663438

Трубка

1шт.

25

RM 96718820

Винт шестигранник

1шт.

25

RM 96718820

Винт шестигранник

1шт.

26

RM 58854316

Стопорная шайба (кольцо)

1шт.

26

RM 58854316

Стопорная шайба (кольцо)

1шт.

Выбрано товаров: 23