Запчасти Volvo PT125R S/N 197470- 57144 Double-ended Spindle and Hub Assembly

Схема запчастей Volvo PT125R S/N 197470- - 57144 Double-ended Spindle and Hub Assembly
FIT
1:1
100%

Артикул

Название

Примечание

Количество

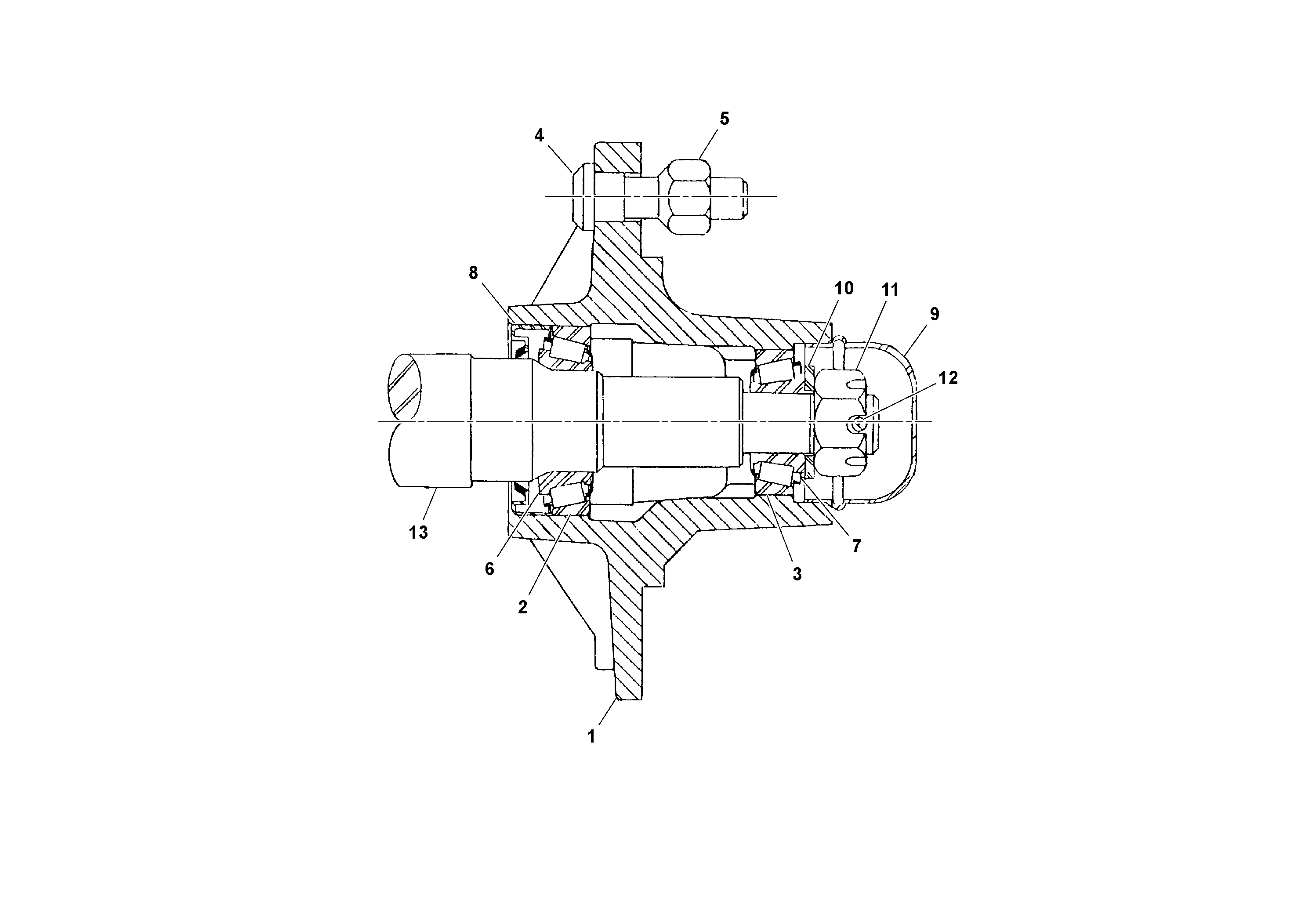
1

RM 58845041

Ступица

1шт.

1

RM 58845041

Ступица

1шт.

10

RM 58845132

Шайба

1шт.

10

RM 58845132

Шайба

1шт.

11

RM 58845140

Гайка

1шт.

11

RM 58845140

Гайка

1шт.

12

RM 58845157

Split pin

1шт.

12

RM 58845157

Split pin

1шт.

13

RM 58923046

Spindle

WITH SPACERS

1шт.

13

RM 58923046

Spindle

WITH SPACERS

1шт.

2

RM 50488485

Подшипник

INNER

1шт.

2

RM 50488485

Подшипник

INNER

1шт.

3

RM 58845066

Outer cup

OUTER

1шт.

3

RM 58845066

Outer cup

OUTER

1шт.

4

RM 58845074

Шпилька

1шт.

4

RM 58845074

Шпилька

1шт.

5

RM 58939059

Wheel nut

1шт.

5

RM 58939059

Wheel nut

1шт.

6

RM 58845090

Подшипник

INNER

1шт.

7

RM 58845108

Подшипник

OUTER

1шт.

8

RM 58845116

Sealing

1шт.

9

RM 58845124

Hub cap

1шт.

9

RM 58845124

Hub cap

1шт.

Выбрано товаров: 23