Запчасти Volvo PT220RH/PT240RH 58447 Hydraulic Components Installation

Схема запчастей Volvo PT220RH/PT240RH - 58447 Hydraulic Components Installation
FIT
1:1
100%

Артикул

Название

Примечание

Количество

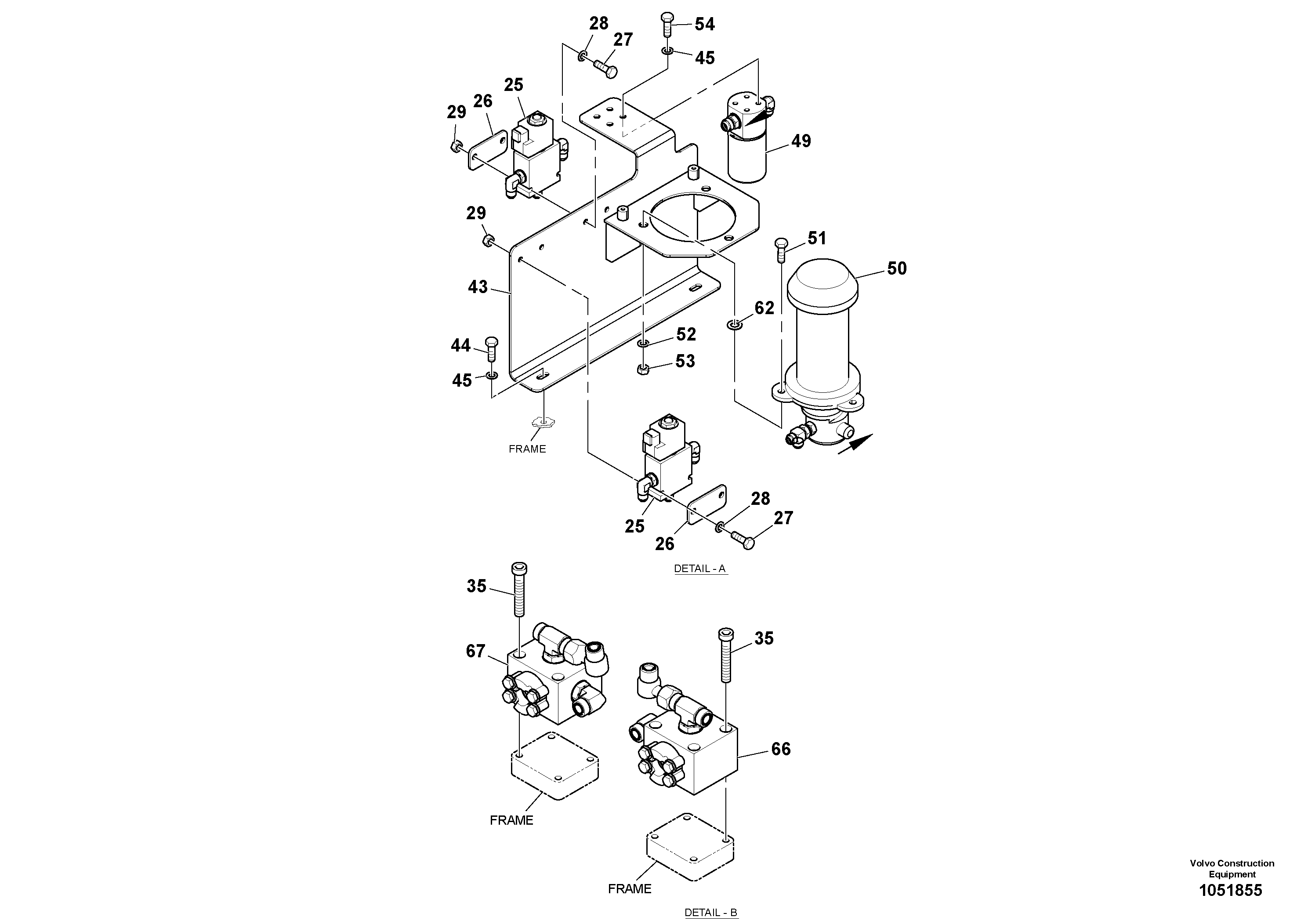
25

RM 70893375

Встроенный клапан в сборе

1шт.

26

RM 59306522

Пластина

1шт.

27

RM 96706817

Болт

1шт.

28

RM 96741053

Шайба

1шт.

28

RM 96741053

Шайба

1шт.

29

RM 96704234

Гайка

1шт.

29

RM 96704234

Гайка

1шт.

35

RM 96709258

Винт шестигранник (торцевой ключ)

1шт.

43

RM 70895008

Mounting plate

1шт.

44

RM 96702279

Винт шестигранник

1шт.

44

RM 96702279

Винт шестигранник

1шт.

45

RM 96741046

Плоская шайба

1шт.

45

RM 96741046

Плоская шайба

1шт.

51

RM 96702444

Винт шестигранник

1шт.

51

RM 96702444

Винт шестигранник

1шт.

52

RM 96729652

Шайба

1шт.

52

RM 96729652

Шайба

1шт.

53

RM 96719174

Hexagon nut

1шт.

53

RM 96719174

Hexagon nut

1шт.

54

RM 96702287

Винт шестигранник

1шт.

54

RM 96702287

Винт шестигранник

1шт.

62

RM 96719513

Шайба

1шт.

Выбрано товаров: 22