Запчасти Volvo PT220RH/PT240RH 47223 Steering Installation

Схема запчастей Volvo PT220RH/PT240RH - 47223 Steering Installation
FIT
1:1
100%

Артикул

Название

Примечание

Количество

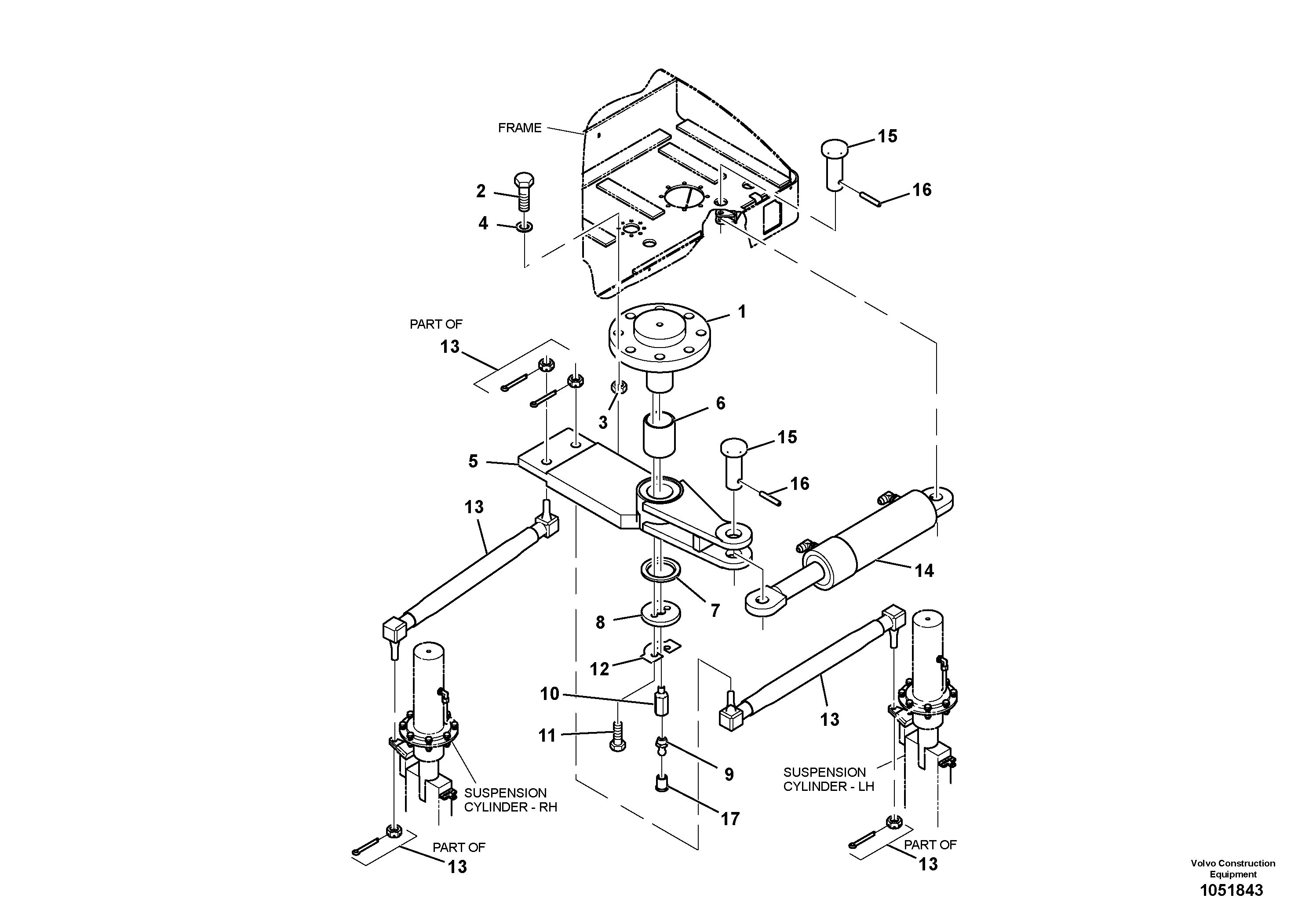
1

RM 70515291

Pivot

1шт.

10

RM 70707443

Адаптер

1шт.

11

RM 96702287

Винт шестигранник

1шт.

11

RM 96702287

Винт шестигранник

1шт.

12

RM 70707450

Lock strip

1шт.

13

RM 70531900

Track rod

1шт.

14

RM 70893201

Гидроцилиндр рулевой

1шт.

15

RM 70526611

Палец

1шт.

16

RM 96702675

Spring pin

1шт.

17

RM 50270248

Cap

1шт.

17

RM 50270248

Cap

1шт.

2

RM 96715156

Болт

1шт.

3

RM 96711882

Hexagon nut

1шт.

3

RM 96711882

Hexagon nut

1шт.

4

RM 96705645

Шайба

1шт.

5

RM 70514294

Link arm

1шт.

6

RM 70528849

Втулка

1шт.

7

RM 70520291

Кольцо

1шт.

8

RM 70515309

Шайба

1шт.

9

RM 94036993

Grease nipple

1шт.

Выбрано товаров: 20