Запчасти Volvo PT220RH/PT240RH 101691 Accessories Installation

Схема запчастей Volvo PT220RH/PT240RH - 101691 Accessories Installation
FIT
1:1
100%

Артикул

Название

Примечание

Количество

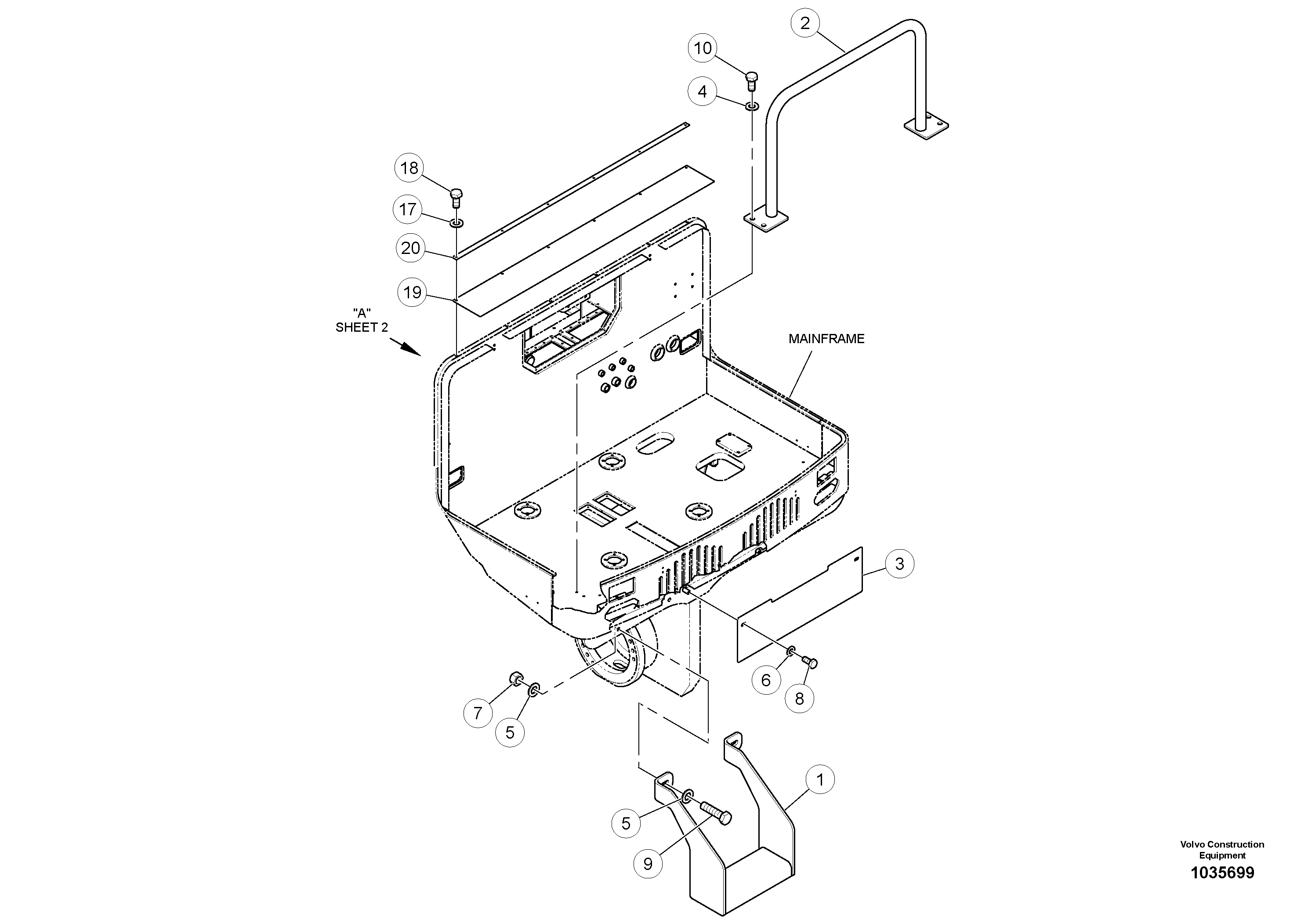
1

RM 70894191

Step

1шт.

10

RM 96702279

Винт шестигранник

1шт.

10

RM 96702279

Винт шестигранник

1шт.

17

RM 96727581

Плоская шайба

1шт.

18

RM 96704564

Винт шестигранник

1шт.

18

RM 96704564

Винт шестигранник

1шт.

19

RM 70916044

Rubber mat

1шт.

2

RM 70907050

Направляющая

1шт.

20

RM 70916036

Пластина

1шт.

3

RM 70909601

Registration plate

1шт.

4

RM 96714399

Плоская шайба

1шт.

4

RM 96714399

Плоская шайба

1шт.

5

RM 96705645

Шайба

1шт.

6

RM 96741020

Шайба

1шт.

6

RM 96741020

Шайба

1шт.

6

RM 96741020

Washer

1шт.

7

RM 96727151

Lock nut

1шт.

8

RM 96702816

Винт шестигранник

1шт.

8

RM 96702816

Винт шестигранник

1шт.

9

RM 96700893

Винт шестигранник

1шт.

Выбрано товаров: 20