Запчасти Volvo BL60 9646 Regulator BL60

Схема запчастей Volvo BL60 - 9646 Regulator BL60
FIT
1:1
100%

Артикул

Название

Примечание

Количество

VOE 20590582

Regulator

ENG 00894797 -

1шт.

VOE 20758272

Палец

ENG 01047299 -

1шт.

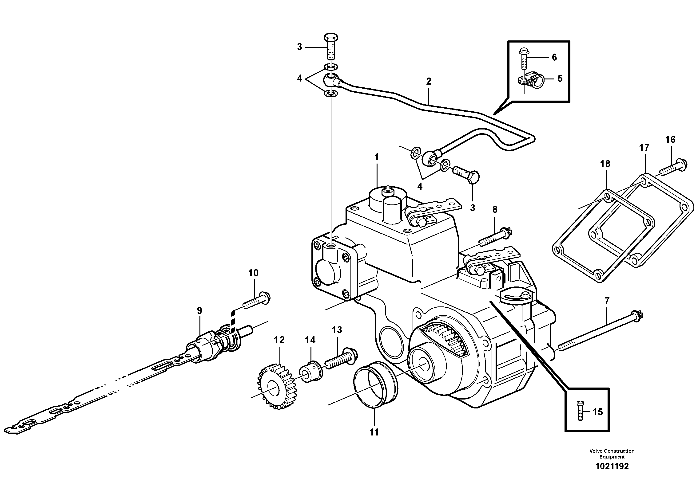
1

VOE 20590555

Control

ENG - 00894796

1шт.

10

VOE 20405538

Болт

1шт.

10

VOE 20405538

Болт

1шт.

11

VOE 20460070

Втулка

1шт.

12

VOE 20555503

Gear

1шт.

13

VOE 20405560

Болт

1шт.

13

VOE 20405560

Болт

1шт.

14

VOE 11700504

Pivot pin

ENG - 01047298

1шт.

15

VOE 20460067

Болт

1шт.

15

VOE 20460067

Болт

1шт.

16

VOE 20460082

Болт

1шт.

18

VOE 20405509

Прокладка

1шт.

18

VOE 20405509

Прокладка

1шт.

2

VOE 20504812

Трубка

1шт.

3

VOE 20460289

Hollow screw

1шт.

3

VOE 20460289

Hollow screw

1шт.

4

VOE 13947281

Прокладка

1шт.

4

VOE 13947281

Прокладка

1шт.

5

VOE 20405730

Зажим

1шт.

5

VOE 20405730

Зажим

1шт.

6

VOE 20405729

Болт

1шт.

6

VOE 20405729

Болт

1шт.

7

VOE 20460064

Болт

1шт.

7

VOE 20460064

Болт

1шт.

8

VOE 888760

Болт

1шт.

9

VOE 20460069

Control rod

1шт.

9

VOE 20460069

Control rod

1шт.

Выбрано товаров: 29