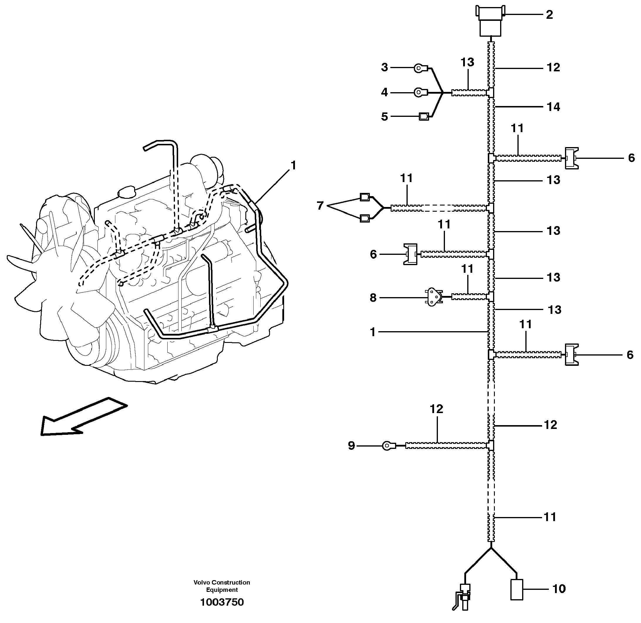
Запчасти Volvo BL60 4580 Cable harness, engine BL60

Схема запчастей Volvo BL60 - 4580 Cable harness, engine BL60
FIT
1:1
100%

Артикул

Название

Примечание

Количество

VOE 14370889

Вставка

1шт.

VOE 14370889

Вставка

1шт.

1

VOE 11884504

Cable harness

1шт.

10

VOE 976422

Cable terminal

MO10 (X100)

1шт.

10

VOE 976422

Cable terminal

MO10 (X100)

1шт.

11

VOE 4803746

Шланг

1шт.

11

VOE 4803746

Шланг

1шт.

12

VOE 4803748

Шланг

1шт.

12

VOE 4803748

Шланг

1шт.

13

VOE 4803751

Шланг

1шт.

13

VOE 4803751

Шланг

1шт.

14

VOE 4803752

Шланг

1шт.

14

VOE 4803752

Шланг

1шт.

2

VOE 874965

Соединитель

X13

1шт.

2

VOE 874965

Соединитель

X13

1шт.

3

947745

Cable terminal

AL1 (X174)

1шт.

4

VOE 956926

Cable terminal

AL1 (X173)

1шт.

4

VOE 956926

Cable terminal

AL1 (X173)

1шт.

5

VOE 973119

Cable terminal

AL1 (X262)

1шт.

5

VOE 973119

Cable terminal

AL1 (X262)

1шт.

6

VOE 976256

Изолятор

SE2, SE6, MA7 (X211

1шт.

6

VOE 976256

Картер (корпус)

SE2, SE6, MA7 (X211

1шт.

7

976422

Cable terminal

SE7 (X260, X261)

1шт.

7

976422

Картер (корпус)

SE7 (X260, X261)

1шт.

8

11709797

Switch Housing

MA1 (X214)

1шт.

9

VOE 949587

Cable terminal

MO1 (X169)

1шт.

9

VOE 949587

Cable terminal

MO1 (X169)

1шт.

Выбрано товаров: 27