Запчасти Volvo BL61 32054 Hydraulic system, feed line BL61

Схема запчастей Volvo BL61 - 32054 Hydraulic system, feed line BL61
FIT
1:1
100%

Артикул

Название

Примечание

Количество

10

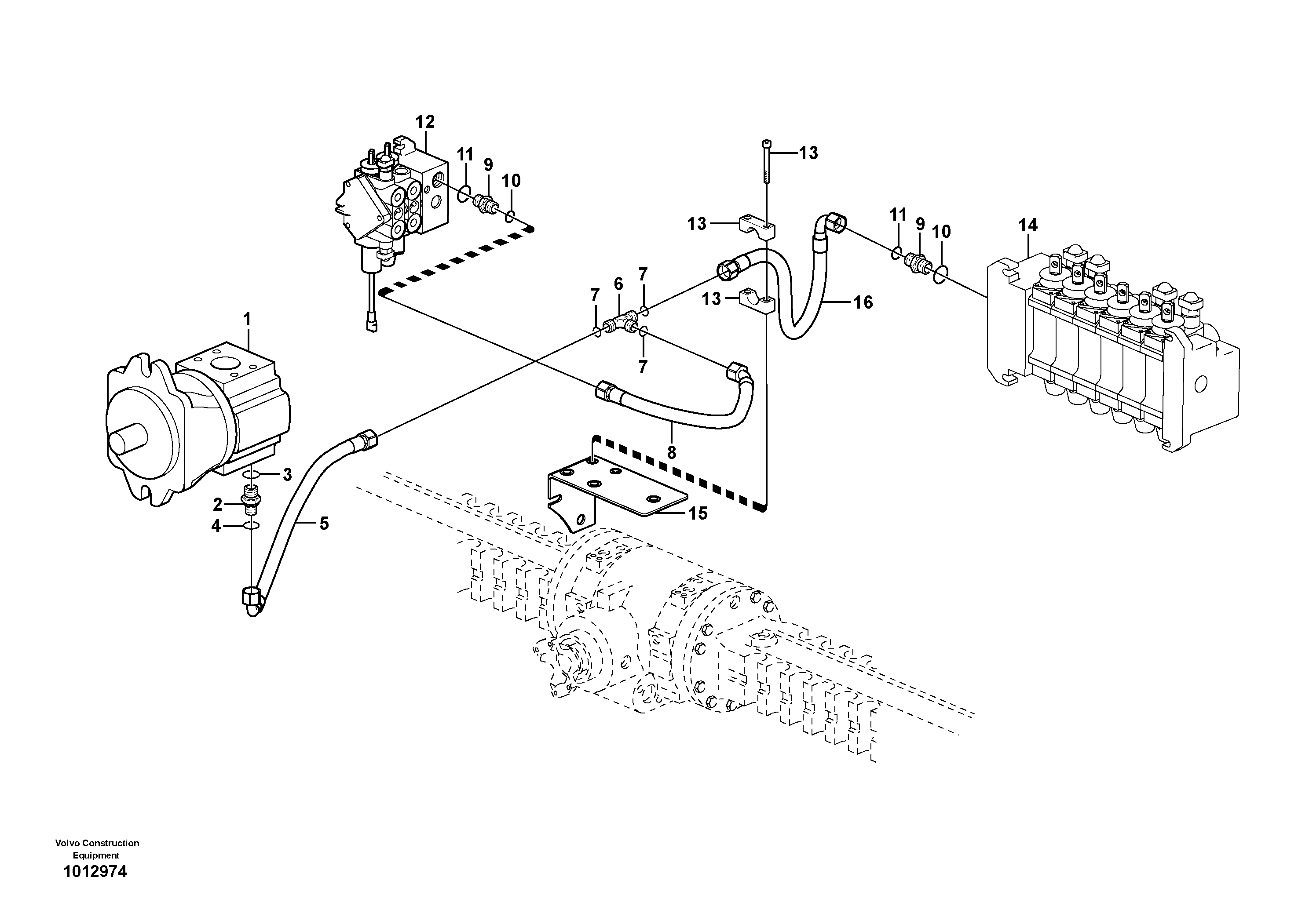
VOE 981289

Кольцо уплотнительное (О-кольцо)

1шт.

11

VOE 932042

Кольцо уплотнительное (О-кольцо)

1шт.

11

VOE 932042

Кольцо уплотнительное (О-кольцо)

1шт.

13

VOE 11885762

Зажим

1шт.

13

VOE 11885762

Зажим

1шт.

15

VOE 11886163

Пластина

1шт.

15

VOE 11886163

Пластина

1шт.

16

VOE 11885256

Шланг

1шт.

2

VOE 936070

Nipple

1шт.

2

VOE 936070

Nipple

1шт.

3

VOE 983123

Кольцо уплотнительное (О-кольцо)

1шт.

3

VOE 983123

Кольцо уплотнительное (О-кольцо)

1шт.

4

VOE 983024

Кольцо уплотнительное (О-кольцо)

1шт.

4

VOE 983024

Кольцо уплотнительное (О-кольцо)

1шт.

5

VOE 11885256

Шланг

L = 650MM: SER NO -10104

1шт.

5

VOE 11886945

Шланг

L = 700MM: SER NO 10105-

1шт.

6

VOE 11881387

Фиттинг

1шт.

7

VOE 981289

Кольцо уплотнительное (О-кольцо)

1шт.

8

VOE 11885517

Шланг

L = 640 MM

1шт.

9

VOE 13933862

Nipple

1шт.

9

VOE 13933862

Nipple

1шт.

Выбрано товаров: 21