Запчасти Volvo BL61 54153 Мост передний, 2 ведущих BL61 S/N 11459 -

Схема запчастей Volvo BL61 - 54153 Мост передний, 2 ведущих BL61 S/N 11459 -
FIT
1:1
100%

Артикул

Название

Примечание

Количество

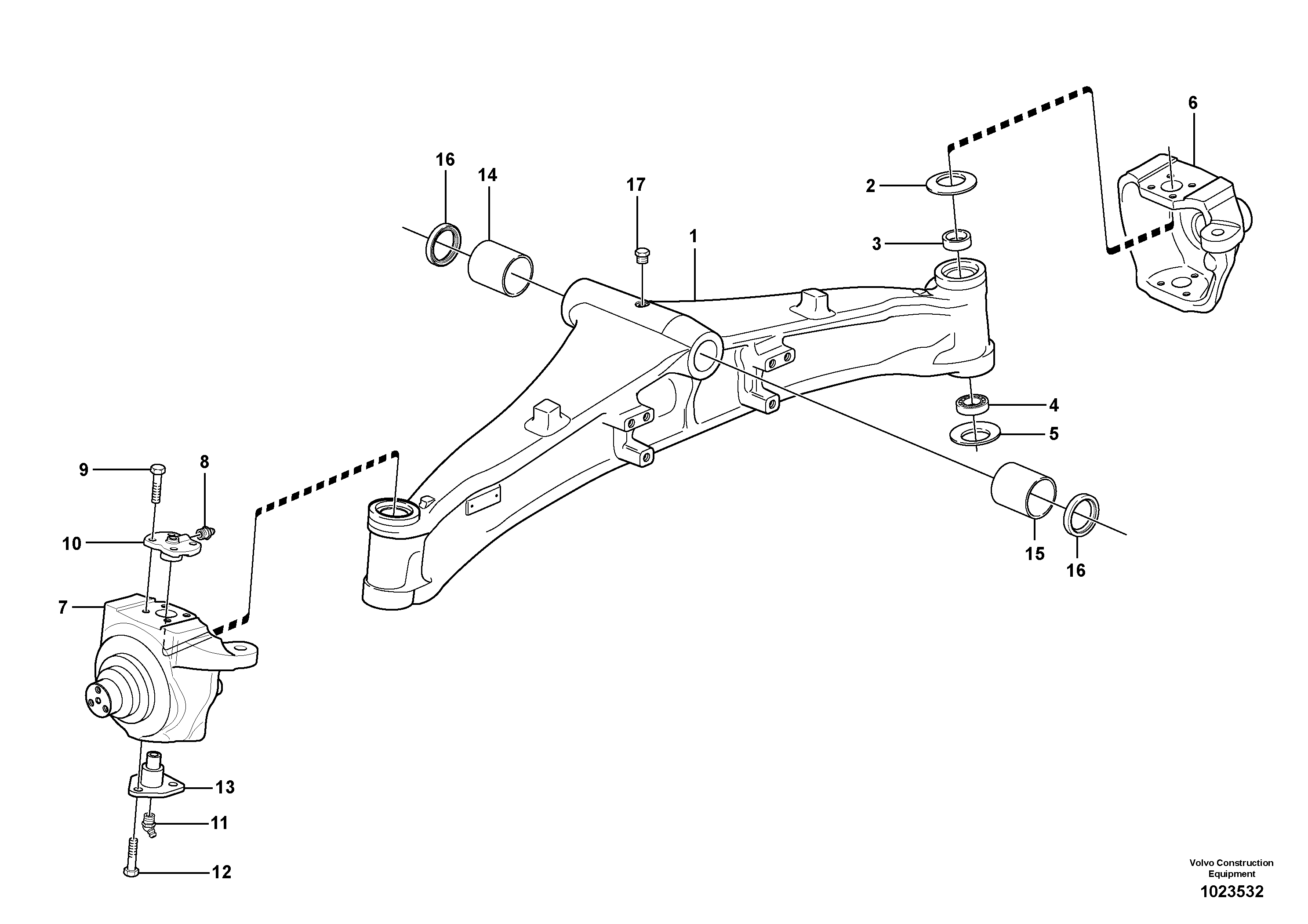
VOE 11887359

Мост передний

1шт.

1

VOE 11716656

Axle casing

1шт.

10

VOE 15184921

King pin kit

1шт.

11

VOE 11709464

Lubricating nipple

1шт.

12

VOE 11712527

Болт

1шт.

13

VOE 11709450

King pin

1шт.

14

VOE 11716618

Втулка

FRONT

1шт.

15

VOE 11716619

Втулка

REAR

1шт.

16

VOE 11716620

Сальник

1шт.

17

VOE 11709282

Пробка (заглушка)

1шт.

2

VOE 11988552

Disc spring

1шт.

3

VOE 11988553

Втулка

1шт.

4

VOE 11709400

Подшипник

1шт.

5

VOE 11709401

Disc spring

1шт.

6

VOE 11712526

Картер (корпус)

RH

1шт.

7

VOE 11712501

Картер (корпус)

LH

1шт.

8

VOE 11709410

Lubricating nipple

1шт.

9

VOE 11988559

Болт

1шт.

9

VOE 11988559

Болт

1шт.

Выбрано товаров: 19