Запчасти Volvo BL61 102388 Valve section BL61 S/N 11459 -

Схема запчастей Volvo BL61 - 102388 Valve section BL61 S/N 11459 -
FIT
1:1
100%

Артикул

Название

Примечание

Количество

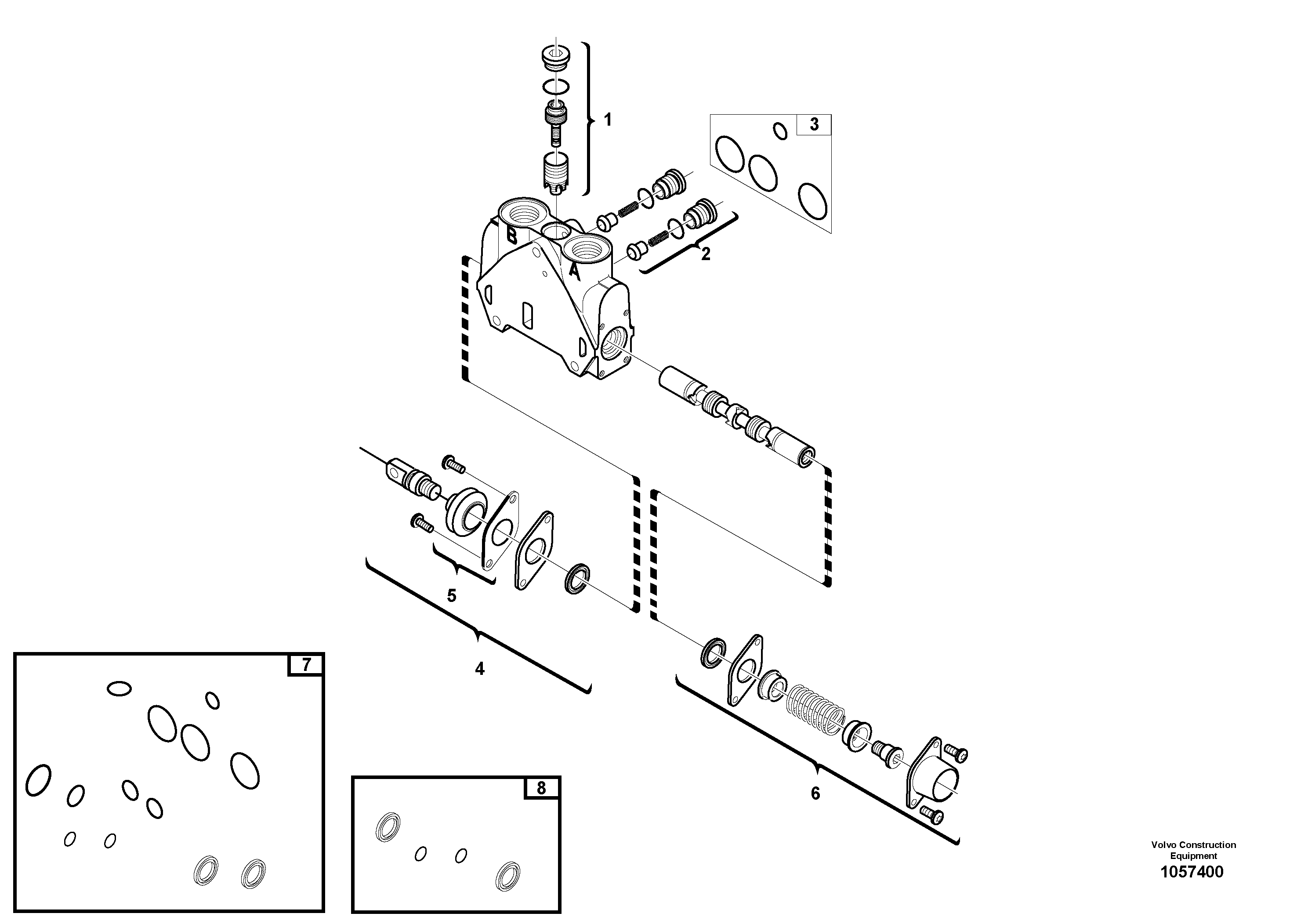
VOE 15179275

Direction valve

1шт.

1

VOE 11988526

Регулятор давления

1шт.

1

VOE 11988526

Pressure regulator

1шт.

2

VOE 11988527

Клапан обратный

1шт.

2

VOE 11988527

Non-return valve

1шт.

3

VOE 11712623

Sealing kit

1шт.

3

VOE 11712623

Sealing kit

1шт.

4

VOE 15171847

Control

1шт.

5

VOE 11712580

Bellows kit

1шт.

5

VOE 11712580

Bellows kit

1шт.

6

VOE 15171856

Control

1шт.

7

VOE 15171623

Sealing kit

1шт.

8

VOE 15171613

Sealing kit

1шт.

Выбрано товаров: 13