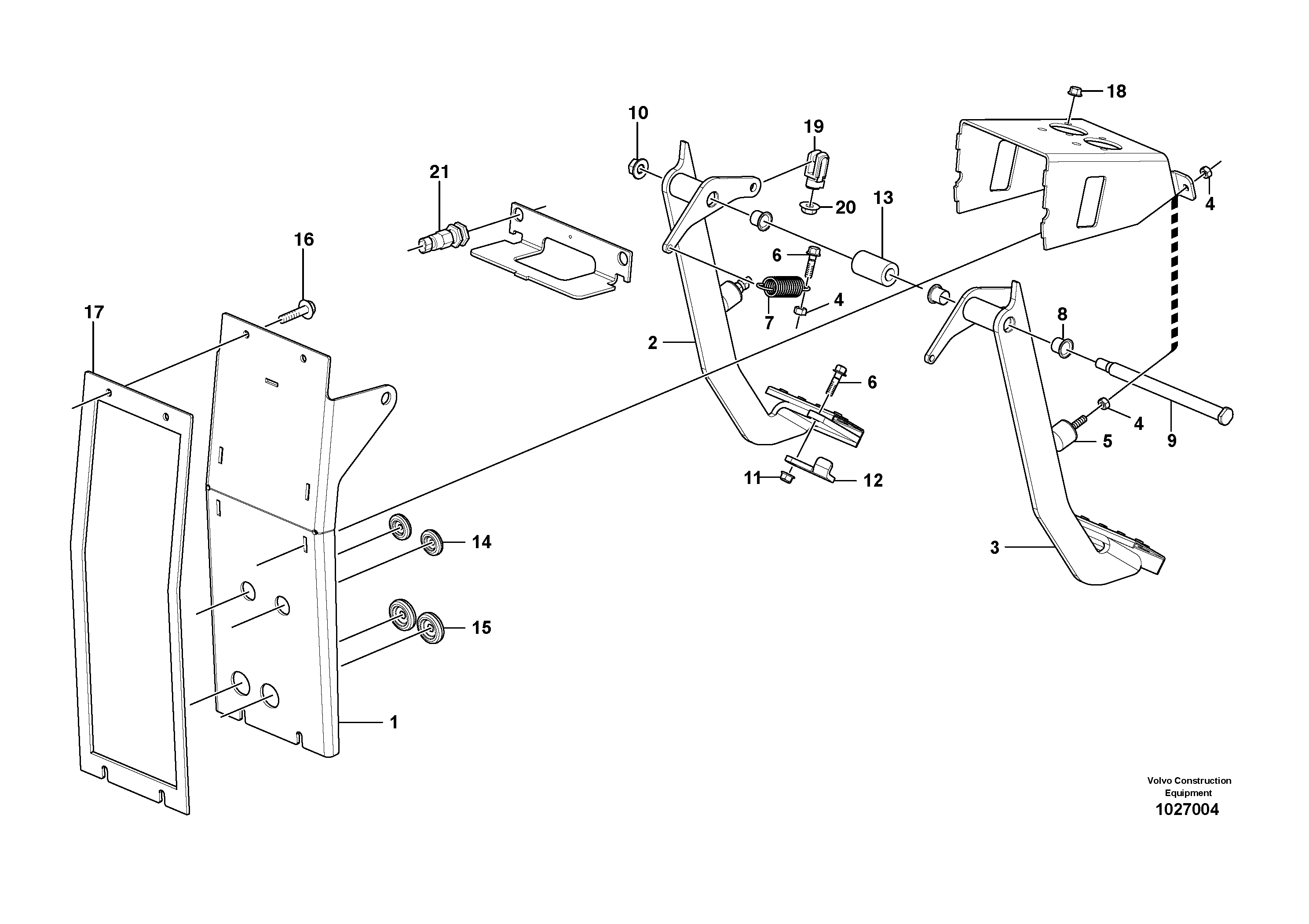
Запчасти Volvo BL61 46622 Brake system BL61PLUS S/N 10287 -

Схема запчастей Volvo BL61 - 46622 Brake system BL61PLUS S/N 10287 -
FIT
1:1
100%

Артикул

Название

Примечание

Количество

1

VOE 11205777

Box

1шт.

10

VOE 971099

Flange Lock Nut

1шт.

10

VOE 971099

Flange Lock Nut

1шт.

11

VOE 948645

Flange Lock Nut

1шт.

11

VOE 948645

Flange Lock Nut

1шт.

12

VOE 11205941

Lock Plate

1шт.

13

VOE 11205764

Втулка (распорная)

1шт.

14

VOE 941269

Пробка (заглушка)

1шт.

14

VOE 941269

Пробка (заглушка)

1шт.

15

VOE 961970

Пробка (заглушка)

1шт.

15

VOE 961970

Пробка (заглушка)

1шт.

16

VOE 13945444

Болт

1шт.

16

VOE 13945444

Flange screw

1шт.

17

VOE 11205983

Прокладка

1шт.

17

VOE 11205983

Прокладка

1шт.

18

VOE 948645

Flange Lock Nut

1шт.

18

VOE 948645

Flange Lock Nut

1шт.

19

VOE 11200397

Тяга поворотная

1шт.

19

VOE 11200397

Тяга поворотная

1шт.

2

VOE 11205776

Brake Pedal

RH

1шт.

2

VOE 11205776

Brake Pedal

RH

1шт.

20

VOE 13971068

Hexagon Nut

1шт.

20

VOE 13971068

Hexagon Nut

1шт.

21

VOE 11888817

Переключатель

1шт.

3

VOE 11205775

Brake Pedal

LH

1шт.

3

VOE 11205775

Brake Pedal

LH

1шт.

4

VOE 983303

Гайка

1шт.

4

VOE 983303

Nut

1шт.

5

VOE 11200579

Absorber

1шт.

6

VOE 946671

Flange screw

1шт.

6

VOE 946671

Flange screw

1шт.

7

VOE 11205848

Пружина натяжная

1шт.

7

VOE 11205848

Пружина натяжная

1шт.

8

VOE 11200610

Flange Bearing

1шт.

8

VOE 11200610

Flange Bearing

1шт.

9

VOE 15008802

Pedal Shaft

1шт.

9

VOE 15008802

Pedal Shaft

1шт.

Выбрано товаров: 37