Запчасти Volvo BL70 102513 Гидроцилиндр BL70 S/N 11489 -

Схема запчастей Volvo BL70 - 102513 Гидроцилиндр BL70 S/N 11489 -
FIT
1:1
100%

Артикул

Название

Примечание

Количество

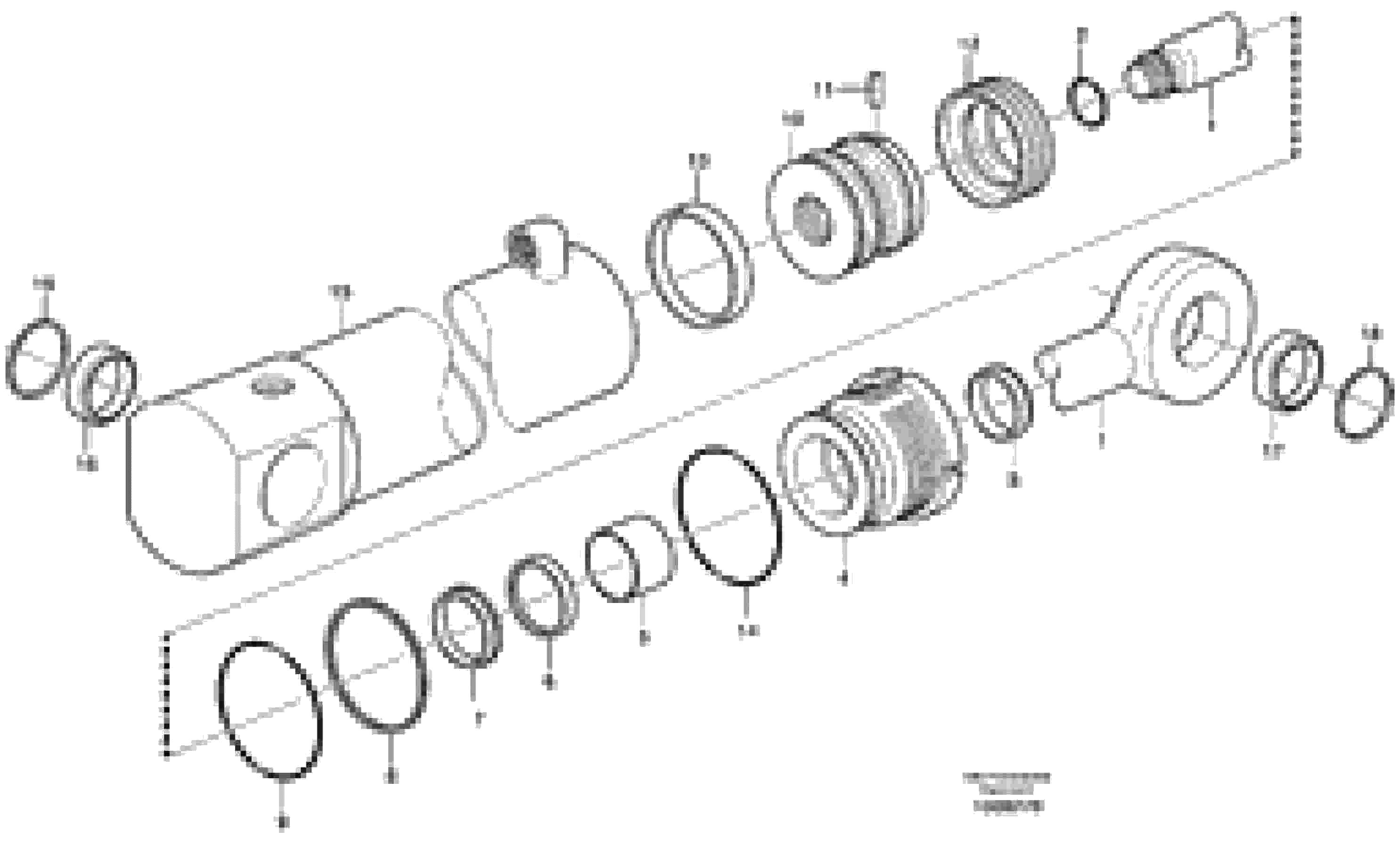
VOE 11885484

цилиндр

1шт.

VOE 11885484

цилиндр

1шт.

VOE 11709624

Sealing kit

1шт.

VOE 11709624

Sealing kit

1шт.

1

VOE 11988259

Шток поршня

1шт.

1

VOE 11988259

Шток поршня

1шт.

10

VOE 11709620

Поршень

1шт.

10

VOE 11709620

Поршень

1шт.

16

VOE 11988260

Втулка

1шт.

16

VOE 11988260

Втулка

1шт.

17

VOE 11711134

Втулка

1шт.

17

VOE 11711134

Втулка

1шт.

18

VOE 11883675

Scraper

1шт.

19

VOE 11883937

Scraper

1шт.

4

VOE 11709619

Piston rod guide

1шт.

4

VOE 11709619

Стакан штока поршня (направляющая)

1шт.

Выбрано товаров: 16