Запчасти Volvo BL70 67948 Гидроцилиндр BL70 S/N 11489 -

Схема запчастей Volvo BL70 - 67948 Гидроцилиндр BL70 S/N 11489 -
FIT
1:1
100%

Артикул

Название

Примечание

Количество

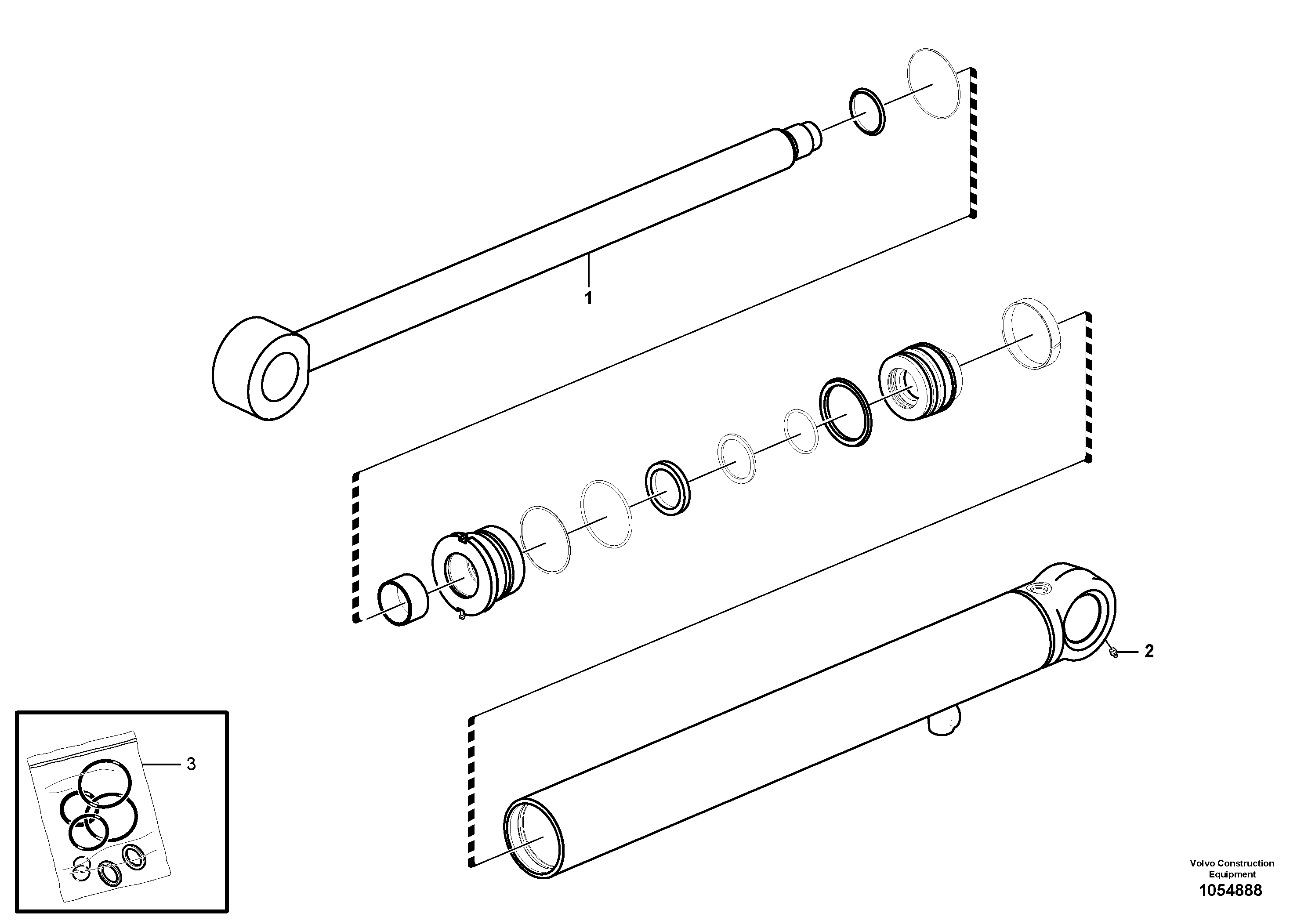
VOE 15606686

Гидроцилиндр

1шт.

1

VOE 11988262

Шток поршня

1шт.

1

VOE 11988262

Шток поршня

1шт.

2

VOE 11709664

Lubricating nipple

1шт.

2

VOE 11709664

Lubricating nipple

1шт.

3

VOE 15150059

Sealing kit

1шт.

Выбрано товаров: 6