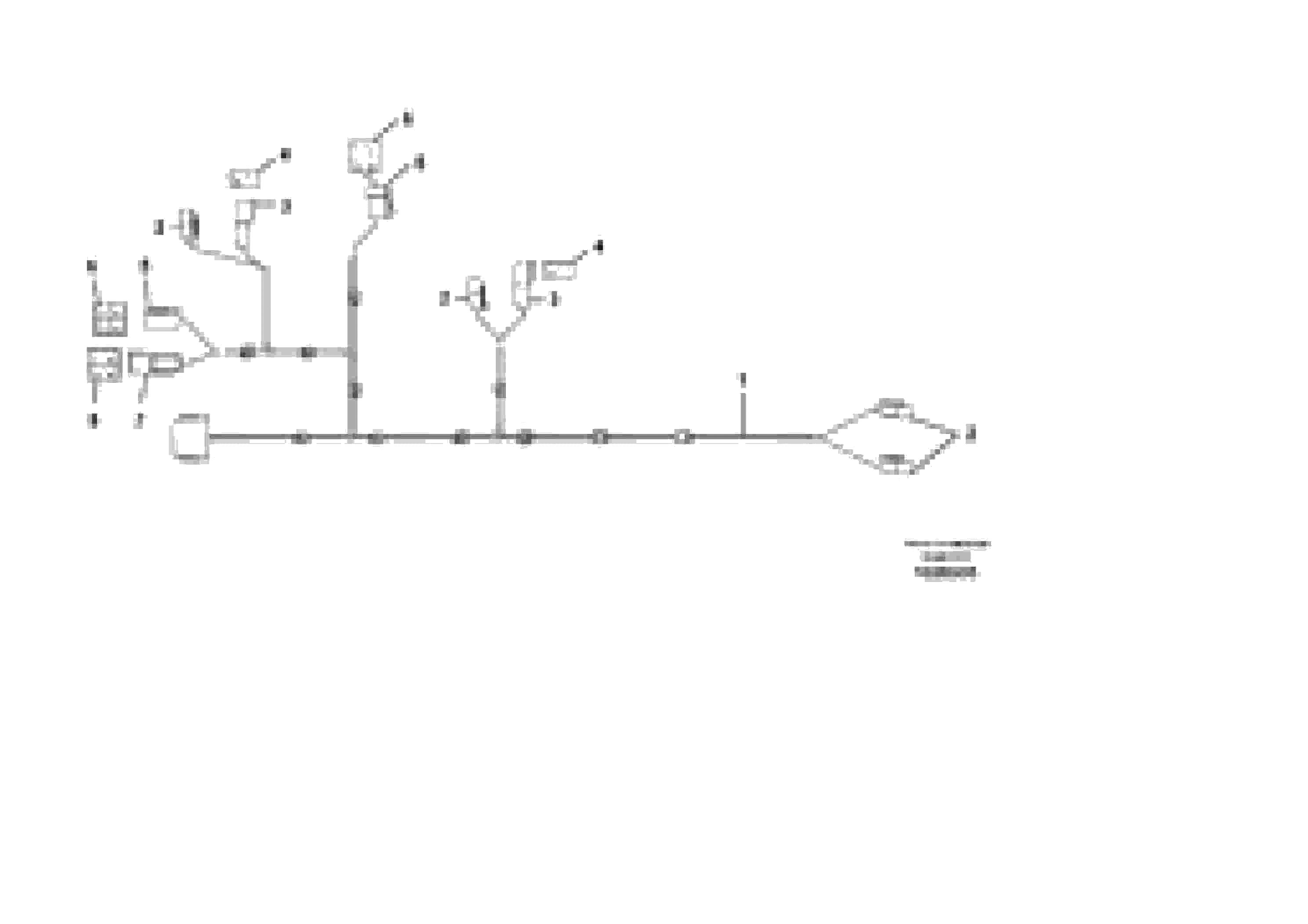
Запчасти Volvo BL70 40569 Wire harness 4 in 1 BL70

Схема запчастей Volvo BL70 - 40569 Wire harness 4 in 1 BL70
FIT
1:1
100%

Артикул

Название

Примечание

Количество

1

VOE 11888377

Wire harness

1шт.

2

VOE 874955

Картер (корпус)

1шт.

2

VOE 874955

Изолятор

1шт.

3

VOE 874955

Картер (корпус)

1шт.

3

VOE 874955

Изолятор

1шт.

4

VOE 14370881

Вставка

1шт.

4

VOE 14370881

Вставка

1шт.

5

VOE 874957

Картер (корпус)

1шт.

5

VOE 874957

Картер (корпус)

1шт.

6

VOE 874958

Key

1шт.

6

VOE 874958

Key

1шт.

7

VOE 874802

Картер (корпус)

1шт.

7

VOE 874802

Изолятор

1шт.

8

VOE 14370883

Вставка

1шт.

8

VOE 14370883

Вставка

1шт.

Выбрано товаров: 15