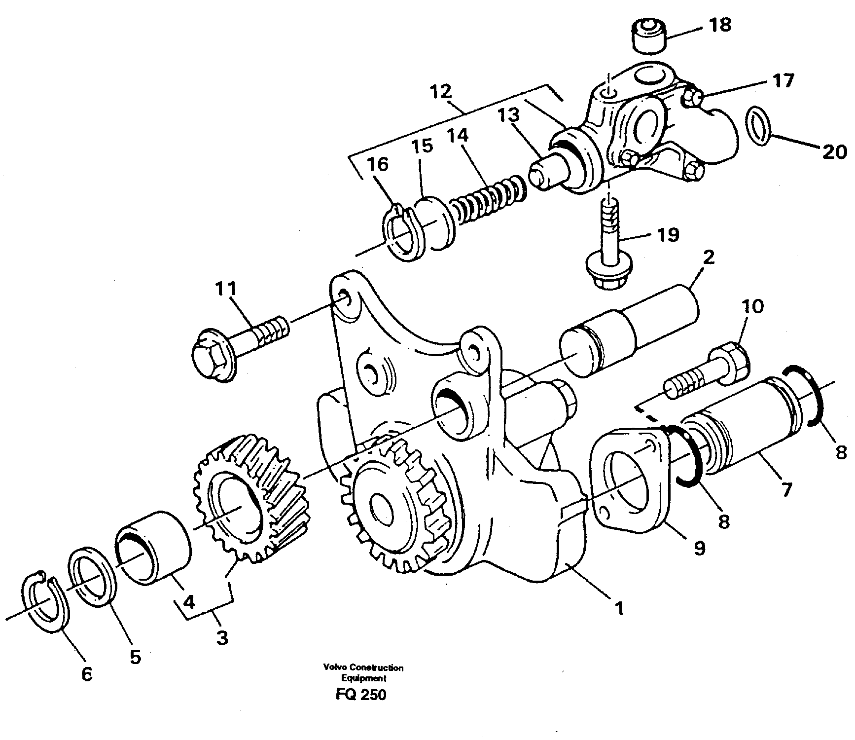
Запчасти Volvo EC130 15625 Насос масляный EC130 ?KERMAN ?KERMAN EC130 SER NO - 103

Схема запчастей Volvo EC130 - 15625 Насос масляный EC130 ?KERMAN ?KERMAN EC130 SER NO - 103
FIT
1:1
100%

Артикул

Название

Примечание

Количество

1

VOE 11997020

Насос масляный

1шт.

10

VOE 13945444

Болт

1шт.

10

VOE 13945444

Flange screw

1шт.

11

VOE 946671

Flange screw

1шт.

11

VOE 946671

Flange screw

1шт.

12

VOE 11997902

Overflow valve

1шт.

13

VOE 11997903

Поршень

1шт.

14

VOE 11997904

Пружина

1шт.

15

VOE 11997905

Cap

1шт.

16

VOE 11997906

Lock Ring

1шт.

17

VOE 13948356

Flange screw

1шт.

17

VOE 13948356

Flange screw

1шт.

18

VOE 6211943

Socket

1шт.

19

VOE 11997907

Болт

1шт.

2

VOE 11997006

Вал

1шт.

20

VOE 11997909

Кольцо уплотнительное (О-кольцо)

1шт.

3

VOE 11997897

Gear

1шт.

4

VOE 11997898

Втулка

1шт.

5

VOE 11997899

Шайба

1шт.

6

VOE 483469

Lock Ring

1шт.

7

VOE 11997908

Трубка

1шт.

8

VOE 11997909

Кольцо уплотнительное (О-кольцо)

1шт.

9

VOE 11997910

Фланец

1шт.

Выбрано товаров: 23