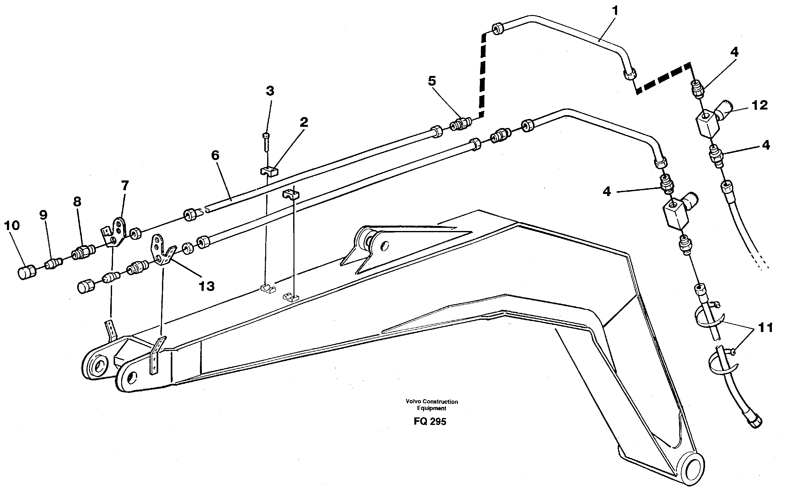
Запчасти Volvo EC130 43267 Slope bucket/clamshell equipment on boom EC130 ?KERMAN ?KERMAN EC130 SER NO - 103

Схема запчастей Volvo EC130 - 43267 Slope bucket/clamshell equipment on boom EC130 ?KERMAN ?KERMAN EC130 SER NO - 103
FIT
1:1
100%

Артикул

Название

Примечание

Количество

VOE 956971

Ferrule

1шт.

VOE 14012452

Гайка

1шт.

VOE 14012452

Гайка

1шт.

VOE 14211858

Кольцо уплотнительное

1шт.

VOE 14211858

Кольцо уплотнительное

1шт.

VOE 14012452

Гайка

1шт.

VOE 14012452

Гайка

1шт.

VOE 956971

Ferrule

1шт.

1

VOE 14251605

Tube Assembly

1шт.

10

VOE 14012452

Гайка

1шт.

10

VOE 14012452

Гайка

1шт.

11

VOE 4881440

Cable tie

1шт.

11

VOE 4881440

Cable tie

1шт.

12

VOE 14025319

Restricting Reverse Valve

1шт.

2

VOE 14240722

Tube Clamp

1шт.

3

VOE 970952

Винт шестигранник

1шт.

3

VOE 970952

Винт шестигранник

1шт.

4

VOE 14012423

14012423

1шт.

5

VOE 14012404

14012404

1шт.

5

VOE 14012404

Фиттинг

1шт.

6

VOE 14251917

Tube Assembly

1шт.

7

VOE 14252807

Attachment

RH

1шт.

8

VOE 14012472

14012472

1шт.

9

VOE 13964090

Closure

1шт.

9

VOE 13964090

Closure

1шт.

Выбрано товаров: 25