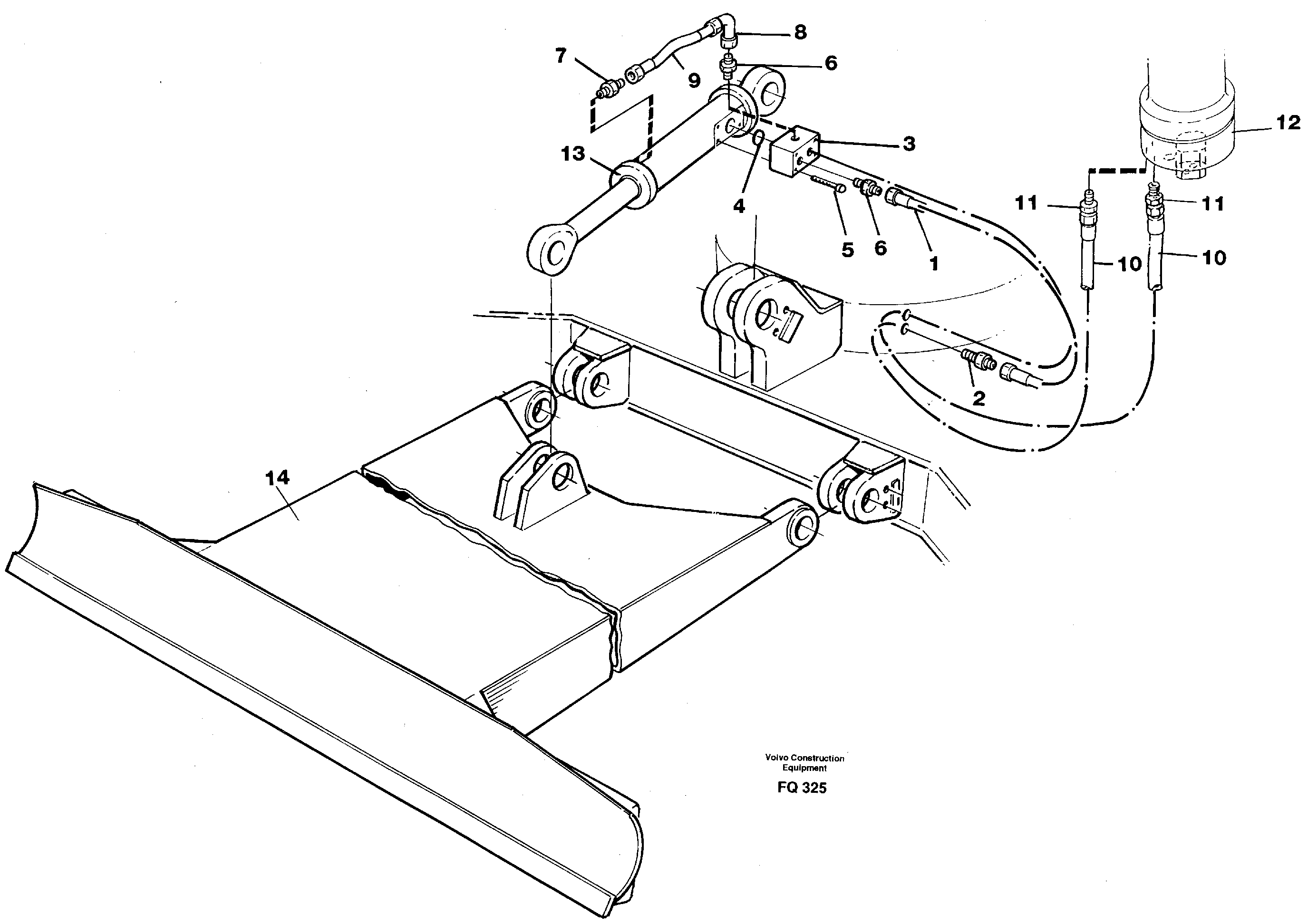
Запчасти Volvo EC130 43275 Hydraulic system, dozer EC130 ?KERMAN ?KERMAN EC130 SER NO - 103

Схема запчастей Volvo EC130 - 43275 Hydraulic system, dozer EC130 ?KERMAN ?KERMAN EC130 SER NO - 103
FIT
1:1
100%

Артикул

Название

Примечание

Количество

VOE 14211858

Кольцо уплотнительное

1шт.

VOE 14211858

Кольцо уплотнительное

1шт.

VOE 14213279

Кольцо уплотнительное (О-кольцо)

1шт.

1

VOE 14056260

Hydraulic hose

1шт.

10

VOE 14056262

Hydraulic hose

1шт.

11

VOE 14012423

14012423

1шт.

2

VOE 14012472

14012472

1шт.

3

VOE 14253827

Hydraulic lock

1шт.

4

VOE 949659

Кольцо уплотнительное (О-кольцо)

1шт.

4

VOE 949659

Кольцо уплотнительное (О-кольцо)

1шт.

5

VOE 959242

Allen Hd Screw

1шт.

6

VOE 14012423

14012423

1шт.

7

VOE 14049517

Rstr Coupling

1шт.

8

VOE 14012395

14012395

1шт.

9

VOE 14232151

Hydraulic hose

1шт.

Выбрано товаров: 15