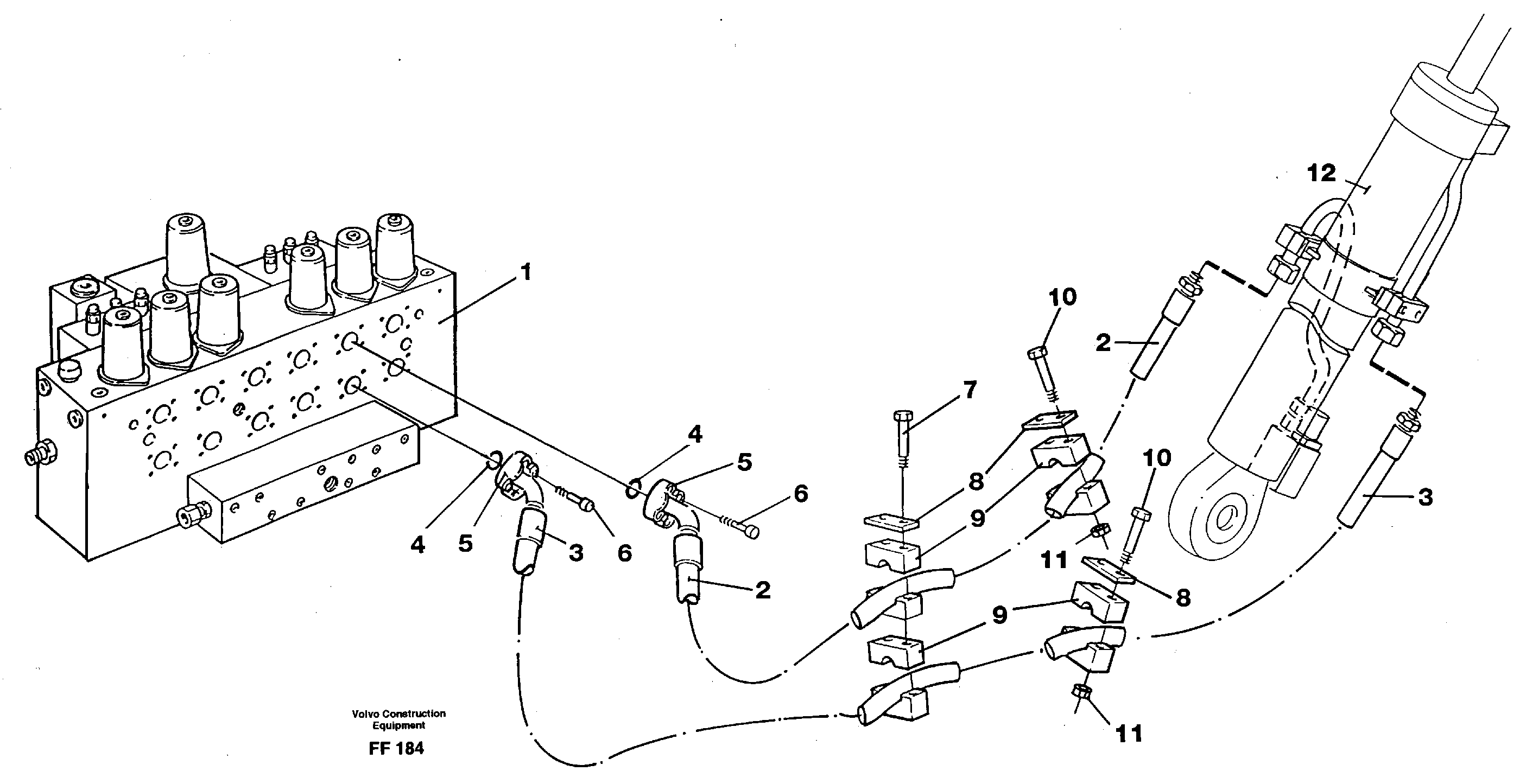
Запчасти Volvo EC130C 89506 Hydraulic system, boom EC130C ?KERMAN ?KERMAN EC130C SER NO - 220

Схема запчастей Volvo EC130C - 89506 Hydraulic system, boom EC130C ?KERMAN ?KERMAN EC130C SER NO - 220
FIT
1:1
100%

Артикул

Название

Примечание

Количество

10

VOE 13970958

Винт шестигранник

1шт.

10

VOE 13970958

Винт шестигранник

1шт.

2

VOE 14267474

Hydraulic hose

1шт.

3

VOE 14267473

Hydraulic hose

1шт.

4

VOE 990742

Кольцо уплотнительное (О-кольцо)

1шт.

4

VOE 990742

Кольцо уплотнительное (О-кольцо)

1шт.

5

VOE 935312

Flange half

1шт.

5

VOE 935312

Flange half

1шт.

6

VOE 959240

Allen Hd Screw

1шт.

7

VOE 13970962

Винт шестигранник

1шт.

7

VOE 13970962

Винт шестигранник

1шт.

8

VOE 14251451

14251451

1шт.

9

VOE 14251450

Hose retainer

1шт.

Выбрано товаров: 13