Запчасти Volvo EC130C 77555 Hose kit for Peiner grab EC130C ?KERMAN ?KERMAN EC130C SER NO - 220

Схема запчастей Volvo EC130C - 77555 Hose kit for Peiner grab EC130C ?KERMAN ?KERMAN EC130C SER NO - 220
FIT
1:1
100%

Артикул

Название

Примечание

Количество

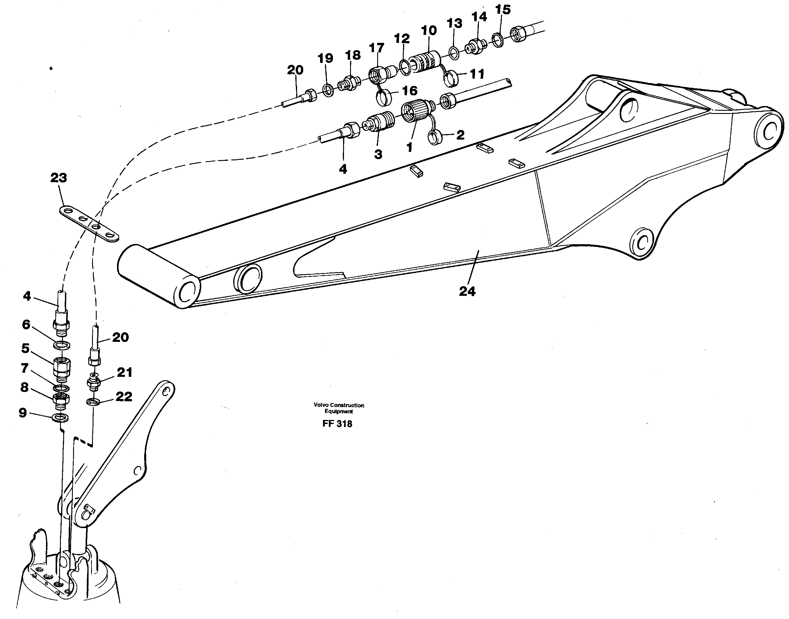
VOE 14259416

Hose kit

1шт.

1

VOE 14211647

Insert nipple

1шт.

10

VOE 4854134

Snap-on coupling

1шт.

10

VOE 4854134

Snap-on coupling

1шт.

11

VOE 11147583

Dust cover

1шт.

12

VOE 13960170

Кольцо уплотнительное (О-кольцо)

1шт.

12

VOE 13960170

Кольцо уплотнительное (О-кольцо)

1шт.

13

VOE 949658

Кольцо уплотнительное (О-кольцо)

1шт.

13

VOE 949658

Кольцо уплотнительное (О-кольцо)

1шт.

14

VOE 14012423

14012423

1шт.

15

VOE 14211858

Кольцо уплотнительное

1шт.

15

VOE 14211858

Кольцо уплотнительное

1шт.

16

VOE 11147584

Dust cover

1шт.

16

VOE 11147584

Dust cover

1шт.

17

VOE 4880624

Snap-on coupling

1шт.

17

VOE 4880624

Snap-on coupling

1шт.

18

VOE 14012423

14012423

1шт.

19

VOE 14211858

Кольцо уплотнительное

1шт.

19

VOE 14211858

Кольцо уплотнительное

1шт.

2

VOE 14211648

Dust cover

1шт.

20

VOE 14245624

Hydraulic hose

1шт.

21

VOE 14012423

14012423

1шт.

22

VOE 14211858

Кольцо уплотнительное

1шт.

22

VOE 14211858

Кольцо уплотнительное

1шт.

23

VOE 14024251

Rubber strap

1шт.

3

VOE 14213732

14213732

1шт.

4

VOE 14236737

Hydraulic hose

1шт.

4

VOE 14236737

Hydraulic hose

1шт.

5

VOE 14211062

14211062

1шт.

6

VOE 14211859

Кольцо уплотнительное

1шт.

6

VOE 14211859

Кольцо уплотнительное

1шт.

7

VOE 13960167

Кольцо уплотнительное (О-кольцо)

1шт.

8

VOE 14012518

Rdc Bushing

1шт.

9

VOE 14211860

Кольцо уплотнительное

1шт.

9

VOE 14211860

Кольцо уплотнительное

1шт.

Выбрано товаров: 0