Качественные детали и логистика
Оригинальные и аналоговые запчасти с доставкой по России, Казахстану и Беларуси
©2022 PartSell ООО "Система" ИНН 2463123282 ОГРН 1212400004838
Центральный офис: г. Красноярск, Академика Киренского, д.87, пом.4
Телефон: 8 (800) 777-65-74 Email: zakaz@partsell.ru
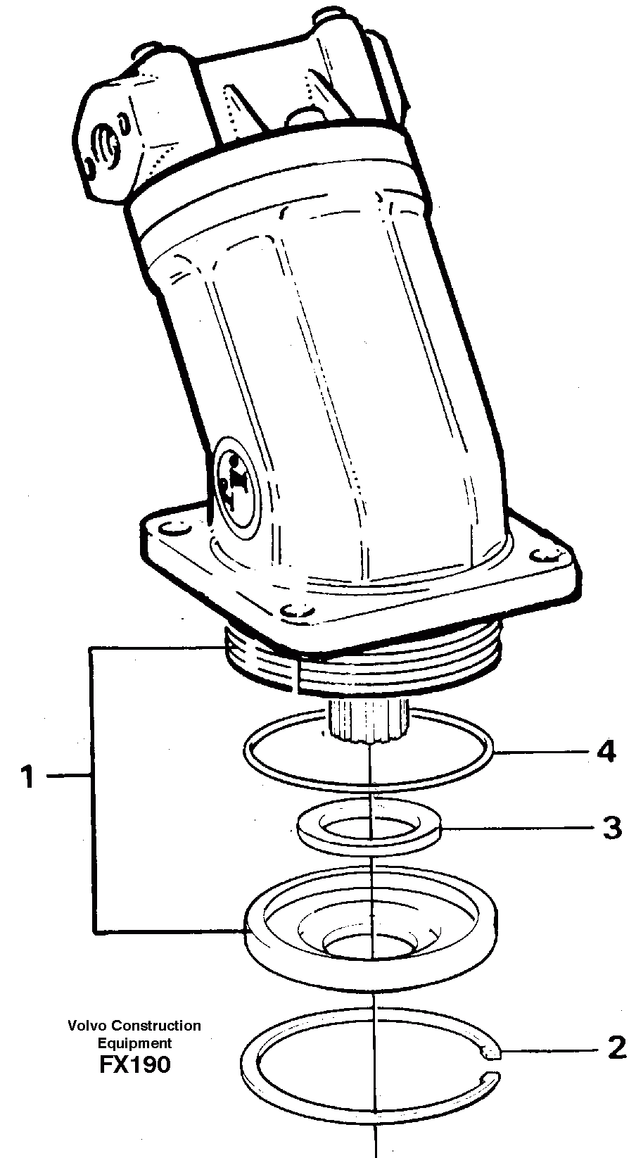
31509 Hydraulic motor, slew
№
Артикул
Название
Примечание
Количество
1
VOE 14211116
Гидромотор
1шт.
2
VOE 951090
Safety ring
3
VOE 14210907
Сальник
4
VOE 14210908
Кольцо уплотнительное (О-кольцо)
Выбрано товаров: 0