Запчасти Volvo EC130C 91438 Hydraulic system, dipperarm EC130C SER NO 221-

Схема запчастей Volvo EC130C - 91438 Hydraulic system, dipperarm EC130C SER NO 221-
FIT
1:1
100%

Артикул

Название

Примечание

Количество

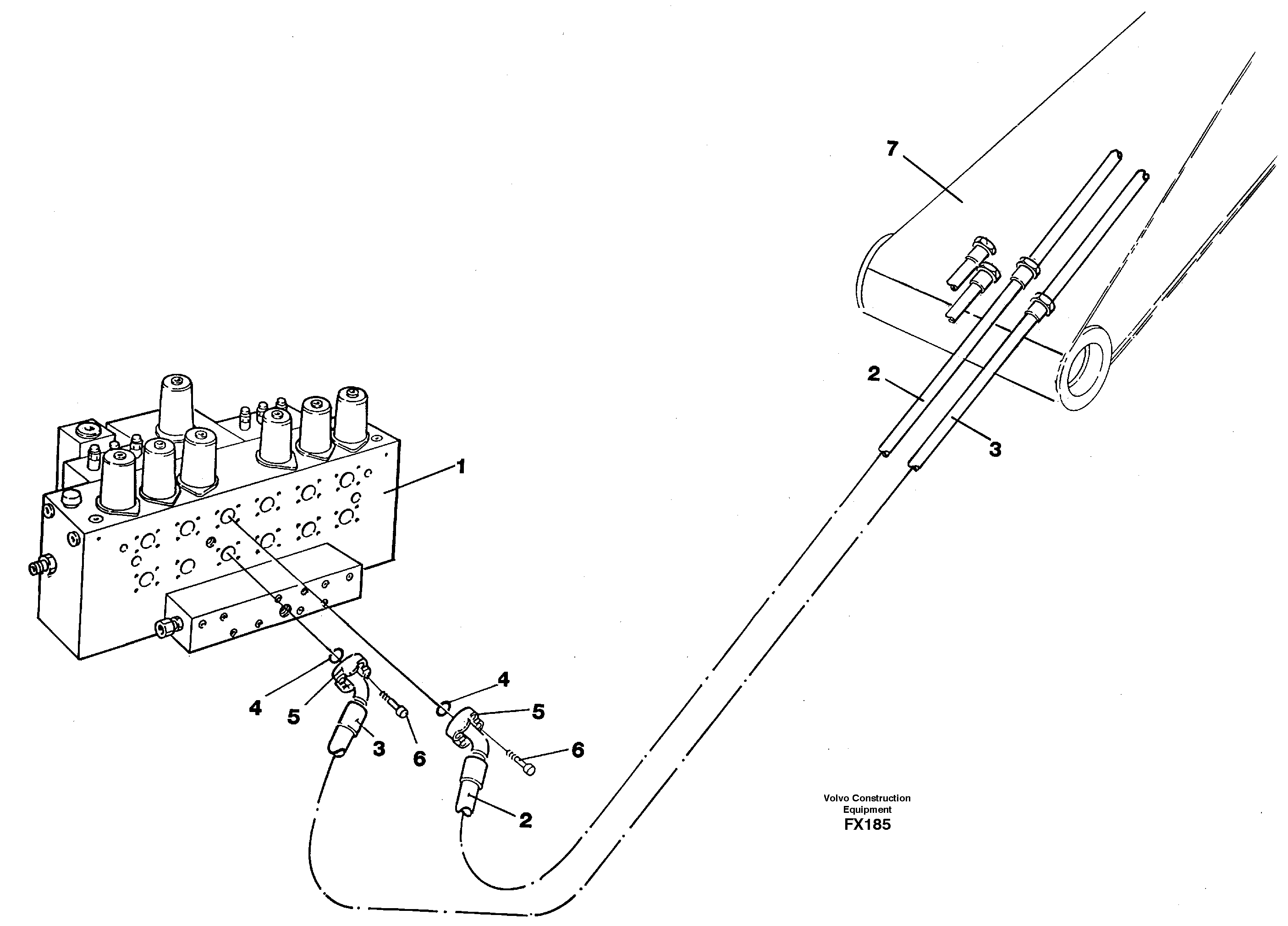
2

VOE 14267472

Hydraulic hose

1шт.

3

VOE 14267471

Hydraulic hose

1шт.

4

VOE 990742

Кольцо уплотнительное (О-кольцо)

1шт.

4

VOE 990742

Кольцо уплотнительное (О-кольцо)

1шт.

5

VOE 935312

Flange half

1шт.

5

VOE 935312

Flange half

1шт.

6

VOE 959240

Allen Hd Screw

1шт.

Выбрано товаров: 7