Запчасти Volvo EC130C 14303 Hose rupture valve, boom cylinder EC130C SER NO 221-

Схема запчастей Volvo EC130C - 14303 Hose rupture valve, boom cylinder EC130C SER NO 221-
FIT
1:1
100%

Артикул

Название

Примечание

Количество

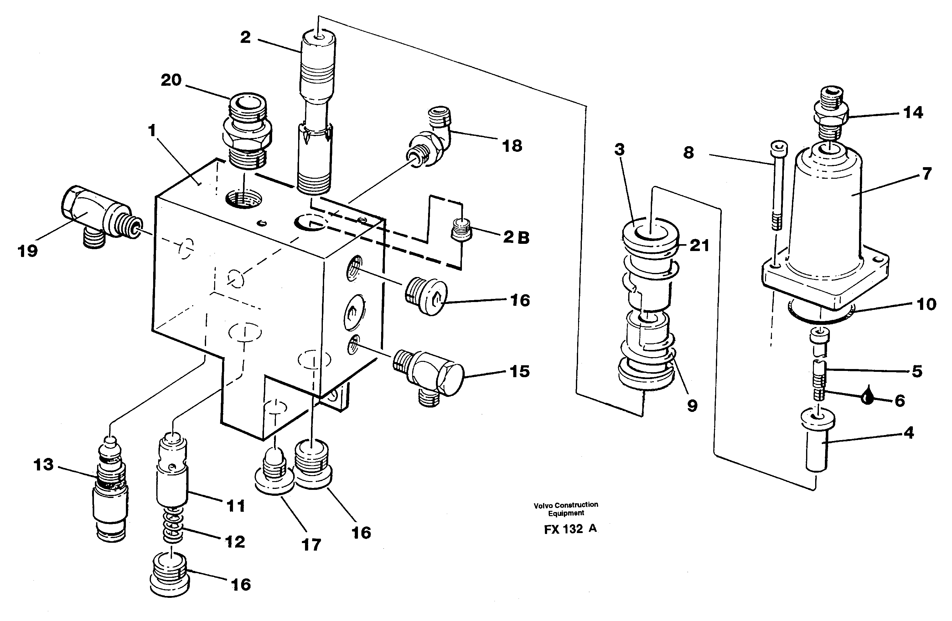
VOE 14342762

Line Brk Valve

1шт.

1

VOE 14251259

Valve housing

1шт.

10

VOE 925091

Кольцо уплотнительное (О-кольцо)

1шт.

10

VOE 925091

Кольцо уплотнительное (О-кольцо)

1шт.

11

VOE 14236642

Peg

1шт.

12

VOE 14048993

Compression spring

1шт.

13

VOE 14342761

Pressure limiting valve

1шт.

14

VOE 14012413

14012413

1шт.

15

VOE 14026430

Banjo fitting

1шт.

16

VOE 14024233

Tube Plug

1шт.

17

VOE 14023409

Пробка (заглушка)

1шт.

17

VOE 14023409

Пробка (заглушка)

1шт.

18

VOE 14012391

14012391

1шт.

19

VOE 14261008

Banjo fitting

1шт.

2

VOE 14342428

Valve slide

1шт.

20

VOE 14215338

14215338

1шт.

21

VOE 14342827

Прокладка

1шт.

2B

VOE 14023406

Tube Plug

1шт.

3

VOE 14342779

Spring disc

1шт.

4

VOE 14236273

Spacer sleeve

1шт.

5

VOE 959211

Allen Hd Screw

1шт.

6

VOE 14024293

Locking fluid

1шт.

6

VOE 14024293

Locking fluid

1шт.

7

VOE 14236254

Крышка

1шт.

8

VOE 959223

Allen Hd Screw

1шт.

9

VOE 14236272

Compression spring

1шт.

Выбрано товаров: 26