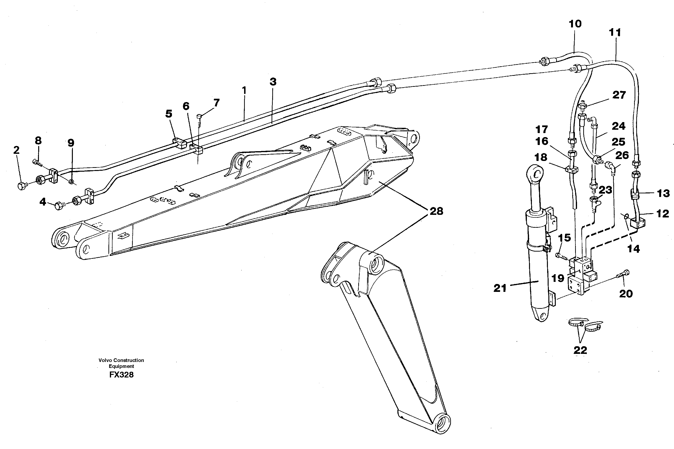
Запчасти Volvo EC130C 105686 Hydraulic hammer equipment,adjustable boom EC130C SER NO 221-

Схема запчастей Volvo EC130C - 105686 Hydraulic hammer equipment,adjustable boom EC130C SER NO 221-
FIT
1:1
100%

Артикул

Название

Примечание

Количество

VOE 14211899

Кольцо уплотнительное (О-кольцо)

1шт.

VOE 14012428

14012428

1шт.

1

VOE 14252837

Tube Assembly

1шт.

10

VOE 14231051

Hydraulic hose

1шт.

10

VOE 14231051

Hydraulic hose

1шт.

11

VOE 14046384

Hydraulic hose

1шт.

11

VOE 14046384

Hydraulic hose

1шт.

12

VOE 14252808

Tube Assembly

1шт.

13

VOE 14041530

Tube Clamp

1шт.

14

VOE 925067

Кольцо уплотнительное (О-кольцо)

1шт.

14

VOE 925067

Кольцо уплотнительное (О-кольцо)

1шт.

15

VOE 970980

Винт шестигранник

1шт.

15

VOE 970980

Винт шестигранник

1шт.

16

VOE 14253215

Tube Assembly

1шт.

17

VOE 949659

Кольцо уплотнительное (О-кольцо)

1шт.

17

VOE 949659

Кольцо уплотнительное (О-кольцо)

1шт.

18

VOE 14041530

Tube Clamp

1шт.

2

VOE 14230146

Tube Plug

1шт.

20

VOE 959241

Винт шестигранник (торцевой ключ)

1шт.

22

VOE 4881440

Cable tie

1шт.

22

VOE 4881440

Cable tie

1шт.

23

VOE 14012383

14012383

1шт.

24

VOE 14054603

Hydraulic hose

1шт.

25

VOE 14252865

Tube Assembly

1шт.

26

VOE 14012396

14012396

1шт.

27

VOE 14012428

14012428

1шт.

3

VOE 14253008

Tube Assembly

1шт.

4

VOE 14230147

Tube Plug

1шт.

5

VOE 14251453

Tube Clamp

1шт.

6

VOE 14041530

Tube Clamp

1шт.

7

VOE 970960

Винт шестигранник

1шт.

8

VOE 13970962

Винт шестигранник

1шт.

8

VOE 13970962

Винт шестигранник

1шт.

9

VOE 971071

Hexagon nut

1шт.

9

VOE 971071

Hexagon nut

1шт.

Выбрано товаров: 35