Запчасти Volvo EC140 40967 Speed control

Схема запчастей Volvo EC140 - 40967 Speed control
FIT
1:1
100%

Артикул

Название

Примечание

Количество

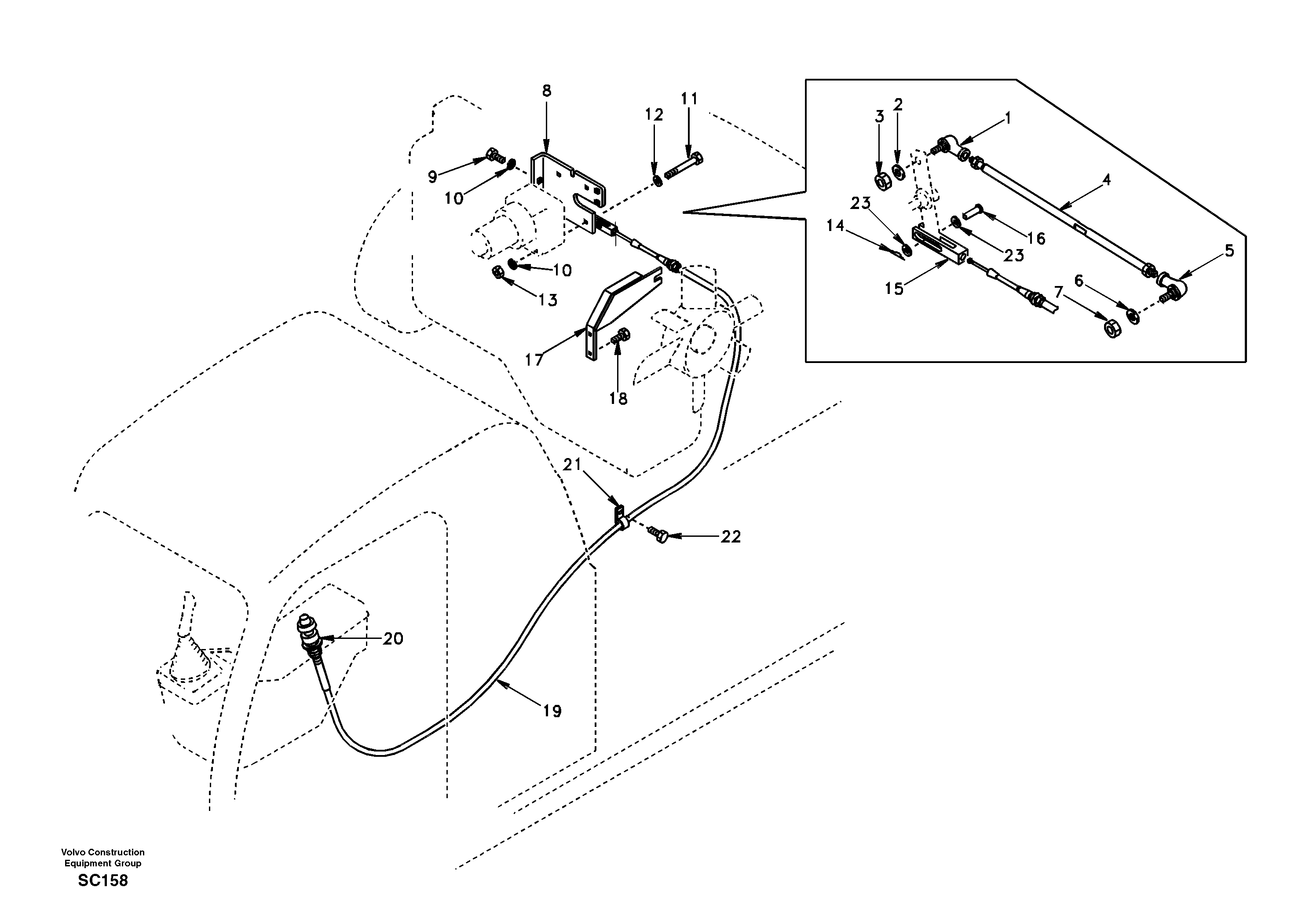
1

SA 9646-31060

Rod End

1шт.

10

SA 9213-10000

Шайба пружинная

1шт.

11

SA 9011-21015

Болт

1шт.

12

SA 9211-10000

Шайба

1шт.

12

SA 9211-10000

Шайба

1шт.

13

SA 9111-11000

Гайка

1шт.

14

SA 9326-06000

Палец

1шт.

14

SA 9326-06000

Палец

1шт.

15

SA 1118-00181

Вилка

1шт.

15

SA 1118-00181

Вилка

1шт.

16

SA 9321-20612

Clevis Pin

1шт.

17

SA 1118-00641

Кронштейн

1шт.

18

SA 9014-11206

Болт

1шт.

19

SA 1018-00401

Cable

1шт.

2

SA 9211-06000

Шайба

1шт.

20

SA 1118-00650

Уплотнительная втулка

1шт.

20

SA 1118-00650

Уплотнительная втулка

1шт.

21

SA 9315-01201

Скоба (хомут)

1шт.

22

SA 9041-11004

Болт

1шт.

23

SA 1118-01630

Шайба

1шт.

23

SA 1118-01630

Плоская шайба

1шт.

3

SA 9111-10600

Гайка

1шт.

4

SA 1118-01610

Щуп

1шт.

5

SA 9646-32080

Rod End

1шт.

6

SA 9211-08000

Шайба

1шт.

6

SA 9211-08000

Шайба

1шт.

7

SA 9111-10800

Гайка

1шт.

8

SA 1118-01700

Кронштейн

1шт.

9

SA 9011-11007

Болт

1шт.

9

SA 9011-11007

Болт

1шт.

Выбрано товаров: 30