Запчасти Volvo EC140B 99535 Links to connecting rod EC140B

Схема запчастей Volvo EC140B - 99535 Links to connecting rod EC140B
FIT
1:1
100%

Артикул

Название

Примечание

Количество

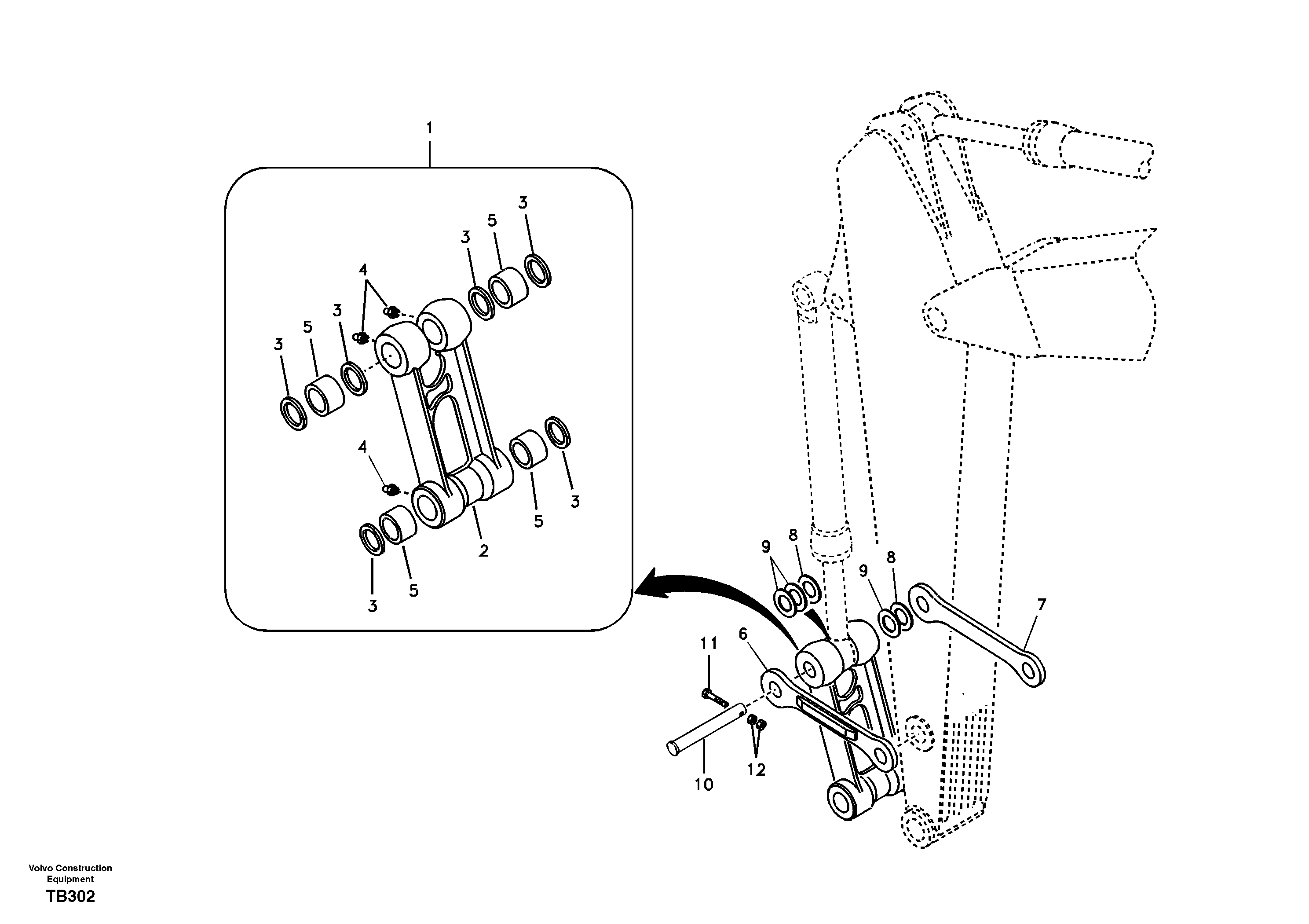
1

VOE 14564414

Connecting rod

1шт.

10

VOE 14543216

Палец

1шт.

11

VOE 983260

Винт шестигранник

1шт.

11

VOE 983260

Винт шестигранник

1шт.

12

VOE 979021

Hexagon nut

1шт.

12

VOE 979021

Hexagon nut

1шт.

2

VOE 14513633

Connecting Rod

1шт.

3

VOE 14560201

Сальник

1шт.

4

VOE 914167

Lubricating nipple

1шт.

4

VOE 914167

Lubricating nipple

1шт.

5

VOE 14547395

Втулка

1шт.

6

VOE 14513938

Вилка

1шт.

7

VOE 14513939

Вилка

1шт.

8

SA 1173-00610

Прокладка

1шт.

9

SA 1173-00620

Прокладка

1шт.

Выбрано товаров: 0