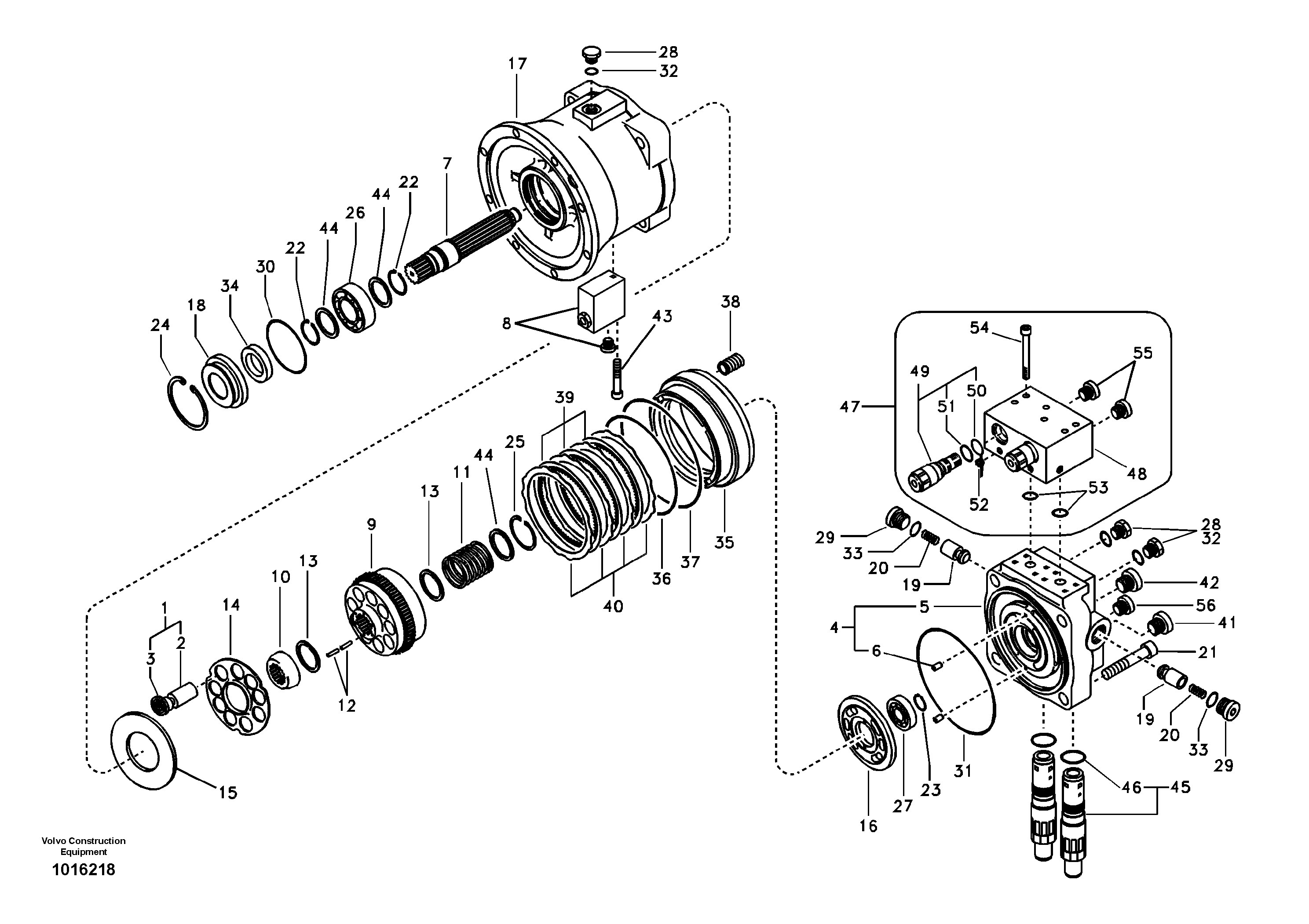
Запчасти Volvo EC140B 87759 Поворотный редуктор (Гидромотор поворота платформы) EC140B PRIME S/N 15001-

Схема запчастей Volvo EC140B - 87759 Поворотный редуктор (Гидромотор поворота платформы) EC140B PRIME S/N 15001-
FIT
1:1
100%

Артикул

Название

Примечание

Количество

VOE 14562621

Пробка (заглушка)

1шт.

VOE 14524188

Гидромотор

1шт.

VOE 983493

Кольцо уплотнительное (О-кольцо)

1шт.

VOE 983503

Кольцо уплотнительное (О-кольцо)

1шт.

VOE 983503

Кольцо уплотнительное (О-кольцо)

1шт.

1

VOE 14501616

Поршень

1шт.

10

SA 8230-14100

Тарелка клапана

1шт.

100

SA 8230-14370

Sealing

1шт.

11

SA 8230-14130

Пружина

1шт.

12

SA 8230-26340

Щуп

1шт.

13

SA 8230-14120

Вставка

1шт.

14

SA 8230-13920

Пластина

1шт.

15

SA 8230-14080

Пластина

1шт.

16

SA 8230-13930

Valve plate

1шт.

17

SA 8230-13600

Casing

1шт.

18

SA 8230-14090

Крышка

1шт.

19

SA 8230-14170

Plunger

1шт.

2

VOE 14501617

Поршень

1шт.

20

SA 8230-14180

Пружина

1шт.

21

SA 8240-03530

Болт

1шт.

22

SA 8230-25970

Кольцо

1шт.

23

SA 8230-26960

Кольцо

1шт.

24

SA 9541-02080

Кольцо

1шт.

25

SA 8230-25720

Кольцо

1шт.

26

SA 8230-26570

Подшипник

1шт.

27

VOE 14511641

Подшипник

1шт.

28

SA 8230-25640

Пробка (заглушка)

1шт.

29

SA 8230-25660

Пробка (заглушка)

1шт.

3

VOE 14501618

Seat

1шт.

30

SA 9511-22080

Кольцо уплотнительное (О-кольцо)

1шт.

31

SA 8240-03361

Кольцо уплотнительное (О-кольцо)

1шт.

32

SA 9511-12011

Кольцо уплотнительное (О-кольцо)

1шт.

33

SA 9511-12020

Кольцо уплотнительное (О-кольцо)

1шт.

33

SA 9511-12020

Кольцо уплотнительное (О-кольцо)

1шт.

34

SA 8230-26860

Сальник

1шт.

35

SA 8230-13840

Поршень

1шт.

36

SA 8230-25511

Кольцо уплотнительное (О-кольцо)

1шт.

37

SA 8230-25521

Кольцо уплотнительное (О-кольцо)

1шт.

38

SA 8230-14140

Пружина

1шт.

39

SA 8230-13780

Friction plate

1шт.

4

SA 8230-30360

Casing

1шт.

40

SA 8230-13730

Separating plate

1шт.

41

SA 8230-26930

Пробка (заглушка)

1шт.

42

SA 8230-26920

Plastic plug

1шт.

43

VOE 14511643

Болт

1шт.

44

SA 8230-14110

Вставка

1шт.

45

SA 8230-36550

Клапан предохранительный (разгрузочный, сброса давления)

1шт.

46

SA 9511-22030

Кольцо уплотнительное (О-кольцо)

1шт.

47

VOE 14511644

Корпус клапана

1шт.

48

VOE 14511646

Casing

1шт.

49

VOE 14500037

Клапан

1шт.

5

VOE 14501619

Casing

1шт.

50

SA 9511-12020

Кольцо уплотнительное (О-кольцо)

1шт.

50

SA 9511-12020

Кольцо уплотнительное (О-кольцо)

1шт.

51

SA 9566-10200

Кольцо

1шт.

52

SA 7242-11040

Пробка (заглушка)

1шт.

52

SA 7242-11040

Пробка (заглушка)

1шт.

53

SA 9511-12022

Кольцо уплотнительное (О-кольцо)

1шт.

54

SA 8230-25920

Болт

1шт.

54

SA 8230-25920

Болт

1шт.

56

VOE 14529759

Пробка (заглушка)

1шт.

6

VOE 14501620

Палец

1шт.

7

SA 8230-13670

Вал

1шт.

8

VOE 14511642

Клапан

1шт.

9

SA 8230-13690

цилиндр

1шт.

Выбрано товаров: 0