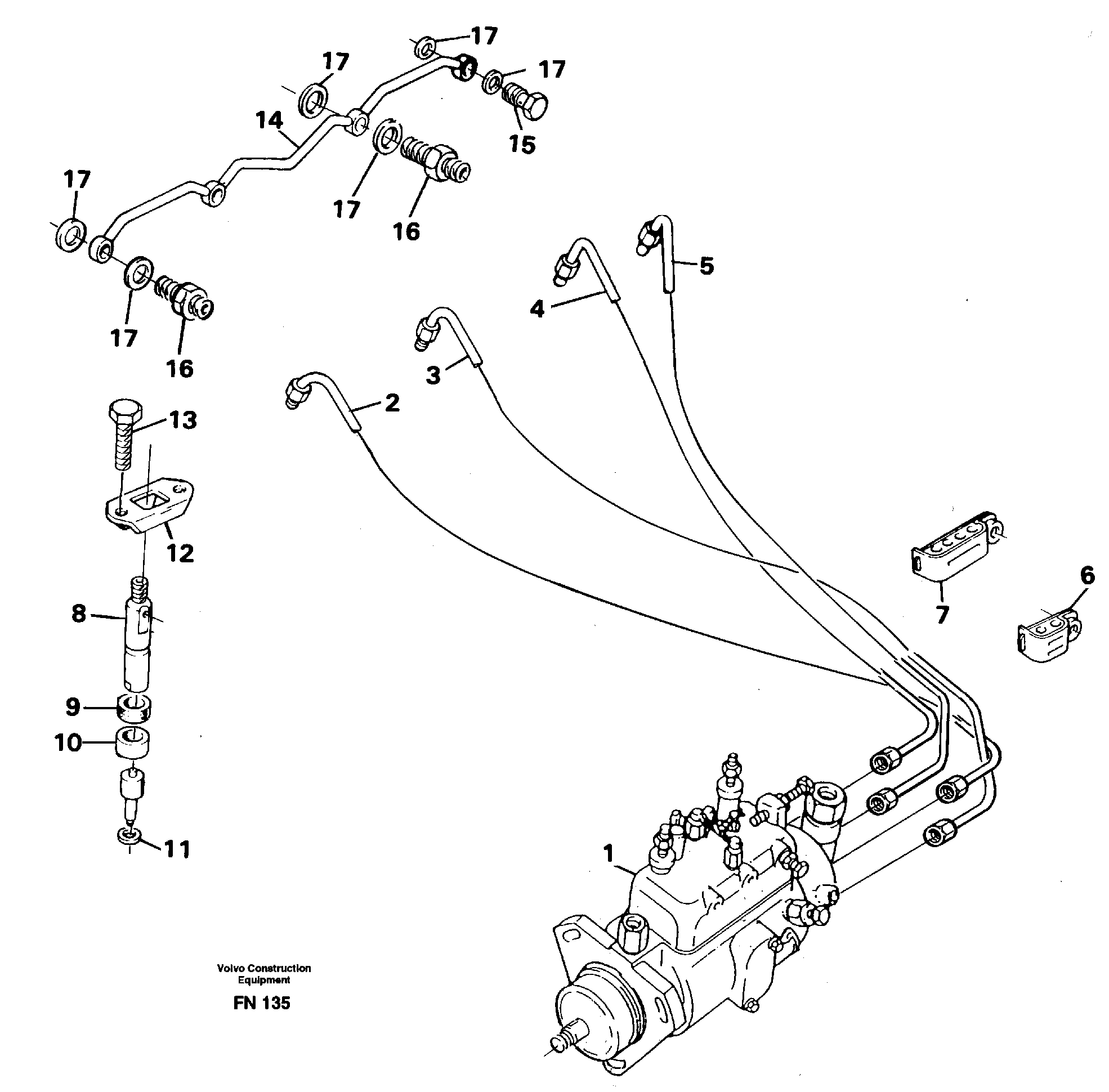
Запчасти Volvo EC150C 42146 Fuel lines, injectors EC150C ?KERMAN ?KERMAN EC150C SER NO - 253

Схема запчастей Volvo EC150C - 42146 Fuel lines, injectors EC150C ?KERMAN ?KERMAN EC150C SER NO - 253
FIT
1:1
100%

Артикул

Название

Примечание

Количество

10

VOE 11997927

Кольцо уплотнительное

1шт.

10

VOE 11997927

Кольцо уплотнительное

1шт.

11

VOE 6613552

Шайба

1шт.

11

VOE 6613552

Шайба

1шт.

12

VOE 11997931

Зажим

1шт.

12

VOE 11997931

Зажим

1шт.

13

VOE 946470

Flange screw

1шт.

13

VOE 946470

Flange screw

1шт.

14

VOE 11997033

Leak-off Pipe

1шт.

15

VOE 11000003

Hollow Screw

1шт.

15

VOE 11000003

Hollow Screw

1шт.

16

VOE 6613198

Болт

1шт.

16

VOE 6613198

Болт

1шт.

17

VOE 957171

Прокладка

1шт.

17

VOE 957171

Plane Gasket

1шт.

2

VOE 11702136

Трубка

NO. 1 CYL

1шт.

3

VOE 11702137

Трубка

NO. 2 CYL

1шт.

4

VOE 11702138

Трубка

NO. 3 CYL

1шт.

5

VOE 11702139

Трубка

NO. 4 CYL

1шт.

6

VOE 11999500

Зажим

1шт.

7

VOE 11997028

Зажим

1шт.

9

VOE 11997926

Spacer Ring

1шт.

9

VOE 11997926

Spacer Ring

1шт.

Выбрано товаров: 23