Запчасти Volvo EC150C 32563 Intercooler EC150C ?KERMAN ?KERMAN EC150C SER NO - 253

Схема запчастей Volvo EC150C - 32563 Intercooler EC150C ?KERMAN ?KERMAN EC150C SER NO - 253
FIT
1:1
100%

Артикул

Название

Примечание

Количество

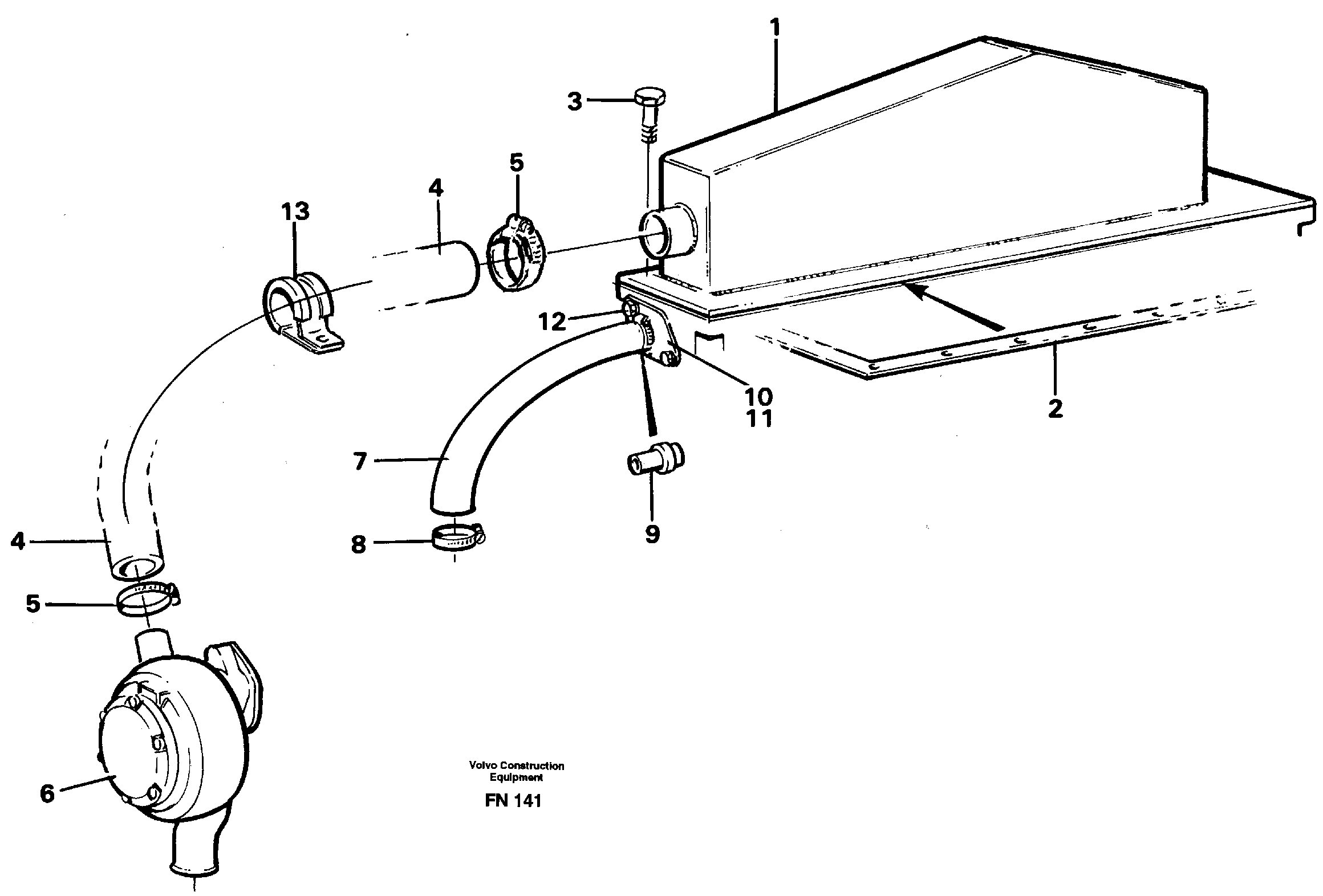
1

VOE 11703643

Chg Air Cooler

1шт.

1

VOE 11703643

Chg Air Cooler

1шт.

10

VOE 11998950

Фланец

1шт.

10

VOE 11998950

Фланец

1шт.

11

VOE 11988390

Кольцо уплотнительное (О-кольцо)

1шт.

11

VOE 11988390

Кольцо уплотнительное (О-кольцо)

1шт.

12

VOE 13946544

Болт

1шт.

12

VOE 13946544

Flange screw

1шт.

13

VOE 11701647

Зажим

1шт.

13

VOE 11701647

Зажим

1шт.

2

VOE 11998949

Прокладка

1шт.

2

VOE 11998949

Прокладка

1шт.

3

VOE 946440

Flange screw

1шт.

3

VOE 946440

Flange screw

1шт.

4

VOE 11701644

Шланг

1шт.

5

VOE 11999212

Зажим

1шт.

5

VOE 11999212

Зажим

1шт.

7

VOE 11997080

Шланг

1шт.

7

VOE 11997080

Шланг

1шт.

8

VOE 11999212

Зажим

1шт.

8

VOE 11999212

Зажим

1шт.

9

VOE 11701646

Соединитель

1шт.

Выбрано товаров: 22