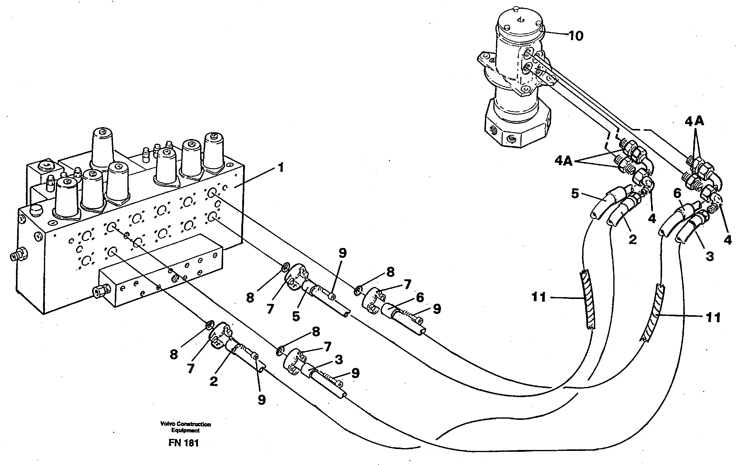
Запчасти Volvo EC150C 86376 Hydraulic system, travel EC150C ?KERMAN ?KERMAN EC150C SER NO - 253

Схема запчастей Volvo EC150C - 86376 Hydraulic system, travel EC150C ?KERMAN ?KERMAN EC150C SER NO - 253
FIT
1:1
100%

Артикул

Название

Примечание

Количество

11

VOE 14253275

Hose protection

1шт.

2

VOE 14268344

Hydraulic hose

1шт.

3

VOE 14268345

Hydraulic hose

1шт.

4

VOE 14012396

14012396

1шт.

4A

VOE 14012428

14012428

1шт.

5

VOE 14268347

Hydraulic hose

1шт.

6

VOE 14268346

Hydraulic hose

1шт.

7

VOE 935312

Flange half

1шт.

7

VOE 935312

Flange half

1шт.

8

VOE 990742

Кольцо уплотнительное (О-кольцо)

1шт.

8

VOE 990742

Кольцо уплотнительное (О-кольцо)

1шт.

9

VOE 959240

Allen Hd Screw

1шт.

Выбрано товаров: 12