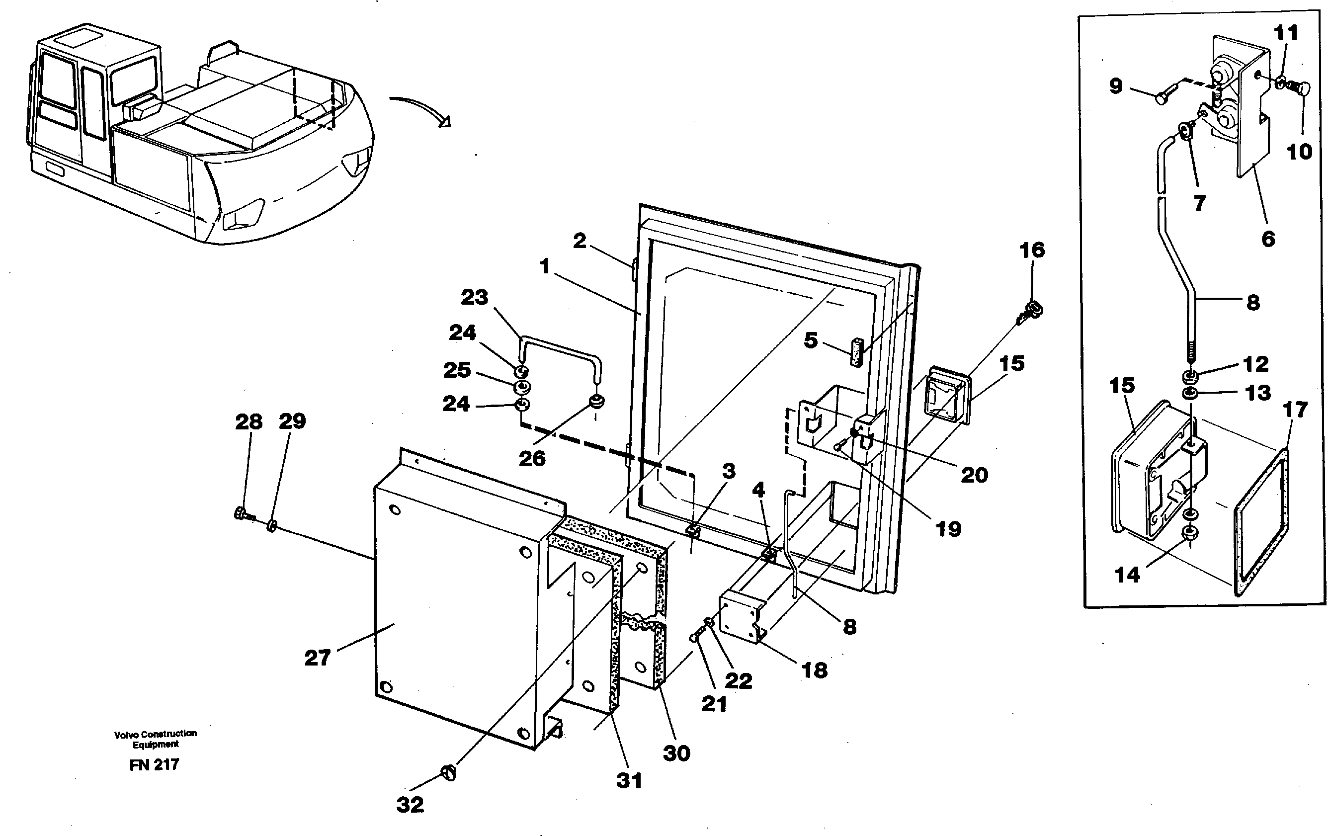
Запчасти Volvo EC150C 8663 Door,tankpumps EC150C ?KERMAN ?KERMAN EC150C SER NO - 253

Схема запчастей Volvo EC150C - 8663 Door,tankpumps EC150C ?KERMAN ?KERMAN EC150C SER NO - 253
FIT
1:1
100%

Артикул

Название

Примечание

Количество

VOE 14261864

Door

1шт.

1

VOE 14261807

Door

1шт.

10

VOE 955269

Винт шестигранник

1шт.

10

VOE 955269

Винт шестигранник

1шт.

11

VOE 955893

Шайба

1шт.

11

VOE 955893

Шайба

1шт.

12

VOE 955779

Hexagon nut

1шт.

12

VOE 955779

Hexagon nut

1шт.

13

VOE 14015093

Шайба

1шт.

13

VOE 14015093

Шайба

1шт.

14

VOE 13963103

Lock nut

1шт.

14

VOE 13963103

Lock nut

1шт.

15

VOE 14212993

14212993

1шт.

17

VOE 14212994

Прокладка

1шт.

18

VOE 14346379

14346379

1шт.

19

VOE 955269

Винт шестигранник

1шт.

19

VOE 955269

Винт шестигранник

1шт.

2

VOE 14014290

Hinge flange

1шт.

2

VOE 14014290

Hinge flange

1шт.

20

VOE 955893

Шайба

1шт.

20

VOE 955893

Шайба

1шт.

21

VOE 956092

Cross recessed screw

1шт.

21

VOE 956092

Cross recessed screw

1шт.

22

VOE 955893

Шайба

1шт.

22

VOE 955893

Шайба

1шт.

23

VOE 14047548

Опора

1шт.

23

VOE 14047548

Опора

1шт.

24

VOE 14213904

Шайба

1шт.

24

VOE 14213904

Шайба

1шт.

25

VOE 13955894

Шайба

1шт.

25

VOE 13955894

Шайба

1шт.

26

VOE 14213386

Уплотнительная втулка

1шт.

26

VOE 14213386

Уплотнительная втулка

1шт.

27

VOE 14268294

Тарелка клапана

1шт.

28

VOE 14211258

Болт

1шт.

28

VOE 14211258

Болт

1шт.

29

VOE 955893

Шайба

1шт.

29

VOE 955893

Шайба

1шт.

3

VOE 14079355

Кронштейн

1шт.

30

VOE 14261891

Absorbent

1шт.

31

VOE 14268309

Absorbent

1шт.

32

VOE 4880985

Push button

1шт.

32

VOE 4880985

Push button

1шт.

4

VOE 14277948

Кронштейн

1шт.

5

VOE 14213014

Rubber moulding

L = 2x60mm

1шт.

5

VOE 14213014

Rubber moulding

L = 2x60mm

1шт.

6

VOE 14214141

Lock

1шт.

7

VOE 14213203

Скоба (хомут)

1шт.

8

VOE 14212997

Bar

1шт.

9

VOE 14023442

Болт

1шт.

9

VOE 14023442

Болт

1шт.

Выбрано товаров: 0