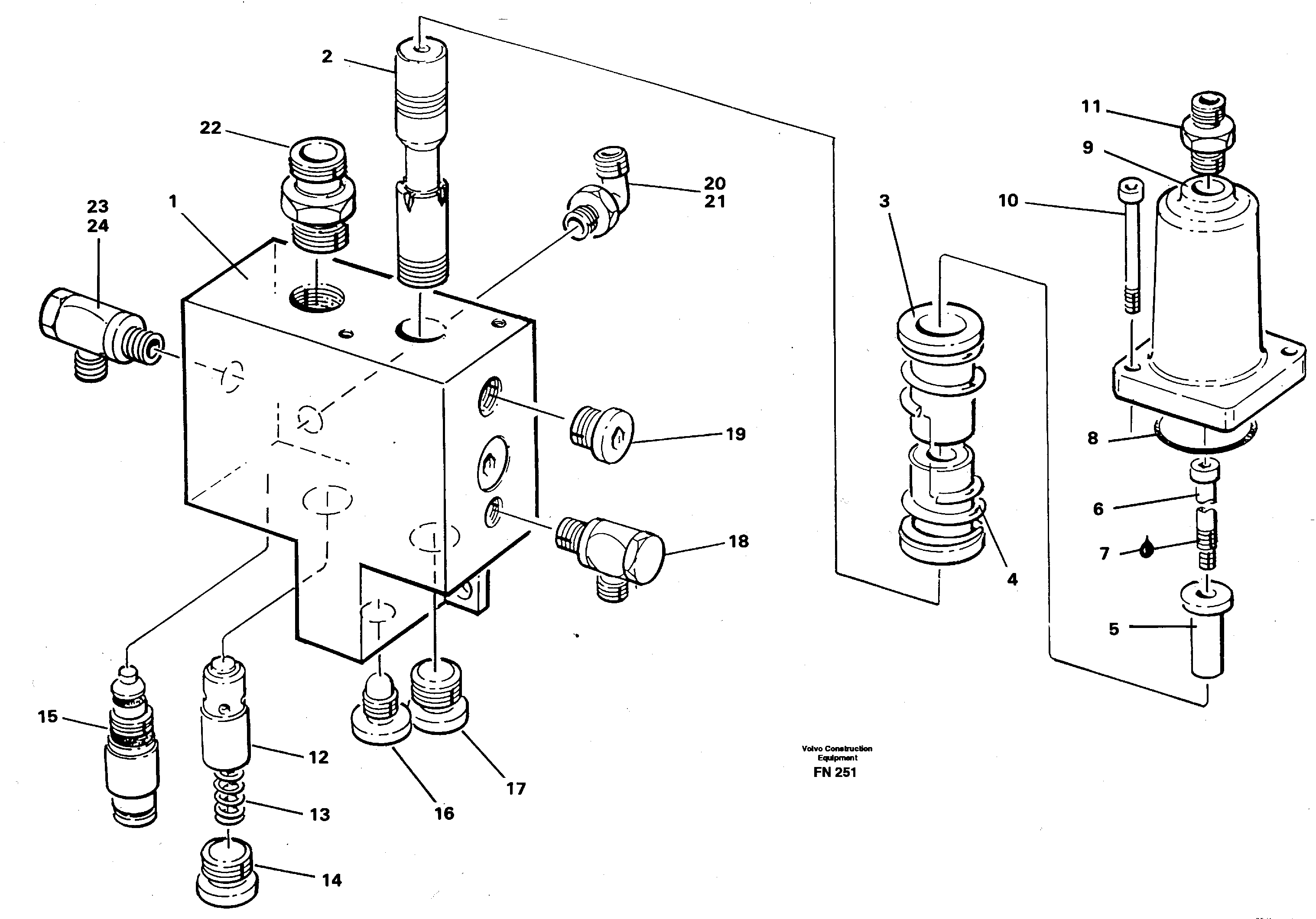
Запчасти Volvo EC150C 8576 Hose rupture valve, boom cylinder EC150C ?KERMAN ?KERMAN EC150C SER NO - 253

Схема запчастей Volvo EC150C - 8576 Hose rupture valve, boom cylinder EC150C ?KERMAN ?KERMAN EC150C SER NO - 253
FIT
1:1
100%

Артикул

Название

Примечание

Количество

VOE 14342762

Line Brk Valve

1шт.

VOE 14023406

Tube Plug

1шт.

VOE 14211855

Кольцо уплотнительное

1шт.

VOE 14211855

Кольцо уплотнительное

1шт.

1

VOE 14251259

Valve housing

1шт.

10

VOE 959223

Allen Hd Screw

1шт.

11

VOE 14012413

14012413

1шт.

12

VOE 14236642

Peg

1шт.

13

VOE 14048993

Compression spring

1шт.

14

VOE 14024233

Tube Plug

1шт.

15

VOE 14216055

Pressure limiting valve

1шт.

16

VOE 14023409

Пробка (заглушка)

1шт.

16

VOE 14023409

Пробка (заглушка)

1шт.

17

VOE 14024233

Tube Plug

1шт.

18

VOE 14026430

Banjo fitting

1шт.

19

VOE 14024233

Tube Plug

1шт.

2

VOE 14342428

Valve slide

1шт.

20

VOE 14012391

14012391

1шт.

21

VOE 14211899

Кольцо уплотнительное (О-кольцо)

1шт.

22

VOE 14215338

14215338

1шт.

23

VOE 14261008

Banjo fitting

1шт.

24

VOE 14214142

Banjo fitting

1шт.

3

VOE 14236271

Spring disc

1шт.

4

VOE 14236272

Compression spring

1шт.

5

VOE 14236273

Spacer sleeve

1шт.

6

VOE 14023240

Болт

1шт.

7

VOE 14024293

Locking fluid

1шт.

7

VOE 14024293

Locking fluid

1шт.

8

VOE 925091

Кольцо уплотнительное (О-кольцо)

1шт.

8

VOE 925091

Кольцо уплотнительное (О-кольцо)

1шт.

9

VOE 14236254

Крышка

1шт.

Выбрано товаров: 31