Запчасти Volvo EC150C 91090 Hydraulic system, boom EC150C SER NO 254-

Схема запчастей Volvo EC150C - 91090 Hydraulic system, boom EC150C SER NO 254-
FIT
1:1
100%

Артикул

Название

Примечание

Количество

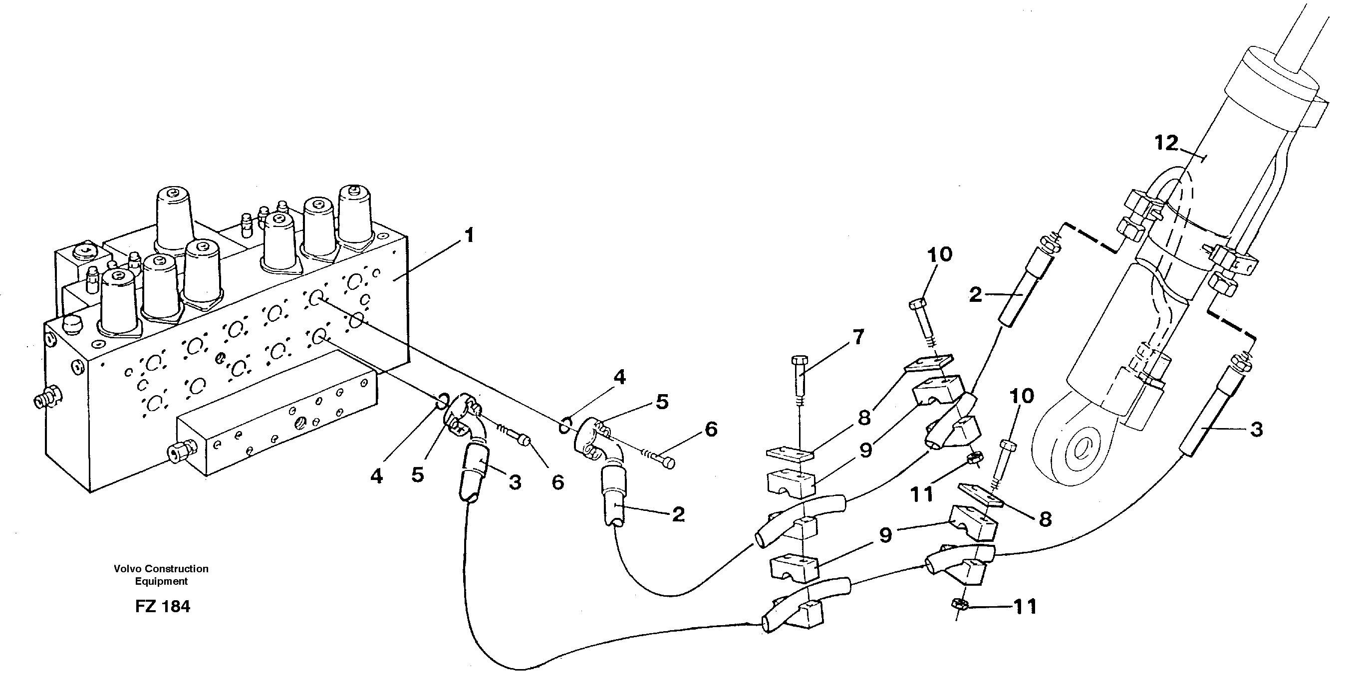
10

VOE 13970958

Винт шестигранник

1шт.

10

VOE 13970958

Винт шестигранник

1шт.

11

VOE 971071

Hexagon nut

1шт.

11

VOE 971071

Hexagon nut

1шт.

2

VOE 14267474

Hydraulic hose

1шт.

3

VOE 14267473

Hydraulic hose

1шт.

4

VOE 990742

Кольцо уплотнительное (О-кольцо)

1шт.

4

VOE 990742

Кольцо уплотнительное (О-кольцо)

1шт.

5

VOE 935312

Flange half

1шт.

5

VOE 935312

Flange half

1шт.

6

VOE 959240

Allen Hd Screw

1шт.

7

VOE 13970962

Винт шестигранник

1шт.

7

VOE 13970962

Винт шестигранник

1шт.

8

VOE 14251451

14251451

1шт.

9

VOE 14251450

Hose retainer

1шт.

Выбрано товаров: 15