Запчасти Volvo EC150C 45768 Working hydraulics EC150C SER NO 254-

Схема запчастей Volvo EC150C - 45768 Working hydraulics EC150C SER NO 254-
FIT
1:1
100%

Артикул

Название

Примечание

Количество

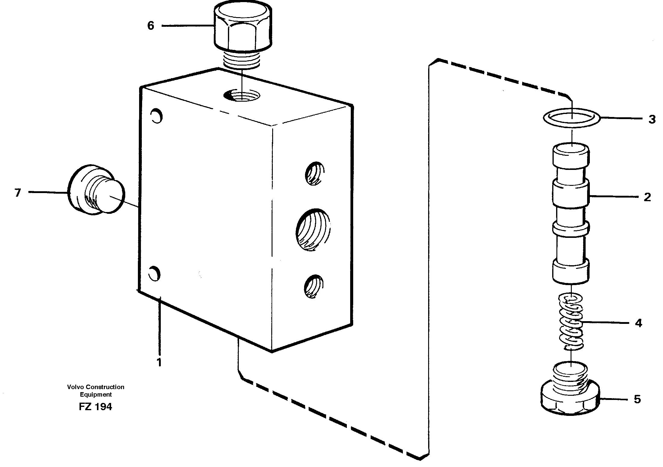
VOE 14249307

Клапан

1шт.

1

VOE 14245634

Картер (корпус)

1шт.

2

VOE 14245635

Slide

1шт.

3

VOE 13949657

Кольцо уплотнительное (О-кольцо)

1шт.

3

VOE 13949657

Кольцо уплотнительное (О-кольцо)

1шт.

4

VOE 14245648

Compression spring

1шт.

5

VOE 14023409

Пробка (заглушка)

1шт.

5

VOE 14023409

Пробка (заглушка)

1шт.

6

VOE 14245649

14245649

1шт.

7

VOE 14023409

Пробка (заглушка)

1шт.

7

VOE 14023409

Пробка (заглушка)

1шт.

Выбрано товаров: 11