Запчасти Volvo EC160 34972 Servo hydraulics, X2 EC160 SER NO 1001-

Схема запчастей Volvo EC160 - 34972 Servo hydraulics, X2 EC160 SER NO 1001-
FIT
1:1
100%

Артикул

Название

Примечание

Количество

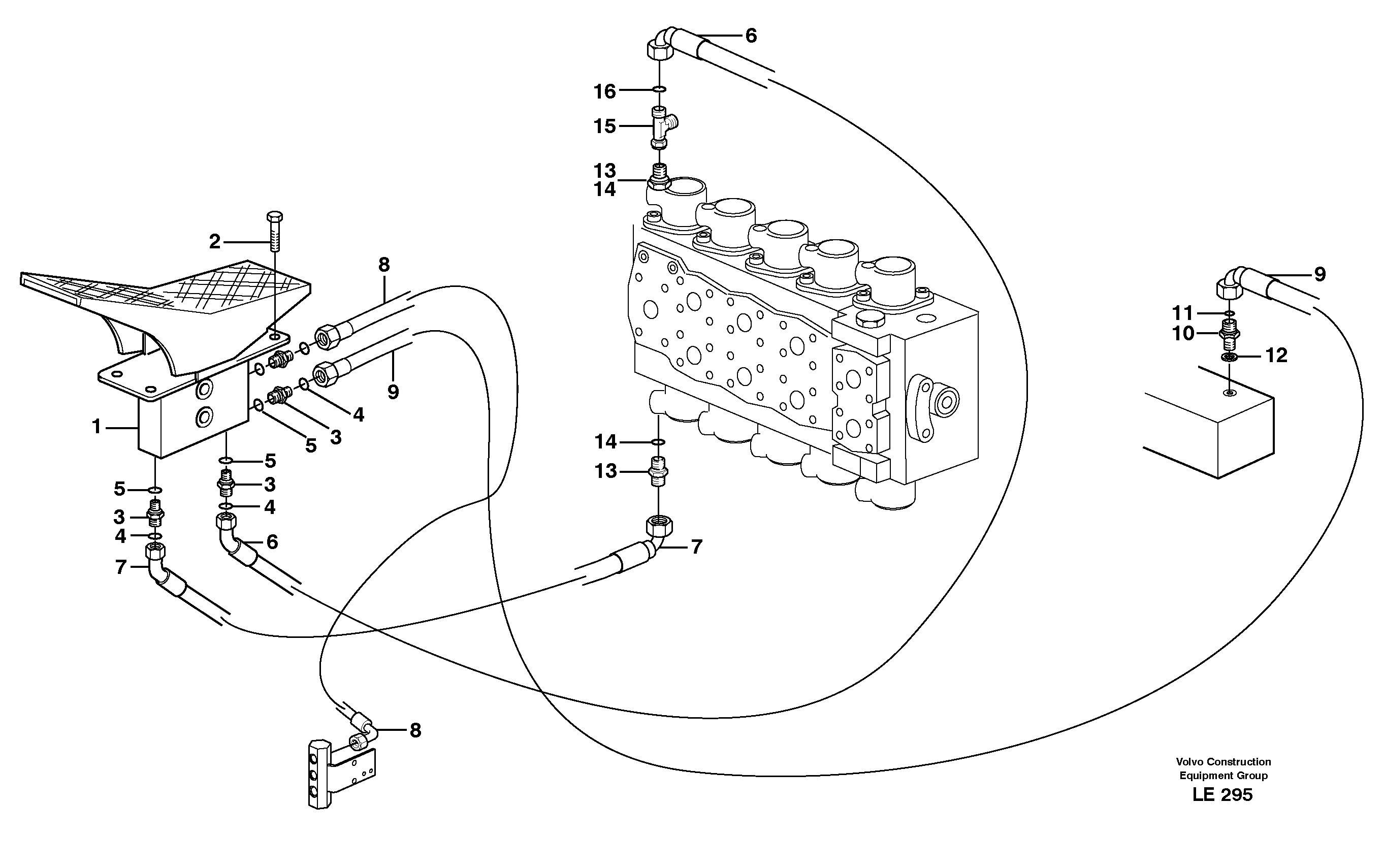
10

VOE 14370249

Фиттинг

1шт.

11

VOE 4880492

Кольцо уплотнительное (О-кольцо)

1шт.

11

VOE 4880492

Кольцо уплотнительное (О-кольцо)

1шт.

12

VOE 14211856

Кольцо уплотнительное

1шт.

12

VOE 14211856

Кольцо уплотнительное

1шт.

13

VOE 14370737

Фиттинг

M14. ALT

1шт.

13

VOE 14370249

Фиттинг

1/4". ALT

1шт.

13

VOE 14370737

Фиттинг

1шт.

14

VOE 4880492

Кольцо уплотнительное (О-кольцо)

1шт.

14

VOE 4880492

Кольцо уплотнительное (О-кольцо)

1шт.

14

VOE 4880492

Кольцо уплотнительное (О-кольцо)

1шт.

14

VOE 4880492

Кольцо уплотнительное (О-кольцо)

1шт.

14

VOE 4880492

Кольцо уплотнительное (О-кольцо)

1шт.

14

VOE 4880492

Кольцо уплотнительное (О-кольцо)

1шт.

15

VOE 13933936

T-nipple

1шт.

15

VOE 13933936

T-nipple

1шт.

16

VOE 4880492

Кольцо уплотнительное (О-кольцо)

1шт.

16

VOE 4880492

Кольцо уплотнительное (О-кольцо)

1шт.

2

VOE 946441

Flange screw

1шт.

2

VOE 946441

Flange screw

1шт.

3

VOE 935085

Nipple

1шт.

3

VOE 935085

Nipple

1шт.

4

VOE 4880492

Кольцо уплотнительное (О-кольцо)

1шт.

4

VOE 4880492

Кольцо уплотнительное (О-кольцо)

1шт.

5

VOE 932039

Кольцо уплотнительное (О-кольцо)

1шт.

5

VOE 932039

Кольцо уплотнительное (О-кольцо)

1шт.

6

VOE 14378761

Шланг

1шт.

7

VOE 14378760

Шланг

1шт.

7

VOE 14378760

Шланг

1шт.

8

VOE 14378823

Шланг

1шт.

9

VOE 14378758

Шланг

1шт.

Выбрано товаров: 31