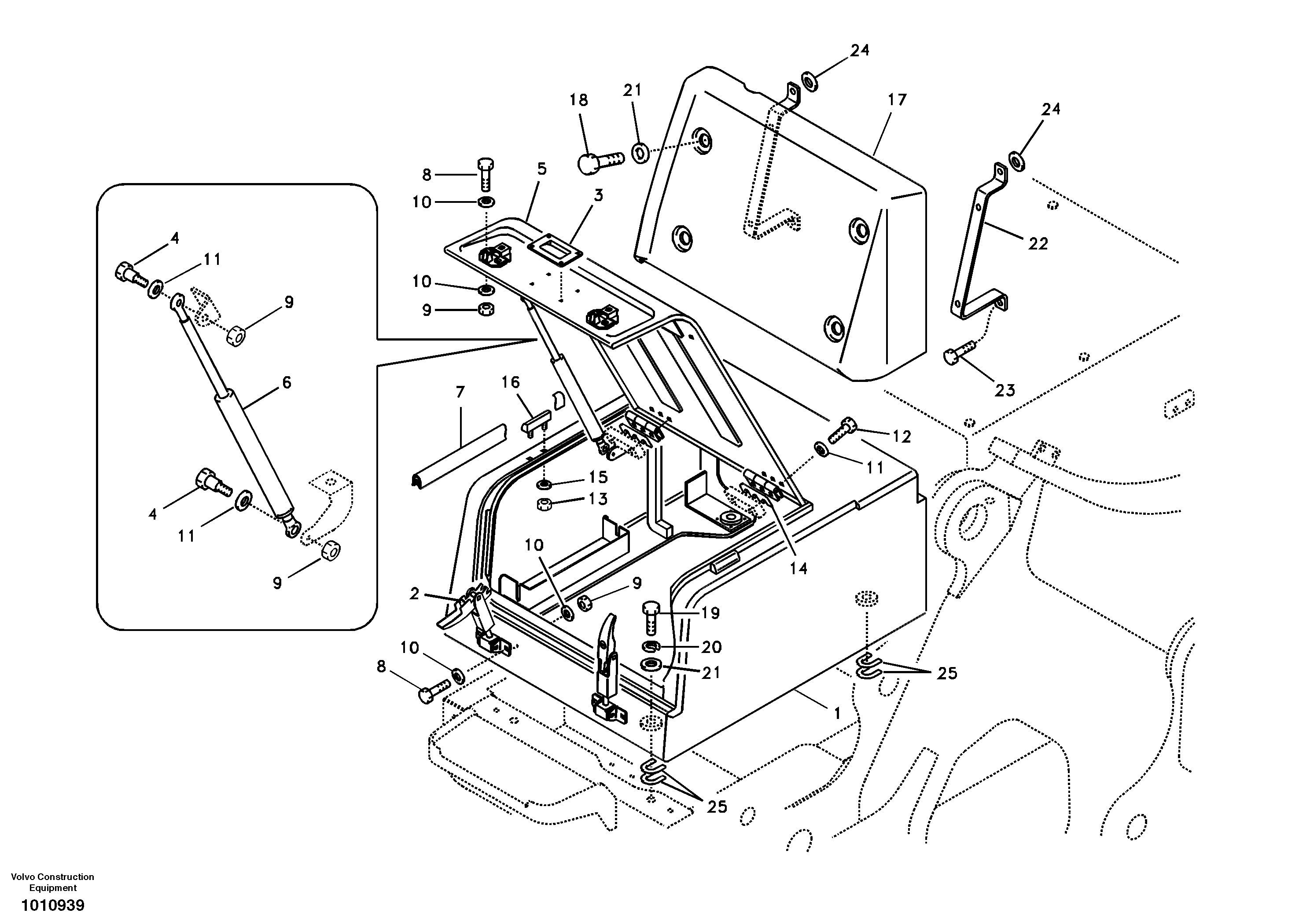
Запчасти Volvo EC160B 13382 Tool box, cowl EC160B

Схема запчастей Volvo EC160B - 13382 Tool box, cowl EC160B
FIT
1:1
100%

Артикул

Название

Примечание

Количество

VOE 14521944

Cushion

SER NO 10140-

1шт.

VOE 14521944

Cushion

SER NO 10140-

1шт.

VOE 14520745

Крышка

SER NO 10024-

1шт.

VOE 14542980

Body

SER NO 11093-

1шт.

VOE 14521945

Catch

SER NO 10140-

1шт.

VOE 14521945

Catch

SER NO 10140-

1шт.

VOE 14525566

Door

SER NO 10262-11092

1шт.

VOE 14525566

Door

SER NO 10262-11092

1шт.

VOE 14542981

Door

SER NO 11093-11577

1шт.

VOE 14542981

Door

SER NO 11093-11577

1шт.

VOE 14562342

Door

SER NO 11578-

1шт.

VOE 14517935

Tool box

SER NO 10001-10261

1шт.

VOE 14542979

Tool box

SER NO 11093-11577

1шт.

VOE 14562341

Tool box

SER NO 11578-

1шт.

1

VOE 14517936

Body

SER NO 10001-11092

1шт.

10

SA 9211-08000

Шайба

1шт.

10

SA 9211-08000

Шайба

1шт.

11

SA 9211-10000

Шайба

1шт.

11

SA 9211-10000

Шайба

1шт.

12

VOE 983252

Винт шестигранник

1шт.

12

VOE 983252

Винт шестигранник

1шт.

13

SA 9131-10500

Jam nut

1шт.

13

SA 9131-10500

Jam nut

1шт.

14

VOE 14881061

Прокладка

1шт.

14

VOE 14881061

Прокладка

1шт.

15

SA 9211-05000

Шайба

1шт.

16

VOE 14513997

Cushion

SER NO 10001-10139

1шт.

17

VOE 14504890

Крышка

SER NO 10001-10023

1шт.

18

VOE 978932

Болт

1шт.

18

VOE 978932

Винт шестигранник

1шт.

19

SA 9011-21211

Болт

1шт.

2

VOE 14508835

Catch

SER NO 10001-10139

1шт.

20

VOE 955923

Шайба пружинная

1шт.

20

VOE 955923

Шайба пружинная

1шт.

21

VOE 14522862

Шайба

1шт.

21

VOE 14522862

Шайба

1шт.

22

VOE 14513034

Опора

1шт.

23

VOE 946329

Flange screw

1шт.

23

VOE 946329

Flange screw

1шт.

24

VOE 960148

Шайба

1шт.

24

VOE 960148

Шайба

1шт.

25

VOE 14881064

Прокладка

SER NO 10140-

1шт.

25

VOE 14881064

Прокладка

SER NO 10140-

1шт.

3

VOE 14508837

Handle

SER NO 10001-11577

1шт.

3

VOE 14508837

Handle

SER NO 10001-11577

1шт.

4

VOE 14527463

Болт

1шт.

4

VOE 14527463

Болт

1шт.

5

VOE 14517937

Door

SER NO 10001-10261

1шт.

5

VOE 14517937

Door

SER NO 10001-10261

1шт.

6

VOE 14507978

Gas Spring

1шт.

7

VOE 14880939

Weatherstrip

SER NO 10341-11577

1шт.

7

VOE 14880939

Weatherstrip

SER NO 10341-11577

1шт.

8

VOE 983244

Винт шестигранник

1шт.

8

VOE 983244

Винт шестигранник

1шт.

9

VOE 14880450

Гайка

1шт.

9

VOE 14880450

Nut

1шт.

Выбрано товаров: 0