Запчасти Volvo EC160B 8070 Картер маховика EC160B

Схема запчастей Volvo EC160B - 8070 Картер маховика EC160B
FIT
1:1
100%

Артикул

Название

Примечание

Количество

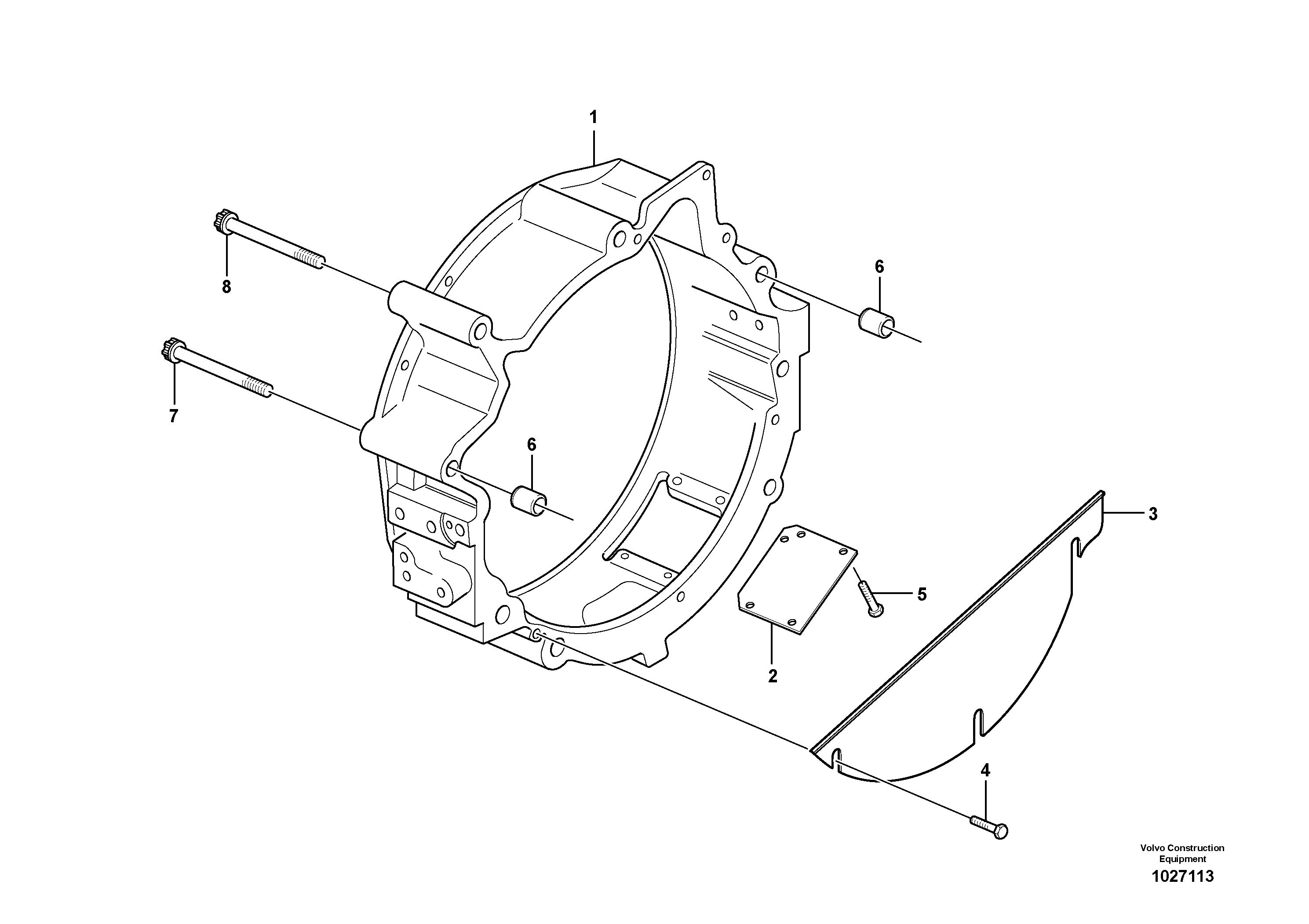
1

VOE 20744652

Картер маховика

ENG - 01099408

1шт.

1

VOE 21044436

Картер маховика

ENG 01099409 -

1шт.

2

VOE 20547288

Шайба

1шт.

3

VOE 20459989

Крышка

1шт.

3

VOE 20459989

Крышка

1шт.

4

VOE 20405729

Болт

1шт.

4

VOE 20405729

Болт

1шт.

5

VOE 20405729

Болт

1шт.

5

VOE 20405729

Болт

1шт.

6

VOE 20585971

Втулка

1шт.

7

VOE 20459996

Болт

1шт.

7

VOE 20459996

Болт

1шт.

8

VOE 20459995

Болт

1шт.

8

VOE 20459995

Болт

1шт.

Выбрано товаров: 0