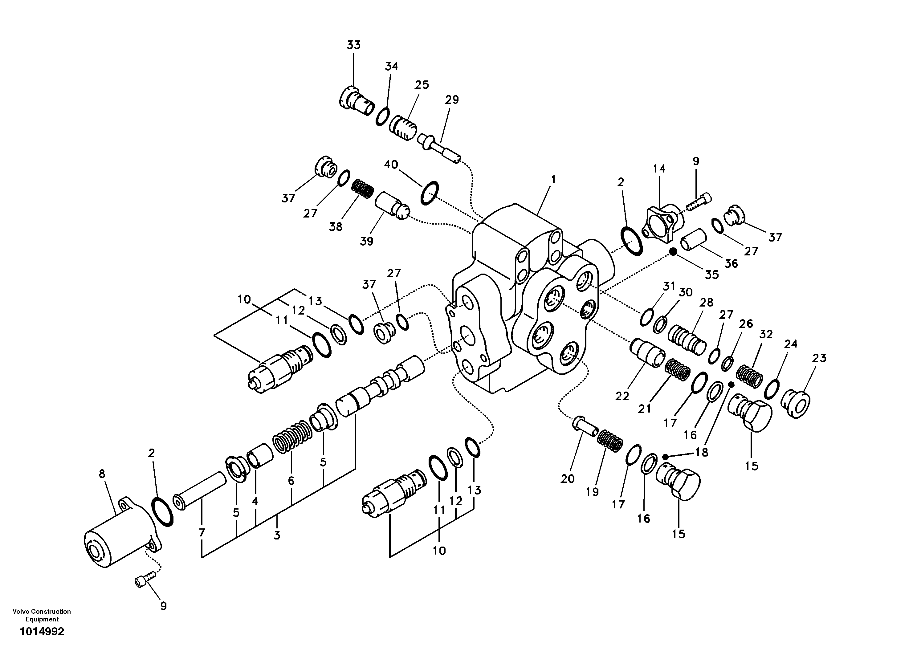
Запчасти Volvo EC160B 45718 Working hydraulic, adjustable boom control valve EC160B

Схема запчастей Volvo EC160B - 45718 Working hydraulic, adjustable boom control valve EC160B
FIT
1:1
100%

Артикул

Название

Примечание

Количество

VOE 14531144

Клапан

1шт.

1

VOE 14500401

Картер (корпус)

1шт.

10

VOE 14500406

Клапан предохранительный (разгрузочный, сброса давления)

1шт.

10

VOE 14500406

Клапан предохранительный (разгрузочный, сброса давления)

1шт.

100

VOE 14500413

Sealing Kit

1шт.

11

SA 8230-00400

Кольцо уплотнительное (О-кольцо)

1шт.

12

SA 9566-10160

Кольцо

1шт.

13

VOE 983507

Кольцо уплотнительное (О-кольцо)

1шт.

13

VOE 983507

Кольцо уплотнительное (О-кольцо)

1шт.

14

VOE 14500407

Крышка

1шт.

15

VOE 14500408

Cap

1шт.

16

SA 9566-1022A

Кольцо

1шт.

16

SA 9566-1022A

Кольцо

1шт.

17

VOE 983523

Кольцо уплотнительное (О-кольцо)

1шт.

17

VOE 983523

Кольцо уплотнительное (О-кольцо)

1шт.

18

SA 8230-02880

Lock Plug

1шт.

19

SA 8230-10360

Пружина

1шт.

2

VOE 990569

Кольцо уплотнительное (О-кольцо)

1шт.

2

VOE 990569

Кольцо уплотнительное (О-кольцо)

1шт.

20

SA 8230-11210

Клапан обратный

1шт.

21

SA 7273-10580

Пружина

1шт.

22

SA 8230-11300

Poppet

1шт.

23

SA 8230-37030

Cap

1шт.

24

VOE 990557

Кольцо уплотнительное (О-кольцо)

1шт.

24

VOE 990557

Кольцо уплотнительное (О-кольцо)

1шт.

25

VOE 14500409

Поршень

1шт.

26

VOE 14880812

Кольцо

1шт.

26

VOE 14880812

Кольцо

1шт.

27

VOE 983495

Кольцо уплотнительное (О-кольцо)

1шт.

27

VOE 983495

Кольцо уплотнительное (О-кольцо)

1шт.

28

SA 8230-35950

Втулка (распорная)

1шт.

29

SA 8230-35870

Poppet

1шт.

3

VOE 14501638

Plunger

1шт.

30

VOE 14880814

Кольцо

1шт.

30

VOE 14880814

Кольцо

1шт.

31

VOE 983497

Кольцо уплотнительное (О-кольцо)

1шт.

31

VOE 983497

Кольцо уплотнительное (О-кольцо)

1шт.

32

SA 8230-36080

Пружина

1шт.

32

SA 8230-36080

Пружина

1шт.

33

SA 8230-35970

Cap

1шт.

34

VOE 983505

Кольцо уплотнительное (О-кольцо)

1шт.

34

VOE 983505

Кольцо уплотнительное (О-кольцо)

1шт.

35

VOE 14880995

Ball

1шт.

35

VOE 14880995

Ball

1шт.

36

VOE 14500410

Сальник

1шт.

37

SA 8230-01150

Cap

1шт.

37

SA 8230-01150

Cap

1шт.

38

VOE 14500411

Пружина

1шт.

39

VOE 14500412

Клапан обратный

1шт.

4

VOE 14500403

Вставка

1шт.

40

VOE 990756

Кольцо уплотнительное

1шт.

5

VOE 14500404

Guide

1шт.

6

VOE 14500405

Пружина

1шт.

7

SA 8230-11690

Cap

1шт.

8

SA 8230-10460

Крышка

1шт.

9

SA 8230-23010

Болт

1шт.

9

SA 8230-23010

Болт

1шт.

Выбрано товаров: 0