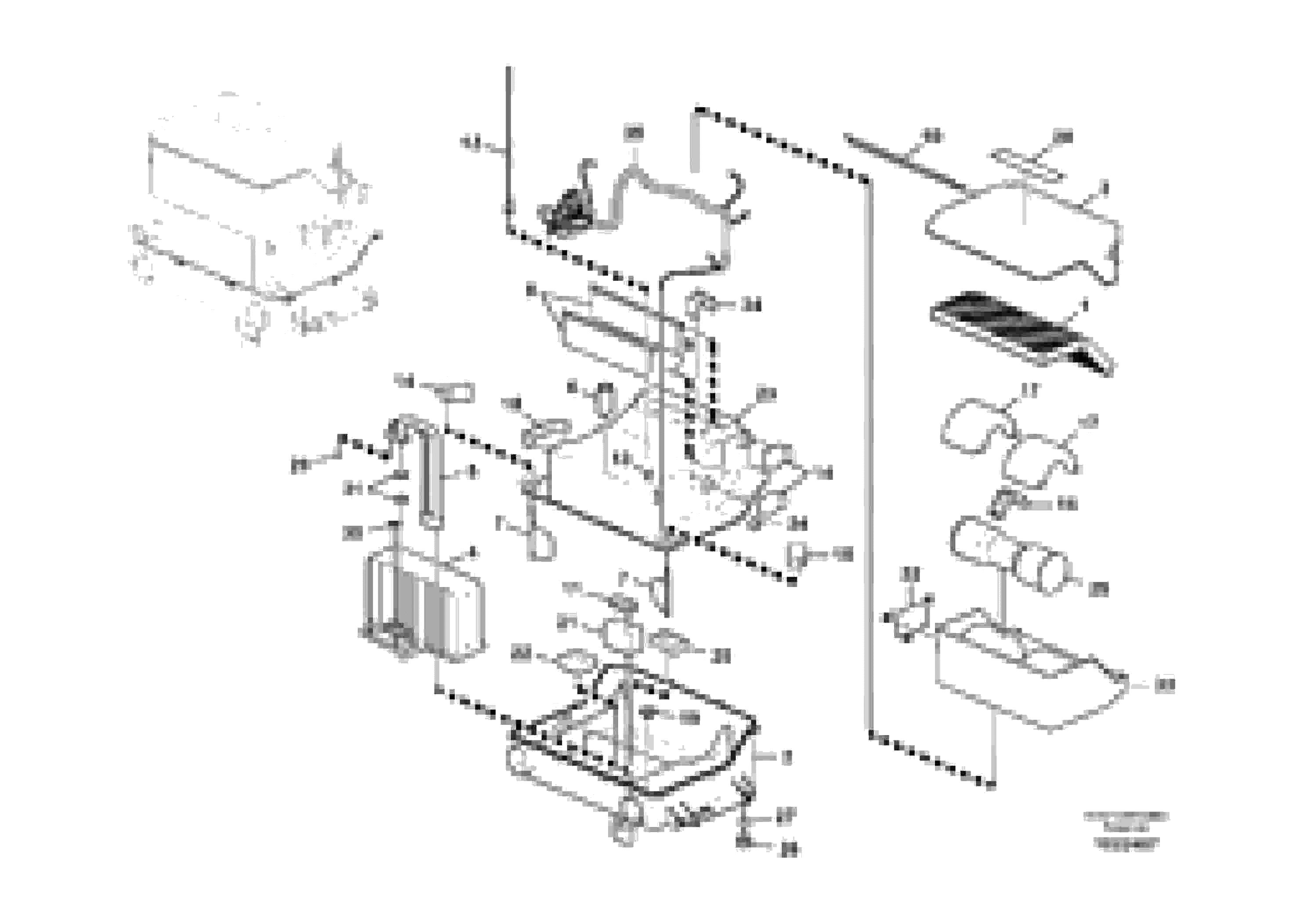
Запчасти Volvo EC160C 102747 Air conditioning unit, cooling and heater EC160C

Схема запчастей Volvo EC160C - 102747 Air conditioning unit, cooling and heater EC160C
FIT
1:1
100%

Артикул

Название

Примечание

Количество

VOE 14545469

Air Cond

1шт.

1

VOE 14506997

Фильтр топливный

1шт.

1

VOE 14506997

Фильтр топливный

1шт.

10

VOE 14509342

Door

1шт.

10

VOE 14509342

Door

1шт.

11

VOE 14509343

Уплотнительная втулка

1шт.

12

VOE 14509344

Sensor

1шт.

12

VOE 14509344

Sensor

1шт.

13

VOE 14509345

Скоба (хомут)

1шт.

14

VOE 14509346

Актуатор

1шт.

14

VOE 14509346

Актуатор

1шт.

15

VOE 14509348

Актуатор

1шт.

15

VOE 14509348

Актуатор

1шт.

16

VOE 14509351

Guide

1шт.

16

VOE 14509351

Guide

1шт.

17

VOE 14509352

Case

1шт.

18

VOE 14509358

Опора

1шт.

19

VOE 14509361

Уплотнительная втулка

1шт.

19

VOE 14509361

Уплотнительная втулка

1шт.

2

VOE 14585933

Case

1шт.

20

VOE 14509365

Упаковка

1шт.

20

VOE 14509365

Прокладка

1шт.

21

VOE 14509366

Упаковка

1шт.

22

VOE 14509367

Прокладка

1шт.

23

VOE 14509374

Door

1шт.

23

VOE 14509374

Door

1шт.

24

VOE 14509531

Уплотнительная втулка

1шт.

25

VOE 14576774

Blower motor

1шт.

26

VOE 14514720

Втулка

1шт.

26

VOE 14514720

Держатель

1шт.

27

VOE 14515454

Трубка

1шт.

27

VOE 14515454

Трубка

1шт.

28

VOE 14519903

Decal

1шт.

29

VOE 14529050

Кольцо уплотнительное (О-кольцо)

1шт.

29

VOE 14529050

Кольцо уплотнительное (О-кольцо)

1шт.

3

VOE 14509328

Cover

1шт.

3

VOE 14509328

Крышка

1шт.

30

VOE 14529051

Кольцо уплотнительное (О-кольцо)

1шт.

30

VOE 14529051

Кольцо уплотнительное (О-кольцо)

1шт.

31

VOE 14529052

Кольцо уплотнительное (О-кольцо)

1шт.

31

VOE 14529052

Кольцо уплотнительное (О-кольцо)

1шт.

32

VOE 14545471

Кронштейн

1шт.

33

VOE 14545472

Case

1шт.

34

VOE 14545473

Кронштейн

1шт.

35

VOE 14547917

Wire harness

1шт.

36

VOE 14547918

Case

1шт.

4

VOE 14509329

Система охлаждения

1шт.

5

VOE 14509330

Pipe line

1шт.

6

VOE 14509331

Expansion valve

1шт.

7

VOE 14509336

Door

1шт.

7

VOE 14509336

Door

1шт.

8

VOE 14509340

Door

1шт.

8

VOE 14509340

Door

1шт.

9

VOE 14509341

Lever

1шт.

Выбрано товаров: 54