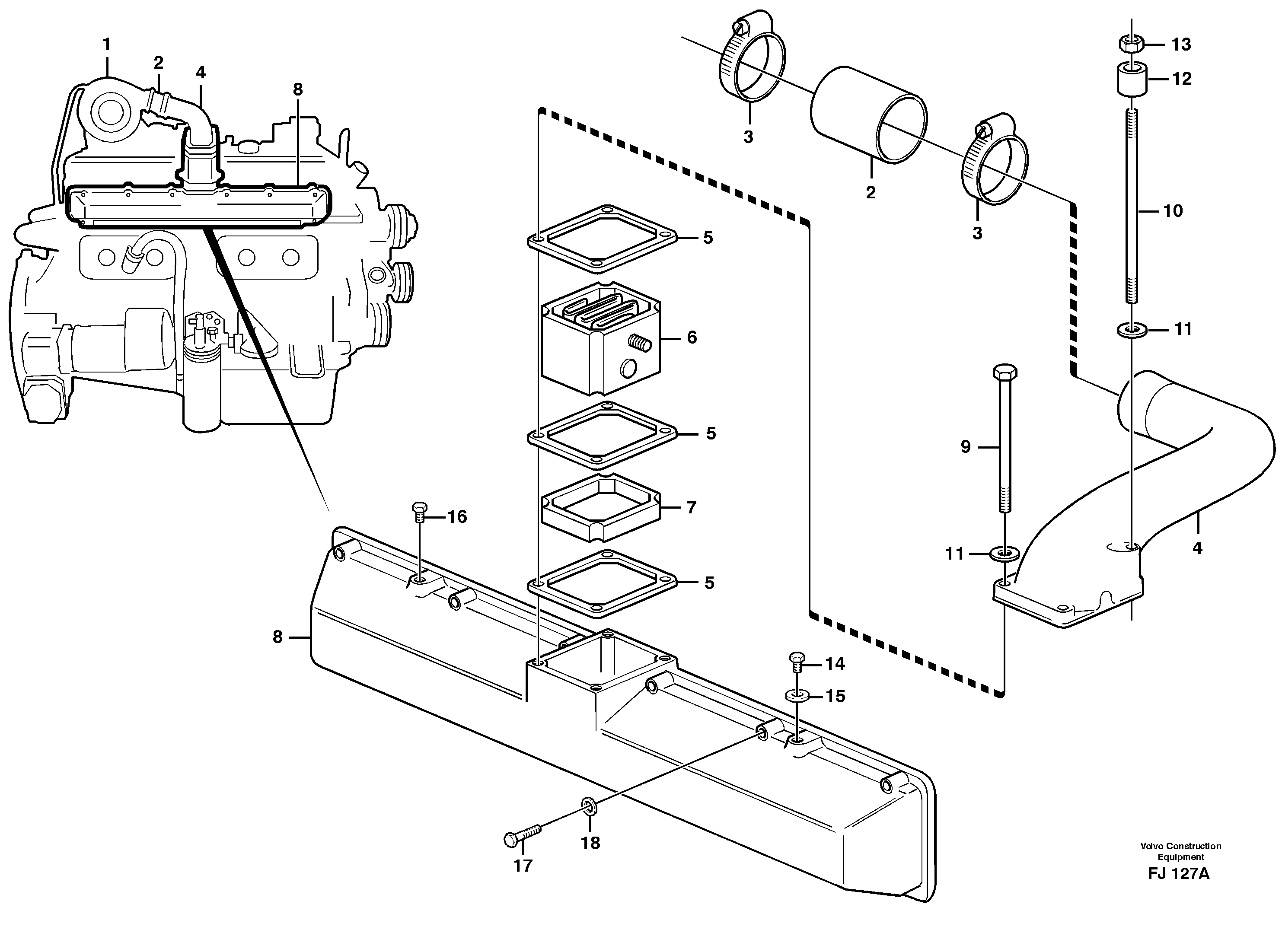
Запчасти Volvo EC200 71888 Induction manifold with fitting parts EC200 ?KERMAN ?KERMAN EC200

Схема запчастей Volvo EC200 - 71888 Induction manifold with fitting parts EC200 ?KERMAN ?KERMAN EC200
FIT
1:1
100%

Артикул

Название

Примечание

Количество

VOE 968303

Винт шестигранник

L = 190

1шт.

1

VOE 864493

Турбокомпрессор (турбина)

1шт.

10

VOE 942283

Шпилька

1шт.

11

VOE 13955894

Шайба

(955894)

1шт.

11

VOE 13955894

Шайба

(955894)

1шт.

12

VOE 847150

Spacer sleeve

1шт.

13

VOE 955782

Hexagon nut

1шт.

13

VOE 955782

Hexagon nut

1шт.

14

VOE 960629

Пробка (заглушка)

1шт.

14

VOE 960629

Пробка (заглушка)

1шт.

15

VOE 13947282

Прокладка

(947282)

1шт.

15

VOE 13947282

Прокладка

(947282)

1шт.

16

VOE 479979

Пробка (заглушка)

1шт.

17

VOE 13965180

Screw

(965180)

1шт.

17

VOE 13965180

Болт

(965180)

1шт.

18

VOE 13941907

Шайба пружинная

(941907)

1шт.

18

VOE 13941907

Шайба

(941907)

1шт.

2

VOE 847385

Шланг

1шт.

3

VOE 943479

Hose clamp

1шт.

4

VOE 465251

Трубка

1шт.

5

VOE 471682

Прокладка

1шт.

5

VOE 471682

Прокладка

1шт.

6

VOE 471878

Starter element

1шт.

6

VOE 471878

Starter element

1шт.

7

VOE 848534

Вставка

1шт.

8

VOE 420509

Inlet pipe

1шт.

9

VOE 13955311

Болт

L = 140

1шт.

9

VOE 13955311

Болт

L = 140

1шт.

Выбрано товаров: 28