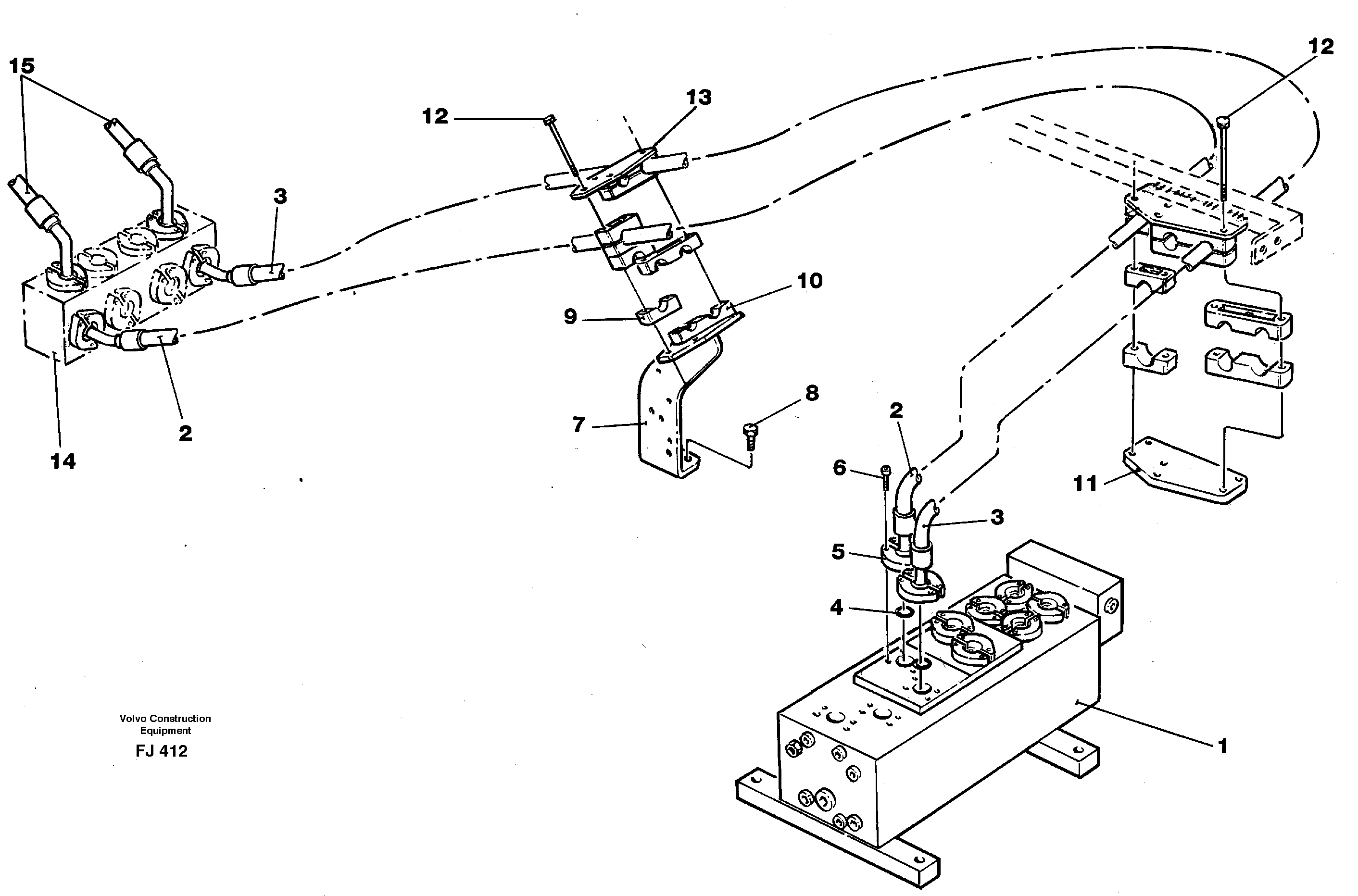
Запчасти Volvo EC200 33327 Hydraulic system, bucket EC200 ?KERMAN ?KERMAN EC200

Схема запчастей Volvo EC200 - 33327 Hydraulic system, bucket EC200 ?KERMAN ?KERMAN EC200
FIT
1:1
100%

Артикул

Название

Примечание

Количество

10

VOE 14047780

Hose retainer

1шт.

10

VOE 14047780

Hose retainer

1шт.

11

VOE 14255389

Шайба

1шт.

11

VOE 14255389

Шайба

1шт.

12

VOE 14103041

Болт

1шт.

12

VOE 14103041

Болт

1шт.

13

VOE 14255385

Шайба

1шт.

15

VOE 14048179

Hydraulic Hose

1шт.

15

VOE 14048179

Hydraulic Hose

1шт.

2

VOE 14055011

Hydraulic Hose

1шт.

2

VOE 14055011

Hydraulic Hose

1шт.

3

VOE 14048177

Hydraulic Hose

1шт.

3

VOE 14048177

Hydraulic Hose

1шт.

4

VOE 14215715

Кольцо уплотнительное

1шт.

4

VOE 14215715

Кольцо уплотнительное

1шт.

5

VOE 935312

Flange Half

1шт.

5

VOE 935312

Flange Half

1шт.

6

VOE 959257

Allen Hd Screw

1шт.

7

VOE 14255350

Hose retainer

1шт.

7

VOE 14255350

Hose retainer

1шт.

8

VOE 13970947

Винт шестигранник

1шт.

8

VOE 13970947

Винт шестигранник

1шт.

9

VOE 14236150

Hose retainer

1шт.

9

VOE 14236150

Hose retainer

1шт.

Выбрано товаров: 24