Запчасти Volvo EC200 46020 Anticavitation valve EC200 ?KERMAN ?KERMAN EC200

Схема запчастей Volvo EC200 - 46020 Anticavitation valve EC200 ?KERMAN ?KERMAN EC200
FIT
1:1
100%

Артикул

Название

Примечание

Количество

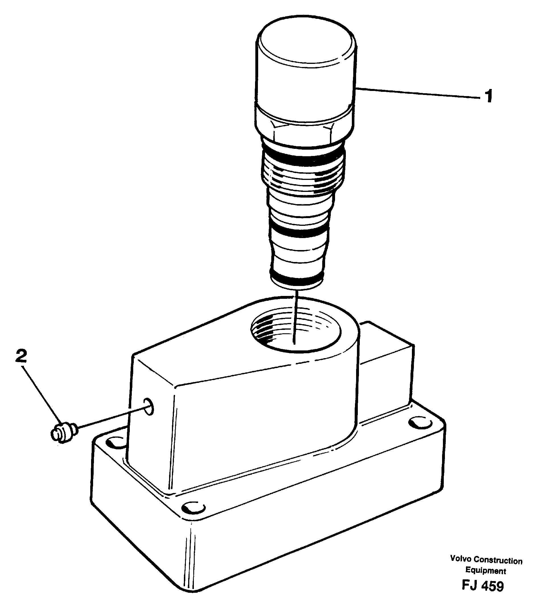
VOE 14231726

Refilling Valve

1шт.

VOE 14231728

Peg

SER NO -2511

1шт.

1

VOE 14231727

Картер (корпус)

1шт.

2

VOE 14341285

Peg

SER NO 2512-

1шт.

3

VOE 14231730

Compression spring

1шт.

3

VOE 14231730

Compression spring

1шт.

4

VOE 925059

Кольцо уплотнительное (О-кольцо)

1шт.

4

VOE 925059

Кольцо уплотнительное (О-кольцо)

1шт.

5

VOE 14341284

14341284

1шт.

Выбрано товаров: 9