Запчасти Volvo EC200 37001 Control pressure valve EC200 SER NO 2760-

Схема запчастей Volvo EC200 - 37001 Control pressure valve EC200 SER NO 2760-
FIT
1:1
100%

Артикул

Название

Примечание

Количество

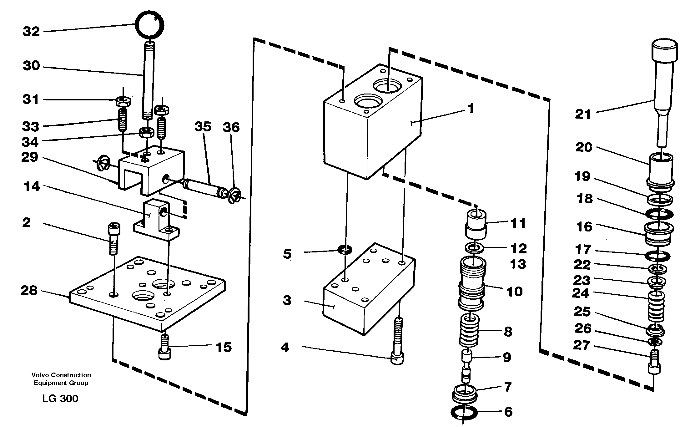
VOE 14245784

Lever Valve

1шт.

1

VOE 14242287

Картер (корпус)

1шт.

10

VOE 14252220

Slide

1шт.

11

VOE 14247297

Вставка

1шт.

12

VOE 14024260

Прокладка

THICK=0,2

1шт.

13

VOE 14024261

Прокладка

THICK=1,0

1шт.

14

VOE 14243100

Attachment

1шт.

15

VOE 14023235

Болт

1шт.

15

VOE 14023235

Болт

1шт.

16

VOE 14055259

Втулка

1шт.

17

VOE 925057

Кольцо уплотнительное (О-кольцо)

(14012264)

1шт.

17

VOE 925057

Кольцо уплотнительное (О-кольцо)

(14012264)

1шт.

18

VOE 14012261

Кольцо уплотнительное (О-кольцо)

1шт.

18

VOE 14012261

Кольцо уплотнительное (О-кольцо)

1шт.

19

VOE 14025586

Sliding sleeve

1шт.

19

VOE 14025586

Sliding sleeve

1шт.

2

VOE 14023237

Болт

1шт.

2

VOE 14023237

Болт

1шт.

20

VOE 14242250

Втулка

1шт.

21

VOE 14053896

Pressure Pin

1шт.

22

VOE 955893

Шайба

1шт.

22

VOE 955893

Шайба

1шт.

23

VOE 14244431

Шайба

1шт.

24

VOE 14245906

Compression spring

1шт.

25

VOE 14244432

Шайба

1шт.

26

VOE 14213344

Шайба

1шт.

27

VOE 14024262

Болт

1шт.

28

VOE 14245386

14245386

1шт.

29

VOE 14244421

Fork

1шт.

3

VOE 14242289

Крышка

1шт.

30

VOE 14244422

14244422

1шт.

31

VOE 14015039

Гайка

1шт.

31

VOE 14015039

Гайка

1шт.

32

VOE 940344

Handle ball

1шт.

32

VOE 940344

Handle ball

1шт.

33

VOE 14212867

Pressure Screw

1шт.

34

VOE 14015039

Гайка

1шт.

34

VOE 14015039

Гайка

1шт.

35

VOE 14243102

14243102

1шт.

36

VOE 951668

Retaining ring

1шт.

36

VOE 951668

Retaining ring

1шт.

4

VOE 959208

Allen Hd Screw

1шт.

5

VOE 925053

Кольцо уплотнительное (О-кольцо)

1шт.

5

VOE 925053

Кольцо уплотнительное (О-кольцо)

1шт.

6

VOE 14102174

Кольцо уплотнительное (О-кольцо)

1шт.

7

VOE 14048973

Шайба

1шт.

8

VOE 14212836

Compression spring

1шт.

9

VOE 14241246

Aux Piston

1шт.

Выбрано товаров: 48