Запчасти Volvo EC210 5696 Working hydraulic, hammer and shear for upper EC210

Схема запчастей Volvo EC210 - 5696 Working hydraulic, hammer and shear for upper EC210
FIT
1:1
100%

Артикул

Название

Примечание

Количество

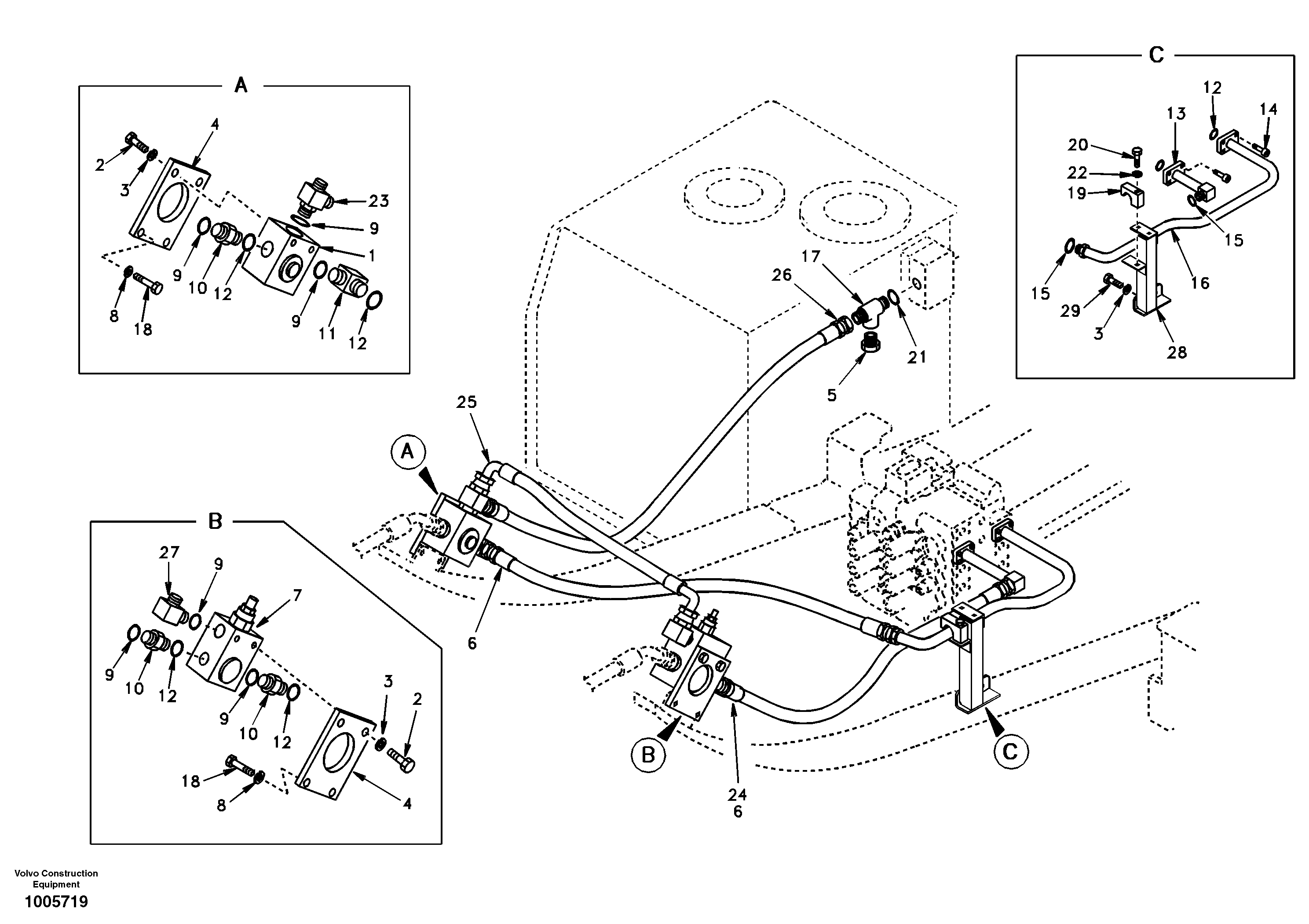
SA 9401-06616

Шланг

SER NO 3148-

1шт.

1

SA 1074-09571

Клапан

1шт.

10

SA 9419-11090

Соединитель

1шт.

10

SA 9419-11090

Соединитель

1шт.

11

SA 9419-21050

Elbow nipple

1шт.

11

SA 9419-21050

Elbow nipple

1шт.

12

SA 9512-02021

Кольцо уплотнительное (О-кольцо)

1шт.

13

SA 1142-07840

Трубка

1шт.

14

SA 9016-11008

Болт

1шт.

15

SA 9512-02219

Кольцо уплотнительное (О-кольцо)

1шт.

16

SA 1142-08931

Трубка

1шт.

17

SA 9411-96070

Tee

1шт.

18

SA 9011-11208

Болт

1шт.

19

SA 9372-43435

Зажим

1шт.

2

SA 9011-21016

Болт

1шт.

20

SA 9011-21615

Болт

1шт.

20

SA 9011-21615

Винт шестигранник

1шт.

21

SA 9511-12038

Кольцо уплотнительное (О-кольцо)

1шт.

22

SA 9213-16000

Шайба пружинная

1шт.

23

SA 9411-92390

Tee

1шт.

24

SA 9401-06617

Шланг

SER NO 3001-3147

1шт.

25

SA 9455-06315

Шланг

1шт.

26

SA 9452-06322

Шланг

1шт.

27

SA 9413-11050

Elbow

1шт.

27

SA 9413-11050

Elbow

1шт.

28

SA 1142-07911

Кронштейн

1шт.

29

SA 9011-11007

Болт

1шт.

29

SA 9011-11007

Болт

1шт.

3

SA 9213-10000

Шайба пружинная

1шт.

4

SA 1142-07721

Кронштейн

1шт.

5

SA 9411-91920

Пробка (заглушка)

1шт.

6

SA 9401-06616

Шланг

SER NO 3001-3147

1шт.

7

SA 1074-09590

Клапан

1шт.

8

SA 9213-12000

Шайба пружинная

1шт.

9

SA 9511-12029

Кольцо уплотнительное (О-кольцо)

1шт.

Выбрано товаров: 35