Запчасти Volvo EC210 33176 Ковш EC210

Схема запчастей Volvo EC210 - 33176 Ковш EC210
FIT
1:1
100%

Артикул

Название

Примечание

Количество

SA 1171-80051

Ковш

GP 1,10 CU M,SAE

1шт.

SA 1171-80091

Ковш

1шт.

SA 1171-89510

Адаптер

1шт.

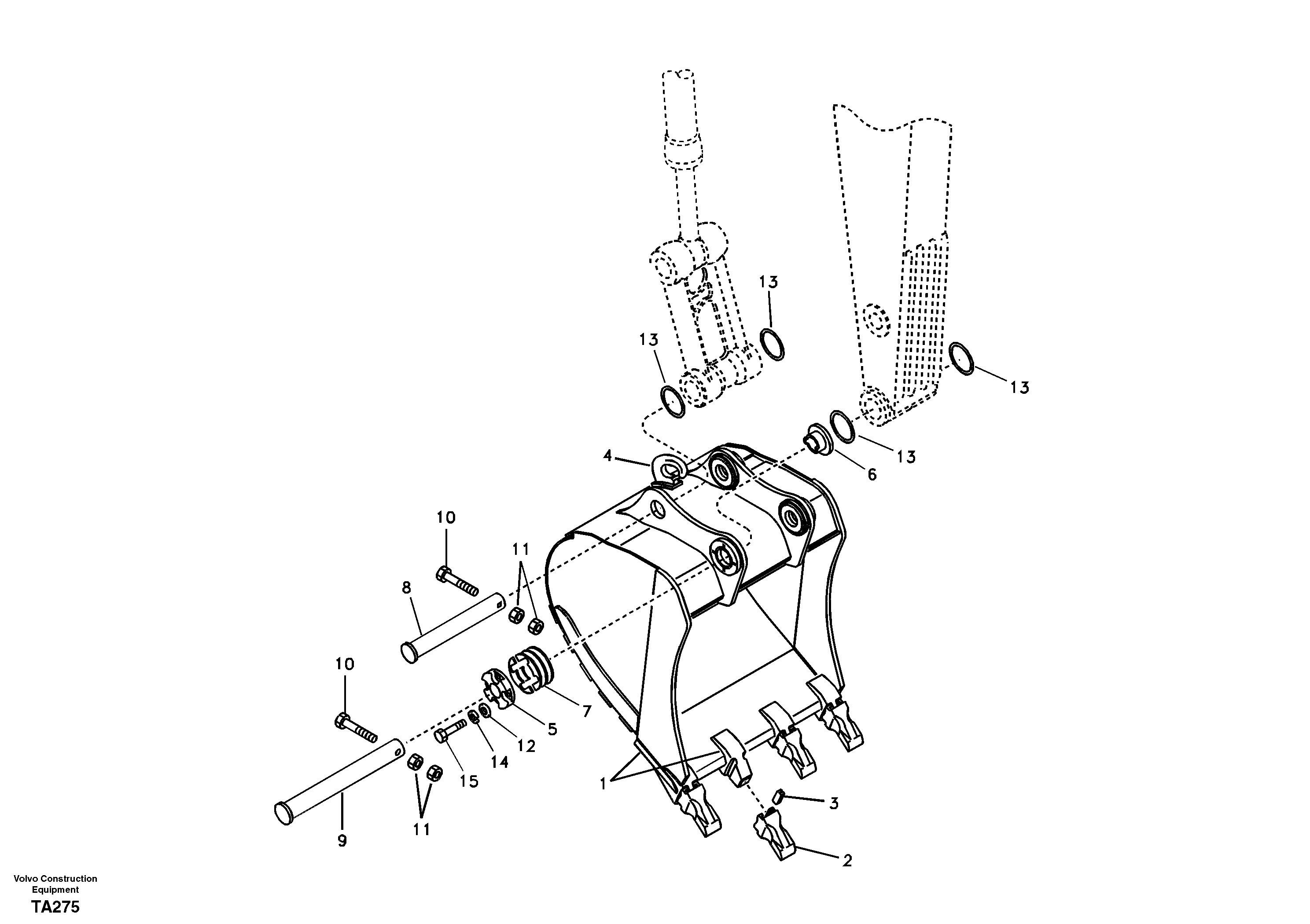
1

SA 1171-80011

Ковш

GP 0,95 CU M,SAE

1шт.

10

SA 9011-21623

Болт

1шт.

10

SA 9011-21623

Винт шестигранник

1шт.

11

SA 9111-11600

Гайка

1шт.

12

SA 9211-16000

Шайба

1шт.

13

SA 9524-00127

Кольцо

1шт.

14

SA 9213-16000

Шайба пружинная

1шт.

15

SA 9011-11614

Болт

1шт.

2

SA 1171-89520

Зуб ковша

1шт.

3

SA 1171-89530

Палец

1шт.

4

SA 1171-75310

Hook

1шт.

5

SA 1172-00251

Крышка

1шт.

6

SA 1172-00261

Втулка

1шт.

7

SA 1070-61272

Прокладка

1шт.

8

SA 1172-06910

Палец

1шт.

9

SA 1172-06990

Палец

1шт.

Выбрано товаров: 19