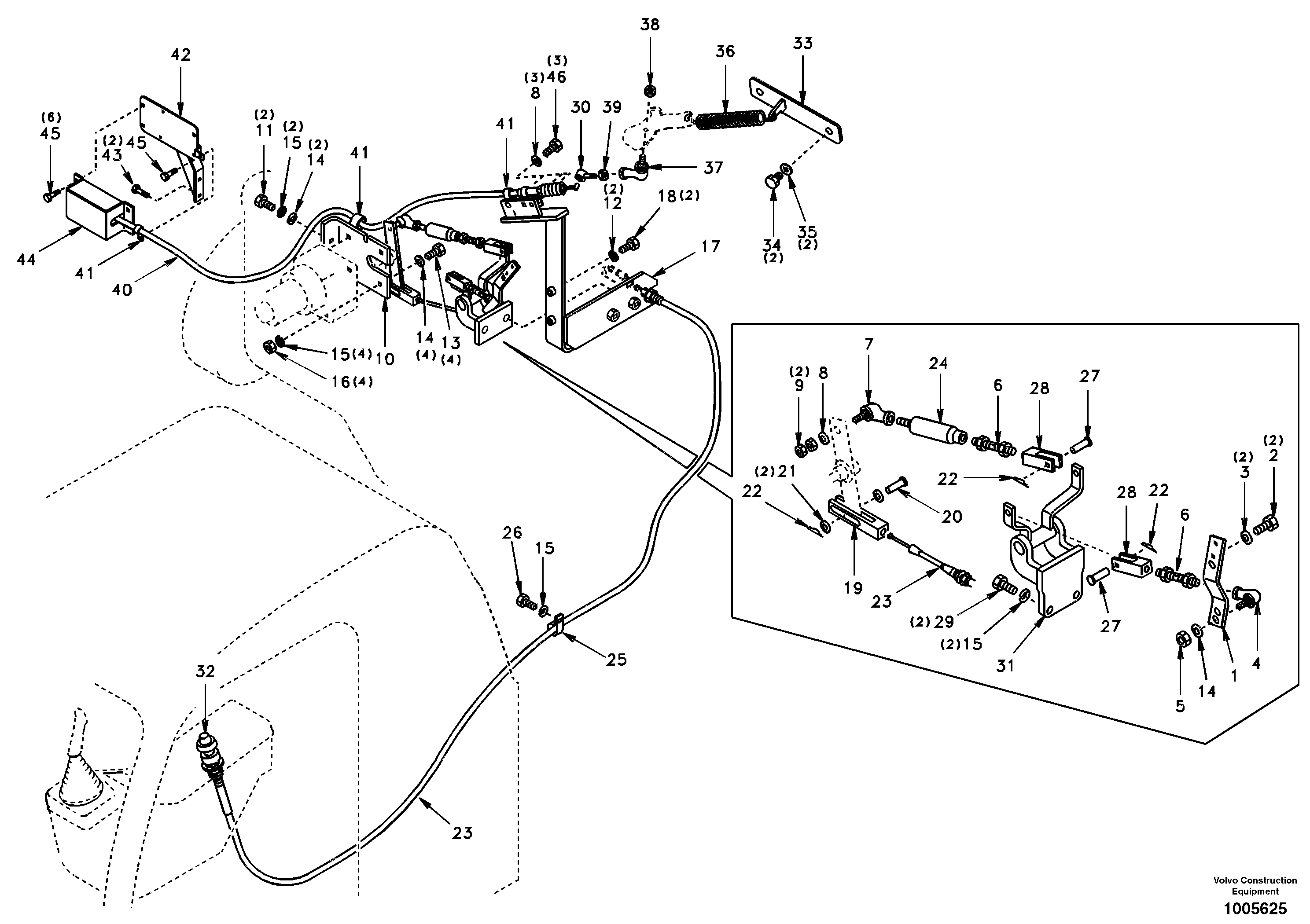
Запчасти Volvo EC210 47482 Speed control EC210

Схема запчастей Volvo EC210 - 47482 Speed control EC210
FIT
1:1
100%

Артикул

Название

Примечание

Количество

SA 9211-08000

Шайба

SER NO 4257-

1шт.

SA 9211-08000

Шайба

SER NO 4257-

1шт.

VOE 14504562

Пружина

SER NO 3506-

1шт.

VOE 14504562

Пружина

SER NO 3506-

1шт.

SA 9211-10000

Шайба

SER NO 4090-

1шт.

SA 9211-10000

Шайба

SER NO 4090-

1шт.

SA 9041-10602

Болт

SER NO 4257-

1шт.

1

SA 1118-00670

Lever

1шт.

10

SA 1118-01660

Кронштейн

1шт.

10

SA 1118-01660

Кронштейн

1шт.

11

SA 9011-11007

Болт

1шт.

11

SA 9011-11007

Болт

1шт.

12

SA 9213-12000

Шайба пружинная

1шт.

13

SA 9011-21015

Болт

1шт.

14

SA 9211-10000

Шайба

SER NO 3001-4089

1шт.

14

SA 9211-10000

Шайба

SER NO 3001-4089

1шт.

15

SA 9213-10000

Шайба пружинная

1шт.

16

SA 9111-11000

Гайка

1шт.

17

SA 1118-01710

Кронштейн

1шт.

18

SA 9011-11206

Болт

1шт.

19

SA 1118-00181

Вилка

1шт.

19

SA 1118-00181

Вилка

1шт.

2

SA 9011-10603

Болт

1шт.

2

SA 9011-10603

Болт

1шт.

20

SA 9321-20612

Clevis Pin

1шт.

21

SA 1118-01630

Шайба

1шт.

21

SA 1118-01630

Плоская шайба

1шт.

22

SA 9326-06000

Палец

1шт.

22

SA 9326-06000

Палец

1шт.

23

SA 1018-00680

Cable

1шт.

24

SA 1118-00280

Vibration damper

1шт.

24

SA 1118-00280

Демпфер

1шт.

25

SA 9315-01201

Скоба (хомут)

1шт.

26

SA 9011-11003

Болт

1шт.

27

SA 9321-20611

Clevis Pin

1шт.

28

SA 1118-00400

Вилка

1шт.

28

SA 1118-00400

Вилка

1шт.

29

SA 9011-11006

Болт

1шт.

3

SA 9211-06000

Шайба

1шт.

30

SA 1118-01590

Hook

1шт.

30

SA 1118-01590

Hook

1шт.

31

SA 1118-00550

Кронштейн

1шт.

31

SA 1118-00550

Кронштейн

1шт.

32

SA 1118-00650

Уплотнительная втулка

1шт.

32

SA 1118-00650

Уплотнительная втулка

1шт.

33

SA 1118-01440

Кронштейн

1шт.

34

SA 1118-01530

Болт

1шт.

34

SA 1118-01530

Болт

1шт.

35

SA 9211-16000

Шайба

1шт.

36

SA 1118-01620

Пружина

SER NO 3001-3505

1шт.

37

SA 9646-21060

Rod End

1шт.

38

SA 9131-10600

Lock nut

1шт.

39

SA 9111-10600

Гайка

1шт.

4

SA 9646-31100

Rod End

1шт.

40

SA 1122-03770

Motor

1шт.

41

SA 9315-00801

Скоба (хомут)

1шт.

41

SA 9315-00801

Insulating clip

1шт.

42

SA 1118-01560

Кронштейн

1шт.

43

SA 9041-11004

Болт

1шт.

44

SA 1118-01580

Крышка

1шт.

45

SA 9041-10804

Болт

1шт.

46

SA 9041-10602

Болт

SER NO 3001-4256

1шт.

5

SA 9111-31000

Гайка

1шт.

6

SA 1118-00231

Bar

1шт.

7

SA 9646-31080

Rod End

1шт.

8

SA 9211-08000

Шайба

SER NO 3001-4256

1шт.

8

SA 9211-08000

Шайба

SER NO 3001-4256

1шт.

9

SA 9111-10800

Гайка

1шт.

Выбрано товаров: 68