Запчасти Volvo EC210 35862 Battery with assembling details EC210

Схема запчастей Volvo EC210 - 35862 Battery with assembling details EC210
FIT
1:1
100%

Артикул

Название

Примечание

Количество

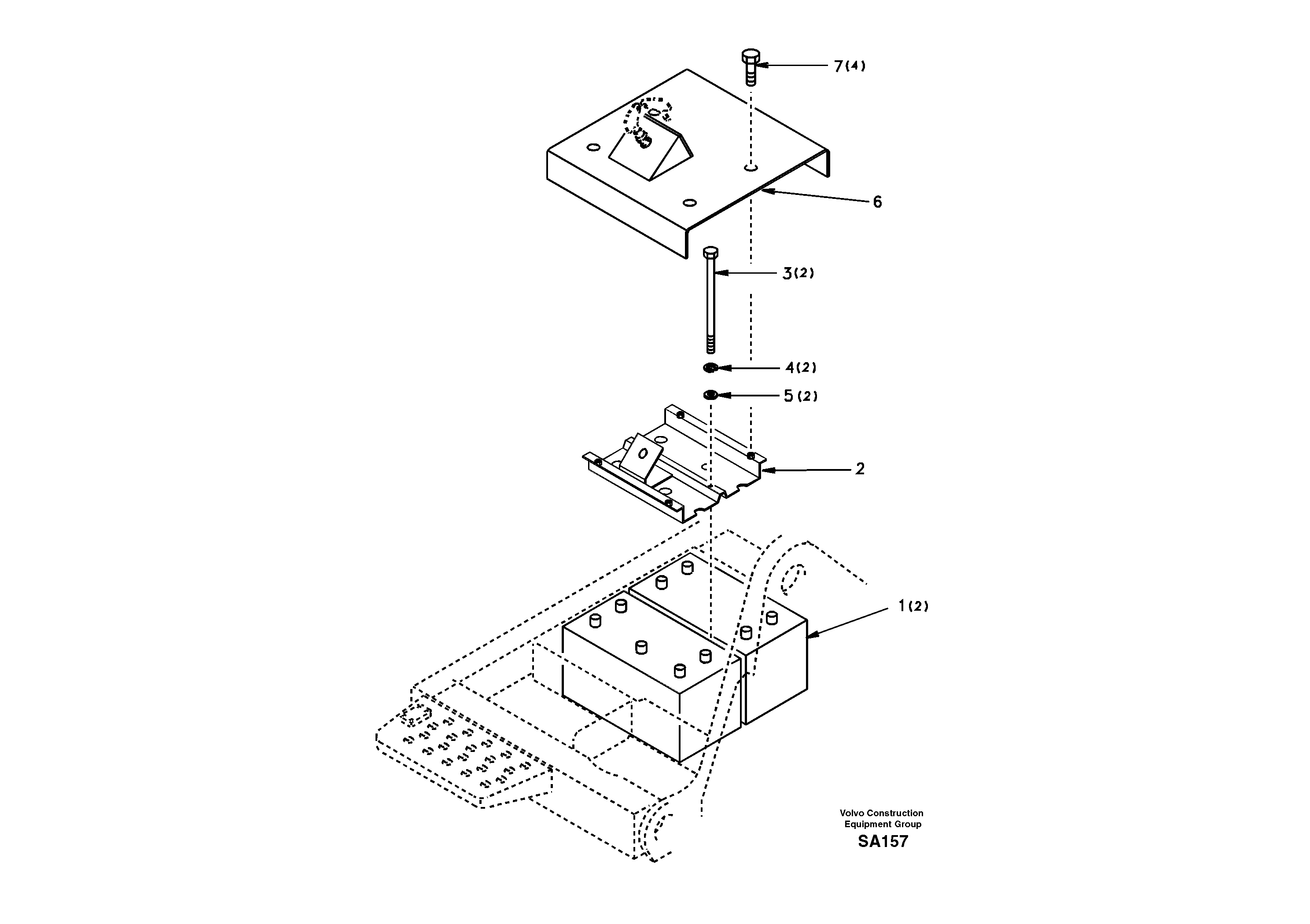
1

SA 9811-12150

Батарея аккумуляторная

1шт.

2

SA 1121-00351

Кронштейн

1шт.

3

SA 9011-21030

Винт шестигранник

1шт.

3

SA 9011-21030

Болт

1шт.

4

SA 9213-10000

Шайба пружинная

1шт.

5

SA 9211-10000

Шайба

1шт.

5

SA 9211-10000

Шайба

1шт.

6

SA 1121-00331

Крышка

1шт.

7

SA 9041-10804

Болт

1шт.

Выбрано товаров: 9