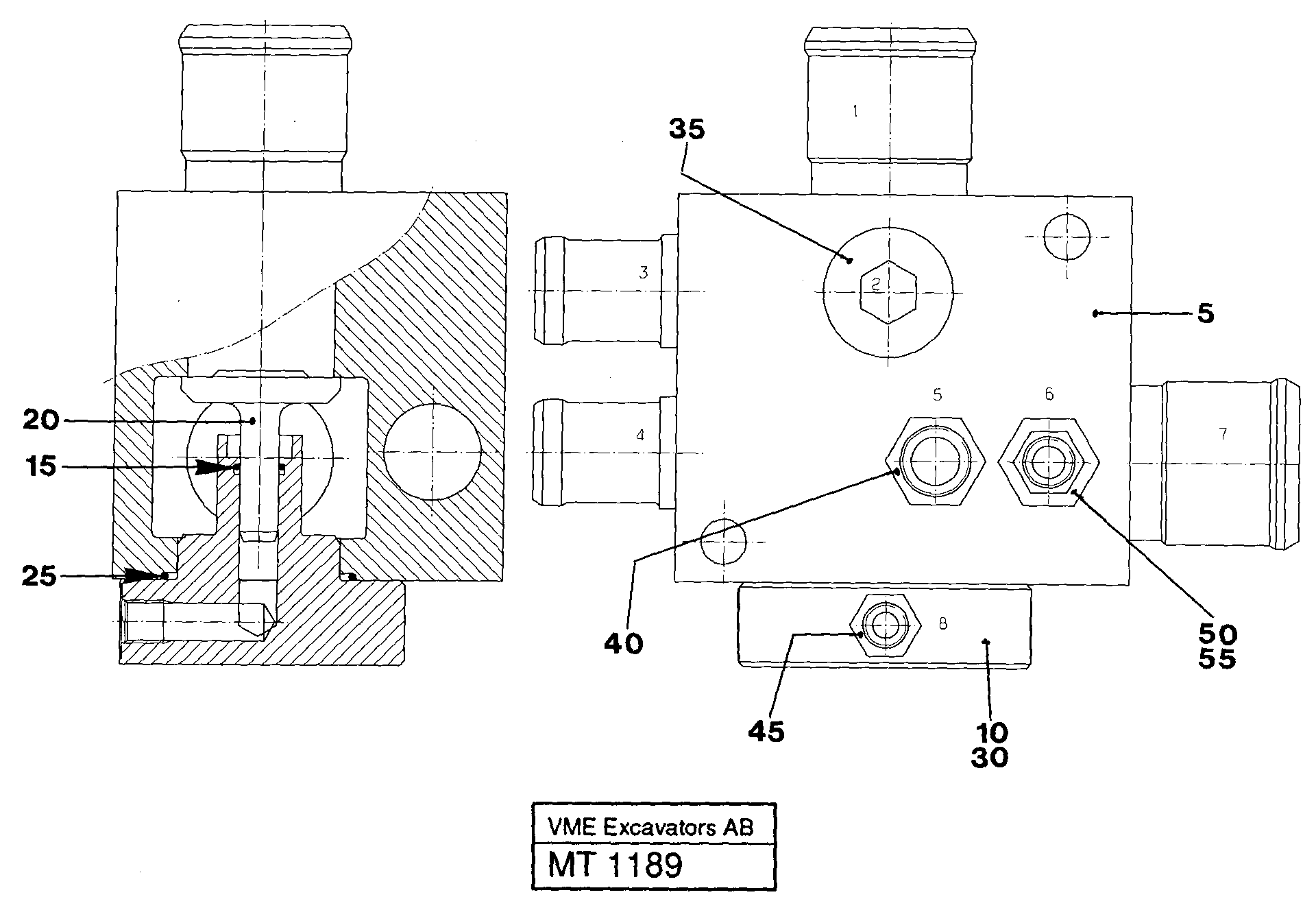
Запчасти Volvo EC230 ?KERMAN ?KERMAN EC230 SER NO - 4368 38159 Shunt with connections

Схема запчастей Volvo EC230 ?KERMAN ?KERMAN EC230 SER NO - 4368 - 38159 Shunt with connections
FIT
1:1
100%

Артикул

Название

Примечание

Количество

VOE 14255038

Shunt valve

1шт.

1

VOE 14254458

Картер (корпус)

1шт.

10

VOE 14012514

Rdc Bushing

1шт.

11

VOE 957030

Nipple

1шт.

11

VOE 957030

Nipple

1шт.

2

VOE 14252339

Cap

1шт.

3

VOE 13960162

Кольцо уплотнительное (О-кольцо)

1шт.

3

VOE 13960162

Кольцо уплотнительное (О-кольцо)

1шт.

4

VOE 14252338

Peg

1шт.

4

VOE 14252338

Peg

1шт.

5

VOE 925092

Кольцо уплотнительное (О-кольцо)

1шт.

5

VOE 925092

Кольцо уплотнительное (О-кольцо)

1шт.

6

VOE 959223

Allen Hd Screw

1шт.

7

VOE 14023411

Tube Plug

1шт.

8

VOE 14012423

14012423

1шт.

9

VOE 14012413

14012413

1шт.

Выбрано товаров: 16