Запчасти Volvo EC230 ?KERMAN ?KERMAN EC230 SER NO - 4368 38167 Leak oil filter

Схема запчастей Volvo EC230 ?KERMAN ?KERMAN EC230 SER NO - 4368 - 38167 Leak oil filter
FIT
1:1
100%

Артикул

Название

Примечание

Количество

VOE 14247577

Фильтр масляный

1шт.

VOE 14247577

Фильтр масляный

1шт.

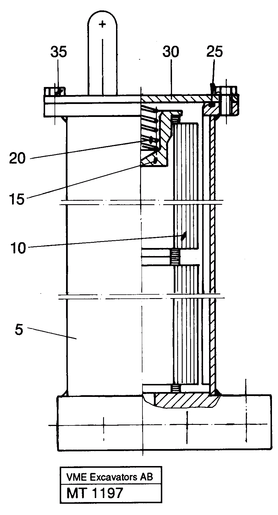
10

VOE 14012919

Фильтр топливный

1шт.

10

VOE 14012919

Фильтр топливный

1шт.

15

VOE 14041079

Guide

1шт.

15

VOE 14041079

Guide

1шт.

20

VOE 14044696

Compression spring

1шт.

20

VOE 14044696

Compression spring

1шт.

25

VOE 925261

Кольцо уплотнительное (О-кольцо)

1шт.

25

VOE 925261

Кольцо уплотнительное (О-кольцо)

1шт.

30

VOE 14043533

Cover

1шт.

30

VOE 14043533

Крышка

1шт.

35

VOE 13970944

Винт шестигранник

1шт.

35

VOE 13970944

Винт шестигранник

1шт.

5

VOE 14246019

Filter housing

1шт.

5

VOE 14246019

Filter housing

1шт.

Выбрано товаров: 16