Запчасти Volvo EC230 ?KERMAN ?KERMAN EC230 SER NO - 4368 106595 Four way valve, secondaryboom, dipper, bucket

Схема запчастей Volvo EC230 ?KERMAN ?KERMAN EC230 SER NO - 4368 - 106595 Four way valve, secondaryboom, dipper, bucket
FIT
1:1
100%

Артикул

Название

Примечание

Количество

VOE 14244463

Directional Valve

Bucket

1шт.

VOE 14237829

Directional valve

Dipper

1шт.

VOE 14244608

Directional valve

Boom

1шт.

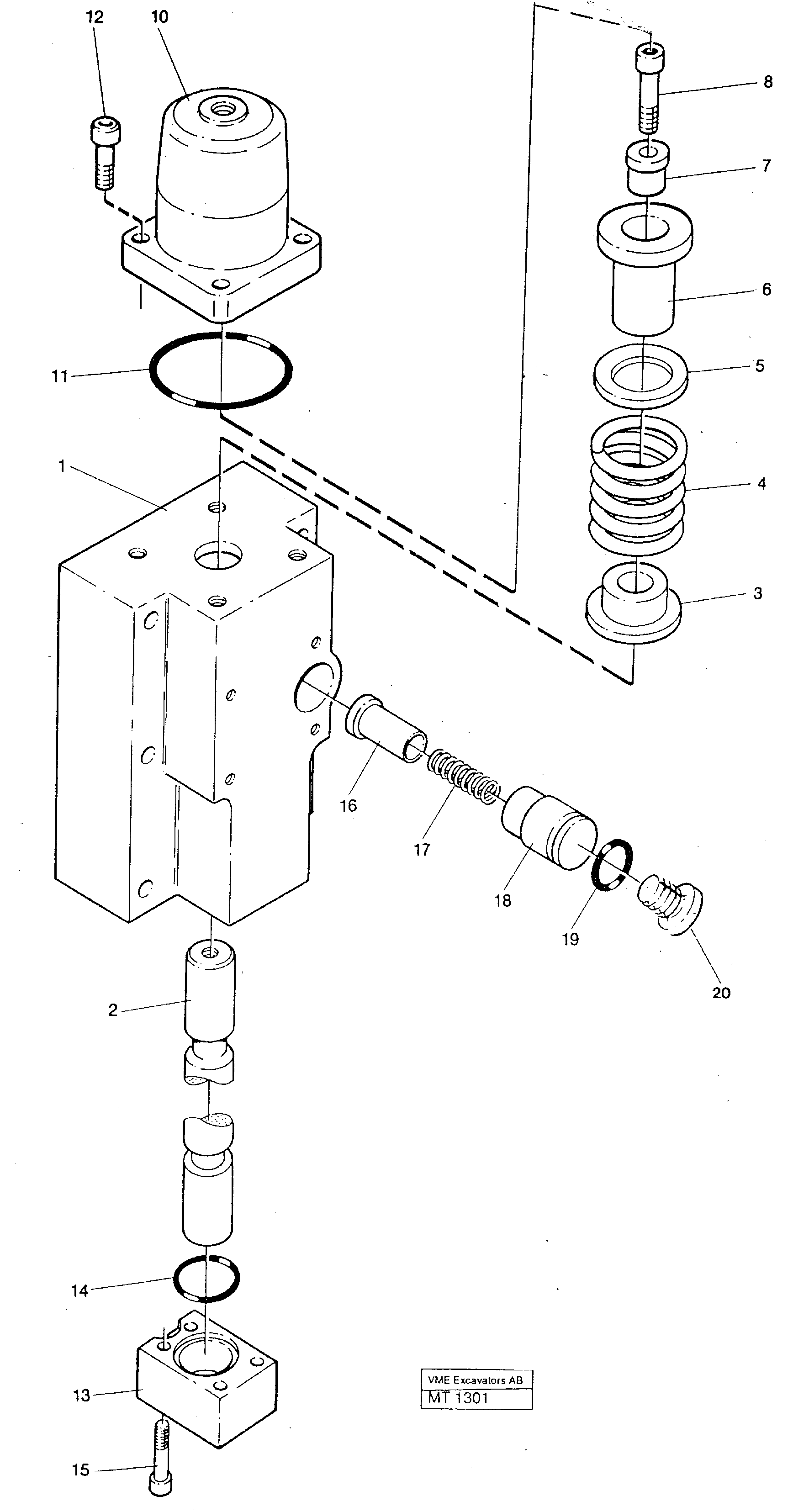
1

VOE 14048555

Крышка

1шт.

1

VOE 14244466

Valve housing

1шт.

1

VOE 14048689

Valve housing

1шт.

10

VOE 14048554

Крышка

1шт.

11

VOE 977016

Кольцо уплотнительное (О-кольцо)

1шт.

12

VOE 959223

Allen Hd Screw

1шт.

13

VOE 14048555

Крышка

1шт.

14

VOE 925063

Кольцо уплотнительное (О-кольцо)

1шт.

14

VOE 925063

Кольцо уплотнительное (О-кольцо)

1шт.

15

VOE 13941747

Болт

1шт.

15

VOE 13941747

Болт

1шт.

16

VOE 14048556

Valve peg

1шт.

17

VOE 14040429

Compression spring

1шт.

17

VOE 14040429

Compression spring

1шт.

18

VOE 14048558

Guide

1шт.

19

VOE 13960170

Кольцо уплотнительное (О-кольцо)

1шт.

19

VOE 13960170

Кольцо уплотнительное (О-кольцо)

1шт.

2

VOE 14240034

Slide

1шт.

2

VOE 14240035

Slide

1шт.

2

VOE 14240036

Slide

1шт.

3

VOE 14236506

Spring disc

1шт.

4

VOE 14048552

Compression spring

1шт.

5

VOE 14054632

Шайба

1шт.

6

VOE 14048551

Spring disc

1шт.

7

VOE 14048553

Вставка

1шт.

8

VOE 959241

Винт шестигранник (торцевой ключ)

1шт.

9

VOE 14024293

Locking fluid

1шт.

9

VOE 14024293

Locking fluid

1шт.

Выбрано товаров: 31